Плита Electrolux EKM 60350 X - инструкция пользователя по применению, эксплуатации и установке на русском языке. Мы надеемся, она поможет вам решить возникшие у вас вопросы при эксплуатации техники.
Если остались вопросы, задайте их в комментариях после инструкции.
"Загружаем инструкцию", означает, что нужно подождать пока файл загрузится и можно будет его читать онлайн. Некоторые инструкции очень большие и время их появления зависит от вашей скорости интернета.

54
electrolux
Регулирование показаний
времени суток:
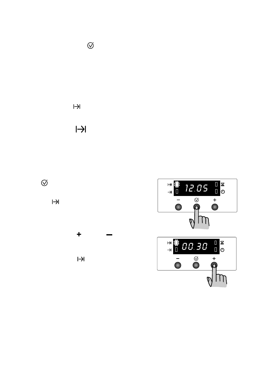
1.
Нажимайте кнопку
несколько
раз подряд, чтобы выбрать функцию
“Время суток”. Соответствующий
индикатор начнет мигать. Затем
действуйте, как описано выше.
Новую установку времени суток
можно произвести только в том
случае, если ни один из
автоматических режимов
( “ П р о д о л ж и т е л ь н о с т ь
приготовления”
или “Окончание
приготовления”) не был задан.
Режим “ Продолжительность
приготовления”
Данная функция обеспечивает
автоматическое выключение по
истечении запрограммированного
времени приготовления. Поместите
продукты в духовой шкаф, выберите
нужный режим духового шкафа и
отрегулируйте температуру
приготовления продукта. Нажмите
кнопку
несколько раз подряд, чтобы
выбрать режим “Продолжительность
приготовления”. Соответствующий
индикатор
начнет мигать. Затем
действуйте следующим образом:
Чтобы задать
продолжительность
приготовления продукта:
1.
Нажмите кнопку “ ” или же “
”.
2 .
После установки параметров
подождите 5 секунд: загорится
индикатор “Продолжительность
приготовления”
и дисплей
вернется в режим отображения
времени суток.
3 .
По истечении времени
приготовления продукта духовой
шкаф автоматически выключится,
сработает звуковой сигнал и начнет
мигать индикатор. Переведите
переключатель режимов духового
шкафа и регулятор термостата в
нулевое положение.
Для отключения звукового сигнала
нажмите любую кнопку.












