Плита Electrolux EKM 60350 X - инструкция пользователя по применению, эксплуатации и установке на русском языке. Мы надеемся, она поможет вам решить возникшие у вас вопросы при эксплуатации техники.
Если остались вопросы, задайте их в комментариях после инструкции.
"Загружаем инструкцию", означает, что нужно подождать пока файл загрузится и можно будет его читать онлайн. Некоторые инструкции очень большие и время их появления зависит от вашей скорости интернета.

14
electrolux
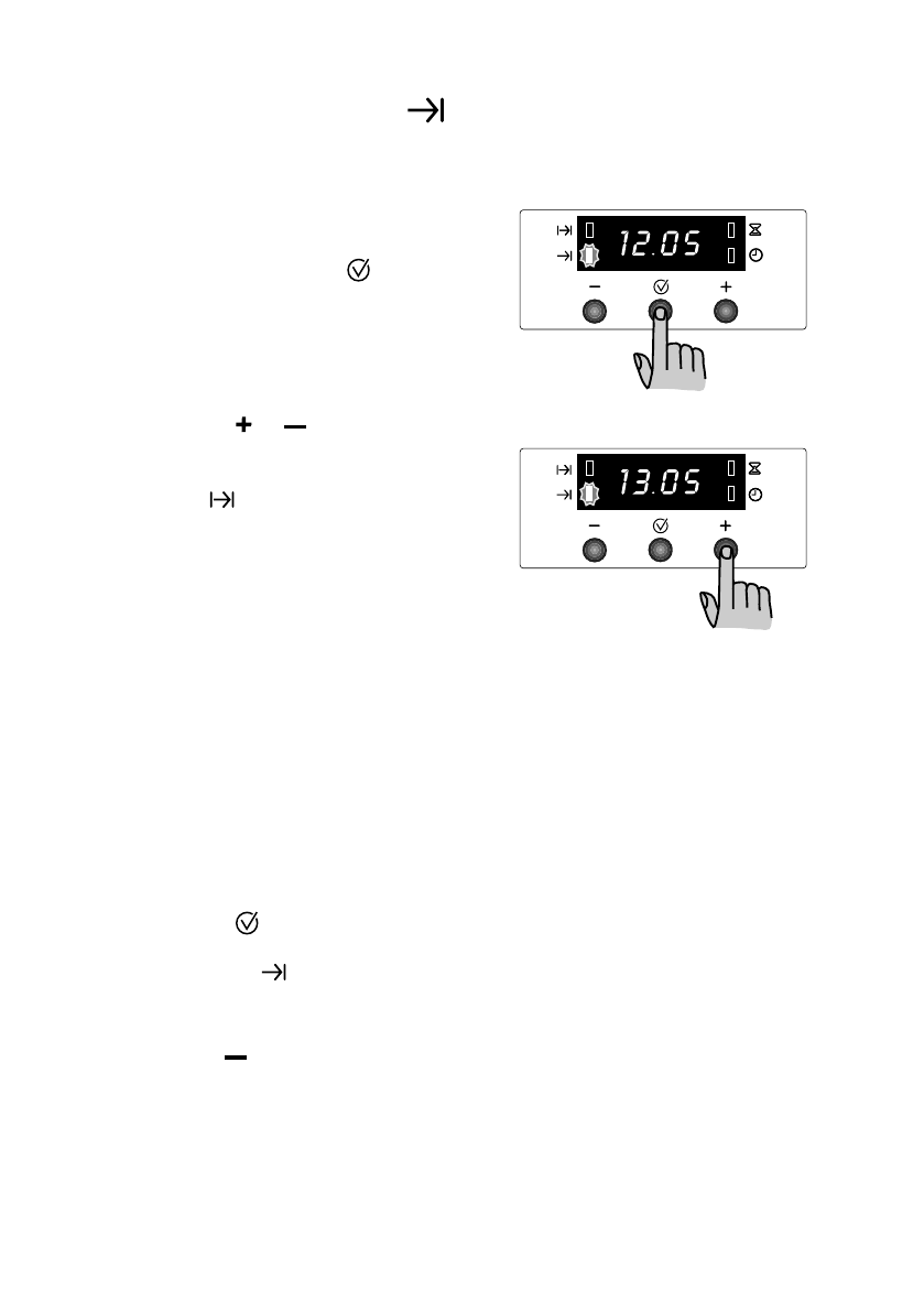
“End of cooking” function
With this function, you can set the
oven to switch off automatically when a
programmed end of cooking time is
over. Place food in the oven, select a
cooking function and adjust the cooking
temperature. Press button
repeat-
edly to select the “End of cooking”
function. The relevant pilot lamp will
start flashing. Then, proceed as follows:
To set the End of cooking time:
1.
Press button or .
2.
After the setting is carried out, wait
for 5 seconds: the “End of cooking”
pilot lamp
will come on and the
display will revert to the time of day.
3.
When cooking time is over, the oven
will be switched off automatically and
an acoustic alarm will be heard, and
the pilot lamp will start flashing. Turn
the oven function and the thermostat
control knob to zero.
To switch off the acoustic alarm,
press any button. NOTE: turning the
acoustic alarm off will reset the oven
to manual, and if the oven function
and the thermostat knobs are not set
to zero the oven will start to heat
again.
To cancel the End of cooking time:
1.
Press button
repeatedly to select
the “End of cooking” function. The rel-
evant pilot lamp
will flash and the
display will show the programmed end
of cooking time.
2.
Press button until the display shows
the current time of day. The program-
mer will beep and the pilot lamp will go
out.












