Плита Electrolux EKD 513503 X - инструкция пользователя по применению, эксплуатации и установке на русском языке. Мы надеемся, она поможет вам решить возникшие у вас вопросы при эксплуатации техники.
Если остались вопросы, задайте их в комментариях после инструкции.
"Загружаем инструкцию", означает, что нужно подождать пока файл загрузится и можно будет его читать онлайн. Некоторые инструкции очень большие и время их появления зависит от вашей скорости интернета.

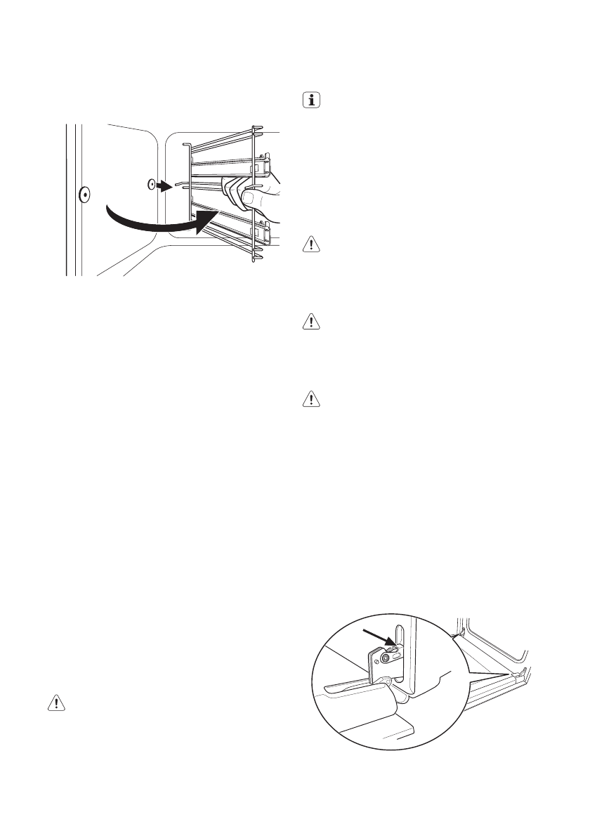
2.
Вытяните
заднюю
часть
направляю
-
щих
для
полок
из
боковой
стенки
и
извлеките
направляющие
из
шка
-
фа
.
2
1
Установка
направляющих
для
полок
Установка
направляющих
производится
в
обратном
порядке
.
ВАЖНО
!
Убедитесь
,
что
крепежные
штифты
на
телескопических
направляющих
повернуты
вперед
.
Стенки
с
каталитическим
покрытием
Стенки
с
каталитическим
покрытием
не
требуют
очистки
.
Они
поглощают
жир
,
который
собирается
на
стенках
во
вре
-
мя
работы
духового
шкафа
.
Для
поддержания
процесса
самоочистки
регулярно
нагревайте
духовой
шкаф
без
каких
-
либо
продуктов
.
1.
Откройте
дверцу
духового
шкафа
.
Лампа
освещения
духового
шкафа
включится
автоматически
.
2.
Извлеките
все
принадлежности
из
духового
шкафа
.
3.
Закройте
дверцу
.
4.
Установите
режим
духового
шкафа
.
5.
Установите
температуру
духового
шкафа
на
250°C
и
дайте
ему
пора
-
ботать
в
течение
1
часа
.
6.
Очистите
камеру
духового
шкафа
мягкой
и
влажной
губкой
.
ПРЕДУПРЕЖДЕНИЕ
!
Не
следует
чистить
поверхности
с
каталитическим
покрытием
с
помощью
аэрозолей
для
духовых
шкафов
,
абразивных
чистящих
средств
,
мыла
и
прочих
чистящих
средств
.
Это
может
повредить
каталитическое
покрытие
.
Изменение
цвета
каталитического
покрытия
не
влияет
на
его
свой
-
ства
.
Чистка
дверцы
духового
шкафа
В
дверце
духового
шкафа
имеются
два
стекла
,
установленные
одно
за
другим
.
Для
большего
удобства
чистки
снимите
дверцу
духового
шкафа
и
внутреннюю
стеклянную
панель
.
ВНИМАНИЕ
!
Дверца
духового
шкафа
может
захлопнуться
,
если
вы
попытаетесь
извлечь
внутреннюю
стеклянную
панель
,
предварительно
не
сняв
ее
.
ВНИМАНИЕ
!
Перед
тем
,
как
начинать
чистку
стеклянной
дверцы
,
убедитесь
,
что
стеклянные
панели
остыли
.
Существует
опасность
того
,
что
стекло
лопнет
.
ВНИМАНИЕ
!
Повреждения
стеклянной
панели
дверцы
или
царапины
на
ней
приводят
к
снижению
прочности
стекла
,
в
результате
чего
оно
может
лопнуть
.
Во
избежание
этого
их
следует
заменить
.
За
получением
дополнительных
указаний
обратитесь
в
местный
сервисный
центр
.
Снятие
дверцы
духового
шкафа
и
стеклянной
панели
1.
Откройте
дверцу
до
конца
и
возьми
-
тесь
за
обе
петли
.
electrolux
55