Пароварки Miele DGC 7440 X - инструкция пользователя по применению, эксплуатации и установке на русском языке. Мы надеемся, она поможет вам решить возникшие у вас вопросы при эксплуатации техники.
Если остались вопросы, задайте их в комментариях после инструкции.
"Загружаем инструкцию", означает, что нужно подождать пока файл загрузится и можно будет его читать онлайн. Некоторые инструкции очень большие и время их появления зависит от вашей скорости интернета.
Загружаем инструкцию

Обзор
20
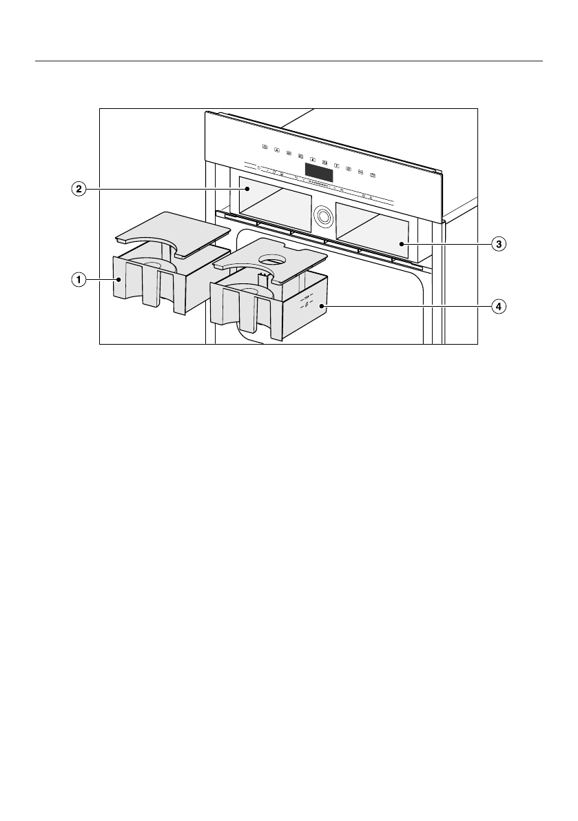
a
Контейнер для конденсата
b
Отсек для контейнера с конденсатом
c
Отсек для ёмкости с водой
d
Ёмкость для воды
Содержание
- 2 Содержание
- 3 Таймер
- 4 Важно знать
- 7 Указания по безопасности и предупреждения
- 8 Надлежащее использование
- 9 Если у Вас есть дети
- 10 При нажатии сенсорной кнопки
- 11 Техническая безопасность
- 13 Если пароварка встроена за мебельным фронтом (например,
- 14 Правильная эксплуатация; Опасность получения травм из-за горячего пара и горячих по-
- 17 Чистка и уход; Опасность получения травм вследствие поражения электри-; Принадлежности; Используйте исключительно оригинальные принадлежности
- 18 Ваш вклад в охрану окружающей среды; Утилизация прибора
- 19 Обзор; Пароварка
- 21 Типовая табличка; Универсальный противень
- 22 Элементы управления; ОК
- 23 «утоплена» и; Дисплей; появляется главное ме-; Сенсорные кнопки; Сенсорные кнопки над дисплеем
- 24 Сенсорные кнопки под дисплеем; OK
- 25 Сенсорная; Символы; На экране дисплея могут появиться следующие символы:
- 26 Принцип управления; Выбор пункта меню
- 27 Пролистывайте список выбора в; Подтвердите с помощью
- 28 Ввод чисел; Ввод букв; Активация MobileStart
- 29 Описание функций; Панель управления
- 30 Влажность; Режим; специальная программа; Время приготовления
- 31 Фаза нагрева; фаза нагрева может увели-; Фаза приготовления
- 32 Подсветка рабочей камеры; Если нажать кнопку
- 33 Ввод в эксплуатацию; Доступность соединения Wi-Fi
- 34 Основные установки; Установка языка; Установка даты
- 35 Установка жёсткости воды; Первая чистка пароварки; Опасность получения травм
- 36 только
- 37 Нагрев пароварки
- 38 Установки; Обзор установок; Пункт меню
- 40 Вызов меню «Установки»; Индикация
- 41 Формат времени; Установить; Дата; подсветка рабочей камеры сно-
- 42 Яркость; Громкость звука; Звуковые сигналы
- 43 Звук нажатия кнопок; Единицы измерения; Вес; Поддержание тепла
- 44 Функция отвода пара; Функция; Рекомендуемые температуры; Выберите нужный режим работы.
- 45 Жёсткость воды
- 47 Автоматическое промывание; Безопасность; Блокировка кнопок; Блокировка запуска
- 50 – Установленное обновление нельзя; Версия ПО
- 51 Заводские настройки
- 52 Установка времени таймера
- 53 Удаление времени таймера; Выберите
- 54 Главное меню и подменю; Меню
- 56 Советы по экономии электроэнергии; Процессы приготовления
- 57 зить расход электроэнергии.; Энергосберегающий режим
- 58 Управление прибором; лодную питьевую воду
- 59 Очистка пароварки
- 60 Изменение температуры
- 67 Crisp function; Включение Crisp function
- 68 Запуск паровых ударов; Как только на дисплее появится; на светлом фоне, можно
- 69 Посуда для приготовления; Контейнеры для приготовления
- 70 Уровень приготовления
- 71 Защита при вынимании
- 72 Приготовление на пару; Eco Приготовление на пару; . Этот режим подходит прежде
- 76 Рыба
- 77 Рекомендации
- 79 – Для сохранения
- 81 Соотношение
- 83 Макароны / изделия из теста; Сухие продукты; Свежие продукты
- 84 Клецки; Паровые кнедли из дрожжевого теста
- 85 Чечевицу; С замачиванием
- 86 Без замачивания
- 87 Мелкие
- 88 Колбасные изделия; Колбасные изделия
- 89 Подготовка
- 91 Приготовление блюд меню
- 92 Приготовление блюда меню
- 99 Повторный разогрев
- 100 Повторный разогрев в режиме Sous-vide
- 101 Специальные программы
- 103 Опасность заражения из-за
- 108 Значение
- 109 работанных
- 119 Бланширование; Консервирование; Банки
- 120 – Рекомендуется использовать оста-
- 122 Консервирование пирогов
- 123 Сушка
- 124 Подъём дрожжевого теста; Стерилизация посуды
- 125 Подогрев посуды
- 126 Расплавление желатина; Размягчите
- 127 Расплавление мёда; Расплавление шоколада
- 128 Приготовление йогурта; При использовании йогуртно-
- 129 Растапливание шпика; Шпик не подрумянивается.; Тушение лука
- 130 Получение сока
- 131 Фруктовый джем
- 132 Снятие кожицы с продукта
- 133 Консервирование яблок
- 134 Автоматические программы; Категории
- 135 Персональные программы
- 137 Изменение названия
- 138 Выпекание; Указания по выпеканию
- 139 Рекомендации по выпеканию; – Используйте для выпекания в; Указания по режимам работы
- 140 Следуйте указаниям на дисплее.
- 141 Запекание; Указания по запеканию
- 142 Не используйте режим; для запекания мяса, так
- 143 Гриль; пробы готовности
- 145 Тестовые блюда меню
- 147 Указания по чистке и уходу
- 149 Покрытие PerfectClean; PerfectClean
- 150 Рабочая камера; – конденсат с помощью губки или
- 151 Чистка дверного уплотнения
- 152 – лёгкие загрязнения с помощью
- 155 Замачивание
- 157 Снятие дверцы; Полностью откройте дверцу.
- 158 Установка дверцы
- 162 Измените температуру.
- 165 Открывание дверцы вручную
- 166 Дополнительно приобретаемые принадлежности
- 167 Сервисная служба; – в сервисные центры Miele.
- 168 Монтаж; Указания по безопасности при встраивании прибора
- 174 Установка пароварки
- 175 Подключение к электросети
- 176 Параметры подключения
- 178 Гарантия качества товара
- 180 Контактная информация о Miele
- 181 Заявление о соответствии товара
- 183 Факс
Характеристики
Остались вопросы?Не нашли свой ответ в руководстве или возникли другие проблемы? Задайте свой вопрос в форме ниже с подробным описанием вашей ситуации, чтобы другие люди и специалисты смогли дать на него ответ. Если вы знаете как решить проблему другого человека, пожалуйста, подскажите ему :)
Часто задаваемые вопросы
Как посмотреть инструкцию к Miele DGC 7440 X?
Необходимо подождать полной загрузки инструкции в сером окне на данной странице
Руководство на русском языке?
Все наши руководства представлены на русском языке или схематично, поэтому вы без труда сможете разобраться с вашей моделью
Как скопировать текст из PDF?
Чтобы скопировать текст со страницы инструкции воспользуйтесь вкладкой "HTML"