Обогреватели Timberk THC WS2 3M AERO - инструкция пользователя по применению, эксплуатации и установке на русском языке. Мы надеемся, она поможет вам решить возникшие у вас вопросы при эксплуатации техники.
Если остались вопросы, задайте их в комментариях после инструкции.
"Загружаем инструкцию", означает, что нужно подождать пока файл загрузится и можно будет его читать онлайн. Некоторые инструкции очень большие и время их появления зависит от вашей скорости интернета.

IM2020
18
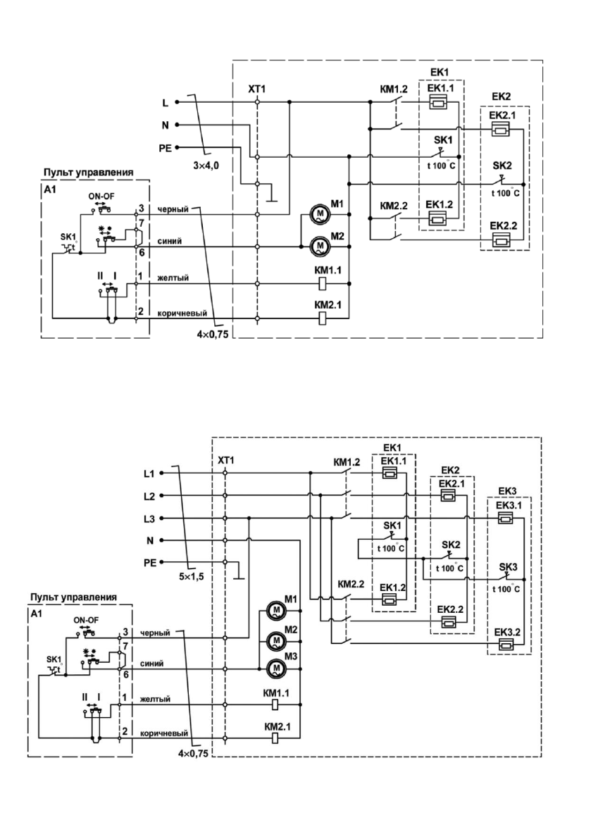
Модель THC WS2 6M AERO
Рисунок 12
A1
-
пульт управления;
EK1/EK2
-
нагревательные элементы;
KM1/KM2
-
магнитные пускатели;
М1/М2
-
электродвигатели вентилятора;
SK1/SK2
-
термоограничители;
XT1
-
клеммная колодка.
Модель THC WS2 9M AERO
Рисунок 13
Содержание
- 4 РАБОЧИЕ ХАРАКТЕРИСТИКИ
- 6 Принцип работы тепловой завесы; высококачественным полимерным покрытием.; КОМПЛЕКТ ПОСТАВКИ
- 8 Модель: THC WS2 5M AERO, THC WS2 6M AERO; отвернуть винт на пульте управления; Рисунок 4; жилы не менее 4 мм; Модель: THC WS2 9M AERO
- 9 ЭКСПЛУАТАЦИЯ ПРИБОРА
- 10 Ручка переключателя режимов работы; реальной панели управления; Выбор режима мощности нагрева
- 13 *Изображение приведено в качестве справочной; . Выбор режима мощности нагрева
- 18 Модель THC WS2 6M AERO; нагревательные элементы; Модель THC WS2 9M AERO