Мультиметры BENNING MM P3 044084 - инструкция пользователя по применению, эксплуатации и установке на русском языке. Мы надеемся, она поможет вам решить возникшие у вас вопросы при эксплуатации техники.
Если остались вопросы, задайте их в комментариях после инструкции.
"Загружаем инструкцию", означает, что нужно подождать пока файл загрузится и можно будет его читать онлайн. Некоторые инструкции очень большие и время их появления зависит от вашей скорости интернета.

02/ 2018
BENNING MM P3
97
H
karaktermérettel tizedesponttal. A legnagyobb kijelezhető számérték 5000.
5.1.2 A
polaritás jelzés automatikusan működik. Ha a polaritás a mérőveze
-
tékkel ellentétes a kijelzőn „ - ’’ jel jelenik meg.
5.1.3 A mérési határ túllépésekor ’’OL” vagy ”-OL’’ jelzés jelenik meg és hang-
jelzés hallható. Figyelem! Túlterhelés esetén nincs kijelzés vagy figyelmez-
tető hangjelzés!
5.1.4 Mérési érték tárolás “HOLD”
7
nyomógomb. Megnyomásakor a műszer el
-
tárolja az aktuális mérési értéket (a kijelzőn megjelenik az “HOLD” jelzés) A
nyomógomb újbóli megnyomásával a kikapcsolhatjuk a tárolás funkciót.
5.1.5 A „SELECT”
5
gomb választja ki a forgókapcsoló állásának második vagy
harmadik funkcióját.
Figyelem!
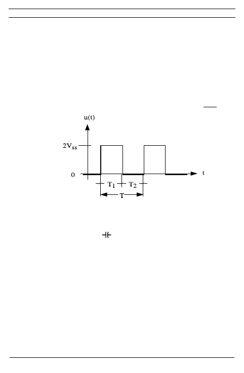
A „%” funkció írja le a periodikus jelek impulzusviszonyát: [%] = T
1
T
5.1.6 A “RANGE”
6
nyomógombbal a méréshatárt választhatjuk ki (a kijelzőről el
-
tűnik az “AUTO” jelzés. A nyomógomb hosszabb ideig (1 másodperc) történő
megnyomásával visszatérhetünk az automatikus méréshatár üzemmódba (a
kijelzőn megjelenik az “AUTO” jelzés).
Forgókapcsoló állásban (
) a „RANGE“ gombnak relatívérték-funkciója
van: „REL ∆“. A gomb megnyomásával a megjelenő mért érték mentésre
kerül, és a lementett mért érték valamint a következő mérési értékek kö
-
zötti különbség (offset) kerül kijelzésre. A „REL ∆“ relatívérték-funkció teszi
lehetővé a kapacitás-tartomány nullázását nem csatlakoztatott mérőveze
-
tékeknél. A gomb újbóli megnyomásával kapcsolhat vissza a normál üzem-
módba.
5.1.7 A BENNING MM P3 digitális kijelzője kb. 3 mérést jelez ki másodpercen
-
ként
5.1.8 A BENNING MM P3 mérőműszert a forgó kapcsolóval
7
lehet be és kikap-
csolni. A kikapcsolt állás az “OFF”.
5.1.9 A BENNING MM P3 kb. 30 perc után automatikusan kikapcsol (
APO
,
A
uto-
P
ower-
O
ff). Az automatikus kikapcsolás nem aktív, ha korábban a „RANGE”
gombot megnyomtuk.
5.1.10
A hőmérsékleti koefficiens: a mérési érték x 0,2 (az adott mérési pontosság/ C°,
< 18 C° vagy > 28 C°, a 23 C°-on megadott referencia értékre vonatkoztatva.
5.1.11 A BENNING MM P3.készüléket két darab elem 1,5 V LR 44 táplálja.