Микроволновые печи Samsung MG22M8074AT/BW - инструкция пользователя по применению, эксплуатации и установке на русском языке. Мы надеемся, она поможет вам решить возникшие у вас вопросы при эксплуатации техники.
Если остались вопросы, задайте их в комментариях после инструкции.
"Загружаем инструкцию", означает, что нужно подождать пока файл загрузится и можно будет его читать онлайн. Некоторые инструкции очень большие и время их появления зависит от вашей скорости интернета.

10
Українська
Догляд
Чищення
Чистьте піч регулярно, що уникнути накопичення бруду на поверхні або всередині печі. Звертайте увагу на
дверцята, ущільнювачі дверцят, скляну тарілку та роликову опору (лише для відповідних моделей).
Якщо дверцята не відкриваються чи не закриваються належним чином, спершу перевірте, чи не накопичився
бруд на ущільнювачі дверцят. Для чищення внутрішньої та зовнішньої поверхні печі використовуйте м’яку
ганчірку, змочену в мильній воді. Сполосніть і ретельно висушіть піч.
Видалення стійких забруднень із неприємним запахом усередині печі
1.
Поставте горнятко з розведеним лимонним соком посередині скляної тарілки порожньої печі.
2.
Нагрівайте піч 10 хвилин за максимального рівня потужності.
3.
Після завершення циклу зачекайте, поки піч охолоне. Тоді відчиніть дверцята і почистьте камеру печі.
Чищення внутрішньої поверхні моделей з обертовим нагрівальним елементом
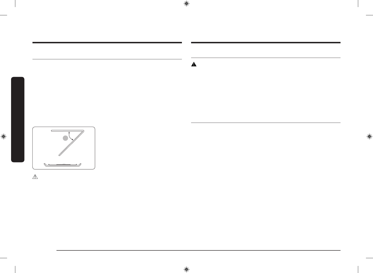
A
Щоб почистити верхню частину камери, опустіть верхній
нагрівальний елемент на 45°
(A)
, як показано на малюнку.
Так чистити верхню частину камери буде зручніше. Після
завершення чищення встановіть верхній нагрівальний
елемент на місце.
УВАГА
•
Підтримуйте дверцята і ущільнювач дверцят у чистоті і перевіряйте, чи належним чином відчиняються та
зачиняються дверцята. Інакше строк служби печі може бути коротшим.
•
Слідкуйте, щоб не пролити воду у вентиляційні отвори печі.
•
Не використовуйте для чищення печі абразивні або хімічні речовини.
•
Після кожного використання печі чистьте камеру м’яким миючим засобом, коли піч охолоне.
Заміна (ремонт)
ПОПЕРЕДЖЕННЯ
Ця піч не має внутрішніх частин, які може зняти користувач. Не намагайтеся замінити частину або
ремонтувати піч самотужки.
•
У разі виникнення проблем із завісами, ущільнювачем та/або дверцятами зверніться до кваліфікованого
техніка або в місцевий центр обслуговування Samsung щодо технічної підтримки.
•
З питань заміни лампочки звертайтеся до місцевого центру обслуговування Samsung. Не замінюйте її
самотужки.
•
У разі виникнення проблем із корпусом печі спершу від’єднайте кабель живлення від розетки, а тоді
зверніться в місцевий центр обслуговування Samsung.
Догляд за пристроєм у разі тривалого простою
Якщо ви не використовуватимете піч тривалий час, від’єднайте кабель живлення від розетки і перемістіть піч
у сухе, незапилене місце. Пил і волога, які накопичуються всередині печі, можуть негативно вплинути на її
роботу.
Догляд
MG22M8074AT_BW_DE68-04445L-01_UK.indd 10
2017-11-29 5:36:28
Содержание
- 3 ВАЖНЫЕ ИНСТРУКЦИИ ПО ТЕХНИКЕ БЕЗОПАСНОСТИ; ПРЕДУПРЕЖДЕНИЕ
- 5 . Когда микроволновая печь работает в комбинированном; . Внешние части устройства могут сильно нагреваться при; . Во избежание поражения электрическим током перед; . Устройство и его детали могут сильно нагреваться при; ВНИМАНИЕ; . В процессе приготовления устройство должно находиться под
- 6 Общие правила техники безопасности; Предупреждения по использованию микроволновой печи
- 7 Меры предосторожности при работе с микроволновой печью; Меры предосторожности при работе с микроволновыми приборами
- 8 Ограниченная гарантия
- 9 Принадлежности; Вращающийся поднос
- 10 Очистка; Удаление стойких загрязнений и неприятных запахов из печи; Уход в случае длительного неиспользования
- 11 Печь
- 12 Использование микроволновой печи; Принцип работы микроволновой печи; Проверка работы печи
- 13 Приготовление/Разогрев пищи
- 14 Уровни мощности и изменение времени приготовления
- 15 Остановка приготовления пищи; Настройка режима энергосбережения; Использование функций режима сенсорное приготовление
- 17 Использование функций режима русская кухня
- 30 Использование функций режима быстрая разморозка
- 31 Использование функции поддержание тепла; Рекомендации по выбору параметров в режиме поддержание тепла
- 32 Приготовление в режиме гриля
- 33 Использование функций режима +30сек гриль
- 34 Использование функции замок от детей; Отключение звукового сигнала
- 36 Микроволны; Кухонная посуда для микроволновой печи:
- 37 Руководство по приготовлению свежих овощей
- 38 Руководство по приготовлению риса и макаронных изделий; Разогрев; Размещение пищи и использование крышки
- 39 Разогрев жидкостей; Разогрев жидкостей и пищи
- 40 Разогрев детского питания и молока
- 41 Размораживание вручную
- 42 Гриль; Продукты, которые можно готовить в режиме гриля:
- 45 Полезные советы
- 48 Предостережения по установке; Информационный код
- 49 Технические характеристики
- 167 Pech
Характеристики
Остались вопросы?Не нашли свой ответ в руководстве или возникли другие проблемы? Задайте свой вопрос в форме ниже с подробным описанием вашей ситуации, чтобы другие люди и специалисты смогли дать на него ответ. Если вы знаете как решить проблему другого человека, пожалуйста, подскажите ему :)












