Магнитолы Pioneer DEH-200MP - инструкция пользователя по применению, эксплуатации и установке на русском языке. Мы надеемся, она поможет вам решить возникшие у вас вопросы при эксплуатации техники.
Если остались вопросы, задайте их в комментариях после инструкции.
"Загружаем инструкцию", означает, что нужно подождать пока файл загрузится и можно будет его читать онлайн. Некоторые инструкции очень большие и время их появления зависит от вашей скорости интернета.

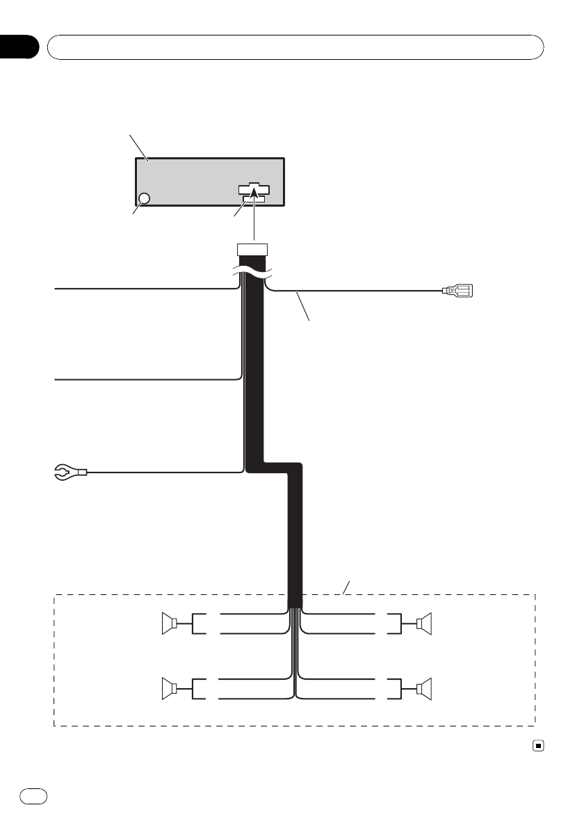
Схема подключения
Данное устройство
Разъем антенны
Плавкий
предохранитель
(10 A)
Синий/белый
Подключите к клемме панели управления
усилителя мощности или клемме реле
управления антенны с электроприводом
(макс. 300 мА 12 В постоянного тока).
Желтый
Подключите к клемме источника
постоянного тока 12 В.
Красный
Подключите к клемме, на которое
подается напряжение (12 В
постоянного тока) при включении
зажигания.
Черный (заземление на массу)
Подведите к чистой, очищенной от
краски металлической поверхности.
Левый
Правый
Белый/черный
Фиолетовый/
черный
Фиолетовый
В системах с 2 громкоговорителями не
подсоединяйте к другим устройствам кабели,
не подключенные к громкоговорителям.
Передний
громкоговоритель
Передний
громкоговоритель
Белый
Серый/черный
Серый
Зеленый/черный
Зеленый
Задний
громкоговоритель
Задний
громкоговоритель
Соединения
Ru
40
Раздел
03
Содержание
- 24 Сведения об этом устройстве; ВНИМАНИЕ; О формате
- 25 Посетите наш сайт; Снятие передней панели; DETACH
- 26 Установка передней панели; Переместите переднюю панель
- 27 Основное устройство; Жидкокристаллический дисплей; Управление данным устройством
- 28 Основные операции; AUX
- 29 Регулировка громкости; Тюнер; Прослушивание радиоприемника; FM; Настройка на мощные сигналы
- 30 Переключение режима; AF; Список
- 31 Выбор альтернативных частот; PI; PI SEEK; Включение автоматического поиска
- 32 Прием дорожных сводок; TP; Встроенный проигрыватель; Воспроизведение диска
- 33 Повторное воспроизведение; FUNCTION
- 34 Сканирование дорожек и папок; Использование компрессии и; BMX
- 35 CD TEXT
- 36 Использование эквалайзера; Регулировка нижних; Регулировка тонкомпенсации
- 37 Другие функции; Изменение начальных настроек; Установка шага настройки в
- 38 Настройка языка
- 39 Соединения
- 41 Переднее; Установка с помощью резиновой втулки; Демонтаж устройства; Установка
- 42 Если Вы не собираетесь снимать перед
- 43 Сообщения об ошибках
- 45 Пример иерархии
- 46 Технические характеристики