Магнитолы Hyundai Electronics H-CMD4050G - инструкция пользователя по применению, эксплуатации и установке на русском языке. Мы надеемся, она поможет вам решить возникшие у вас вопросы при эксплуатации техники.
Если остались вопросы, задайте их в комментариях после инструкции.
"Загружаем инструкцию", означает, что нужно подождать пока файл загрузится и можно будет его читать онлайн. Некоторые инструкции очень большие и время их появления зависит от вашей скорости интернета.

19
Operation
Color setting
When you enter color setting menu,
following interface will be displayed:
1
2
3
4
1. Parameter list. Touch a parameter to
select it. Saturation, brightness, contrast,
sharpness and hue are available for
adjustment.
2. Increase/decrease buttons. Touch to
increase or decrease the value.
3. Touch to reset your adjustment to default
values.
4. Touch to quit color setting.
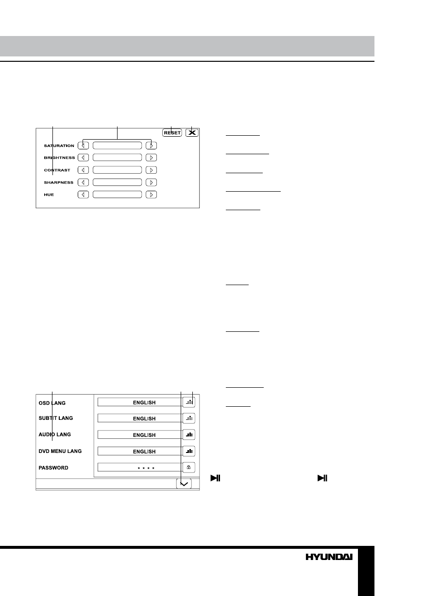
DVD setup
Press SETUP button on the RC to go to
DVD setup menu. Press cursor buttons on
the RC to select parameters and options for
adjustment, press ENTER button to confirm
your selection. You can also touch needed
items on the screen as follows:
1
2 3
1. Parameter list. Touch a parameter to
select it.
2. Touch to select 1 or 2 menu page.
3. Option list button. Touch to open option
list for corresponding parameter.
Following parameters are available for
adjustment:
• OSD lang: Select on-screen display
language.
• Subtitle lang: Select a DVD subtitle
language.
• Audio lang: select a language of the DVD
audio.
• DVD menu lang: Select a language of the
DVD menu.
• Password: In order to make the Rating
feature work, the password mode must be
turned on. If you want to set the ratings limit,
you will need to enter the default password,
which is 0000, then press ENTER to confirm.
To change the password, enter the Password
change submenu. If you change the password,
the default password 0000 will be void.
• Rating: The Rating control level is for
parents to control playing content and protect
your children from violence and erotic. The
disc, the level of which is higher than the
setting level can not be played.
• TV shape: Select 4:3/PS (the wide-screen
image shows on the full screen, but some
part is cut off), 4:3/LB (the wide-screen image
shows and black bars appear on the top and
bottom of screen), Wide (wide-screen image is
shown).
• NTSC/PAL: Select color system NTSC or
PAL.
• Default: Reset to the initial factory settings.
Play/pause
The unit will automatically play from the first
sound track recorded on a disc/SD/MMC/USB
device. To ensure good system performance,
wait until the unit finishes reading the disc/
device information before proceeding. Press
button on the RC or AS/PS/
button on
the panel to pause playback, press it again to
resume playback.
Содержание
- 25 Уважаемый покупатель!; Установка/Подключение
- 26 накопителя; Общая информация; Обращение с компакт-дисками
- 27 Утилизация изделия
- 28 • Убедитесь, что источник питания и
- 29 Установка; Установка устройства
- 30 Снятие устройства; Установка декоративной рамки
- 31 Операции со съемной панелью
- 32 Подключение; Таблица проводов ISO-коннектора; Номер; Разъем A
- 33 Использование разъема ISO; Для подключений без разъемов ISO; Подключение парковочного провода
- 34 Элементы управления
- 35 Пульт дистанционного управления
- 36 Основные операции
- 37 Отображение информации на
- 38 Настройка системы
- 39 Страница информации о системе; В данном меню Вам доступна информа-; Дополнительные функции; В Основном меню нажмите сенсорную
- 40 Калькулятор; Переключение диапазонов
- 42 Операции с ТВ-тюнером
- 43 Воспроизведение дисков/USB
- 44 Сенсорное управление DVD
- 45 JPEG
- 46 Воспроизведение/пауза
- 50 Руководство по устранению; Неисправность
- 51 Технические характеристики; Общие