Лодочные моторы Evinrude AA 10 2012 - инструкция пользователя по применению, эксплуатации и установке на русском языке. Мы надеемся, она поможет вам решить возникшие у вас вопросы при эксплуатации техники.
Если остались вопросы, задайте их в комментариях после инструкции.
"Загружаем инструкцию", означает, что нужно подождать пока файл загрузится и можно будет его читать онлайн. Некоторые инструкции очень большие и время их появления зависит от вашей скорости интернета.

47
ПЕРЕВОЗКА
НА
ТРЕЙЛЕРЕ
ПРЕДОСТЕРЕЖЕНИЕ
Не
допускается
нахождение
под
поднятым
подвесным
мотором
,
даже
если
он
установ
-
лен
на
удерживающий
упор
—
случайное
падение
может
привести
к
получению
се
-
рьёзных
травм
.
ПРЕДОСТЕРЕЖЕНИЕ
Прежде
чем
приступить
к
перевозке
под
-
весного
мотора
или
поставить
на
хранение
мотор
и
топливный
бак
,
заверните
винт
вен
-
тиляционного
отверстия
топливного
бака
и
топливный
кран
,
в
противном
случае
воз
-
можны
утечки
топлива
,
которые
могут
при
-
вести
к
возгоранию
.
ПРЕДОСТЕРЕЖЕНИЕ
При
извлечении
подвесного
мотора
из
упа
-
ковки
или
снятии
его
с
судна
никогда
не
освобождайте
рычаг
блокировки
меха
-
низма
подъёма
.
Если
рычаг
блокировки
освобождён
,
монтажный
кронштейн
будет
очень
легко
пружинить
в
направлении
подъ
-
ёма
,
потому
что
он
не
зафиксирован
.
ОСТОРОЖНО
При
перевозке
на
прицепе
подвесной
мотор
должен
находиться
в
вертикальном
поло
-
жении
(
рабочее
положение
) —
полностью
опущен
.
Перевозка
мотора
на
прицепе
в
под
-
нятом
положении
может
стать
причиной
по
-
вреждения
подвесного
мотора
,
судна
и
т
.
п
.
Если
перевозка
подвесного
мотора
на
при
-
цепе
в
вертикальном
положении
невозмож
-
на
(
вертикальный
стабилизатор
на
редук
-
торе
находится
слишком
близко
к
дороге
),
надёжно
зафиксируйте
подвесной
мотор
с
помощью
специального
приспособле
-
ния
(
например
,
специальной
перекладины
на
транце
)
в
поднятом
положении
.
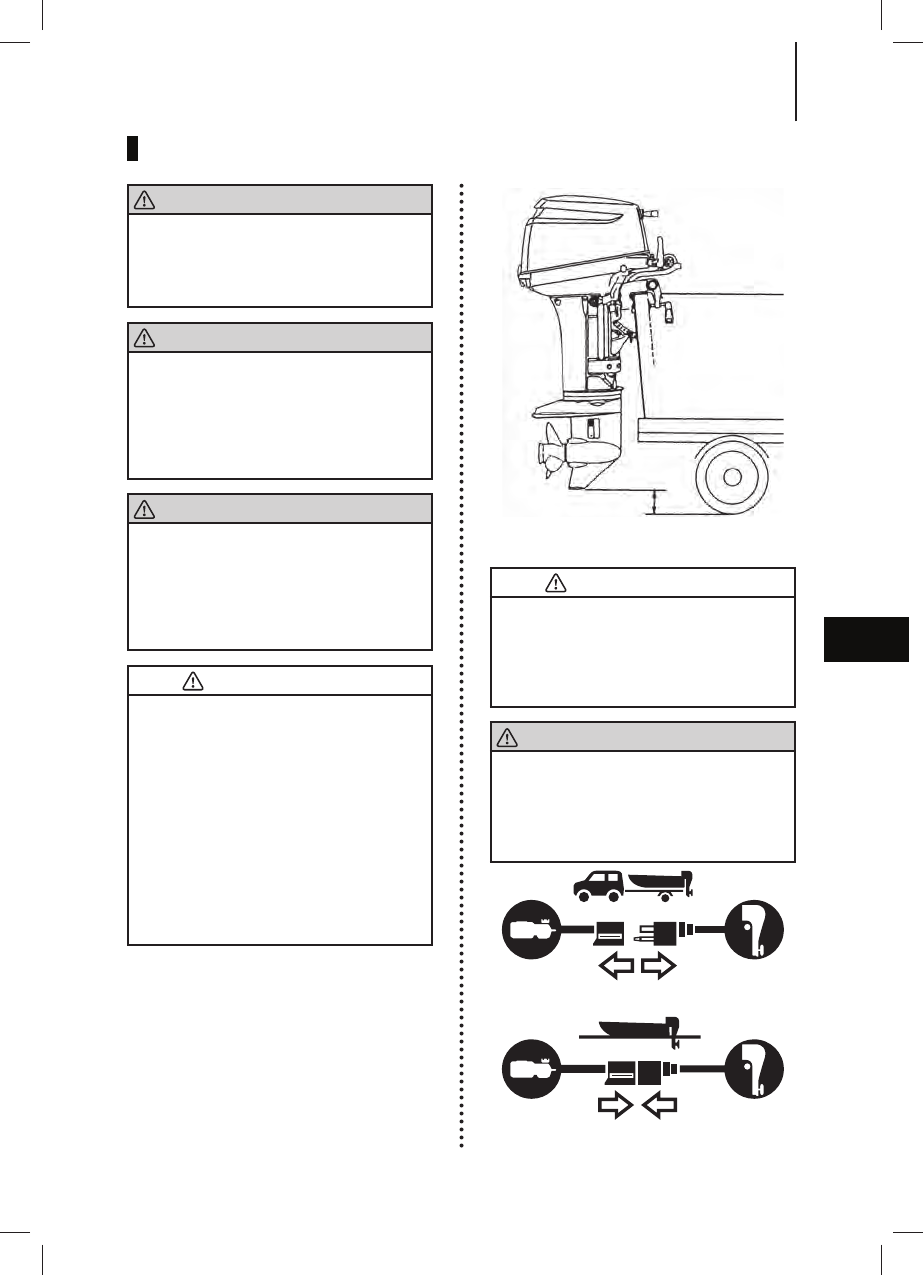
A
А: необходимо обеспечить достаточ-
ный дорожный просвет
ОСТОРОЖНО
Устройство
блокировки
в
поднятом
состоя
-
нии
,
которым
комплектуется
подвесной
мо
-
тор
,
не
предназначено
для
использования
во
время
перевозки
на
прицепе
.
Оно
пред
-
назначено
для
удерживания
мотора
во
вре
-
мя
причаливания
,
подхода
к
берегу
и
т
.
п
.
ПРЕДОСТЕРЕЖЕНИЕ
Пожалуйста
,
всегда
отсоединяйте
топли
-
вопровод
,
когда
мотор
не
эксплуатируется
.
Утечка
топлива
может
привести
к
возгора
-
нию
или
взрыву
,
что
,
в
свою
очередь
,
чре
-
вато
возможностью
получения
травм
и
ги
-
белью
.
8
`12 Evinrude 10.indb 47
`12 Evinrude 10.indb 47
03.06.2013 15:27:39
03.06.2013 15:27:39
Содержание
- 3 Evinrude; Ограниченные; BRP
- 5 ОГЛАВЛЕНИЕ
- 9 ОПАСНО
- 10 ПРЕДОСТЕРЕЖЕНИЕ
- 11 ПУНК Т; Evinrude Ultra 4-stroke oil
- 14 только модель P
- 15 Расположение; STOP; Только модели для США и Канады.; Значение
- 16 УСТАНОВКА; Установка; Центр транца; ОСТОРОЖНО
- 17 TE; Гайка
- 19 Тяга
- 20 Модель Е; Муфта
- 21 Модель P
- 23 Рекомендуемые; КАЧЕСТВО; СПИРТОСОДЕРЖАЩИЕ
- 24 Топливный
- 25 Рекомендуемое; ПОДГОТОВИТЕЛЬНЫЕ
- 26 Обкатка; мин
- 27 Сигнальная лампа
- 28 Перед; Заправка
- 31 Запуск; Клипс шнура безопасности; Модели; ЭКСПЛУАТАЦИЯ
- 32 Медленно Быстро
- 33 «ON»
- 35 ВЫБОР
- 36 TP
- 37 Остановка
- 38 OF F; Угол; Перпендикулярно
- 39 UP
- 40 Правильный; Шток
- 41 Упор; MANUAL
- 44 Поднят; Опускание; Блокировка снята
- 46 Эксплуатация
- 48 ный дорожный просвет
- 49 РЕГУЛИРОВКИ; Болт регулировки
- 51 Уход
- 52 Ежедневные
- 56 Момент; ⁄4–1⁄2
- 57 ATF Dexron III; «Manual»
- 58 КОНТРОЛЬНЫЕ
- 59 Температура воздуха
- 62 Межсезонное; Двигатель
- 68 Наименование
- 69 Тахометр
- 74 Проверка
- 79 Прежний адрес/предыдущий владелец