Сварочное оборудование Сварог MIG 250F «REAL» (N253) - инструкция пользователя по применению, эксплуатации и установке на русском языке. Мы надеемся, она поможет вам решить возникшие у вас вопросы при эксплуатации техники.
Если остались вопросы, задайте их в комментариях после инструкции.
"Загружаем инструкцию", означает, что нужно подождать пока файл загрузится и можно будет его читать онлайн. Некоторые инструкции очень большие и время их появления зависит от вашей скорости интернета.

14
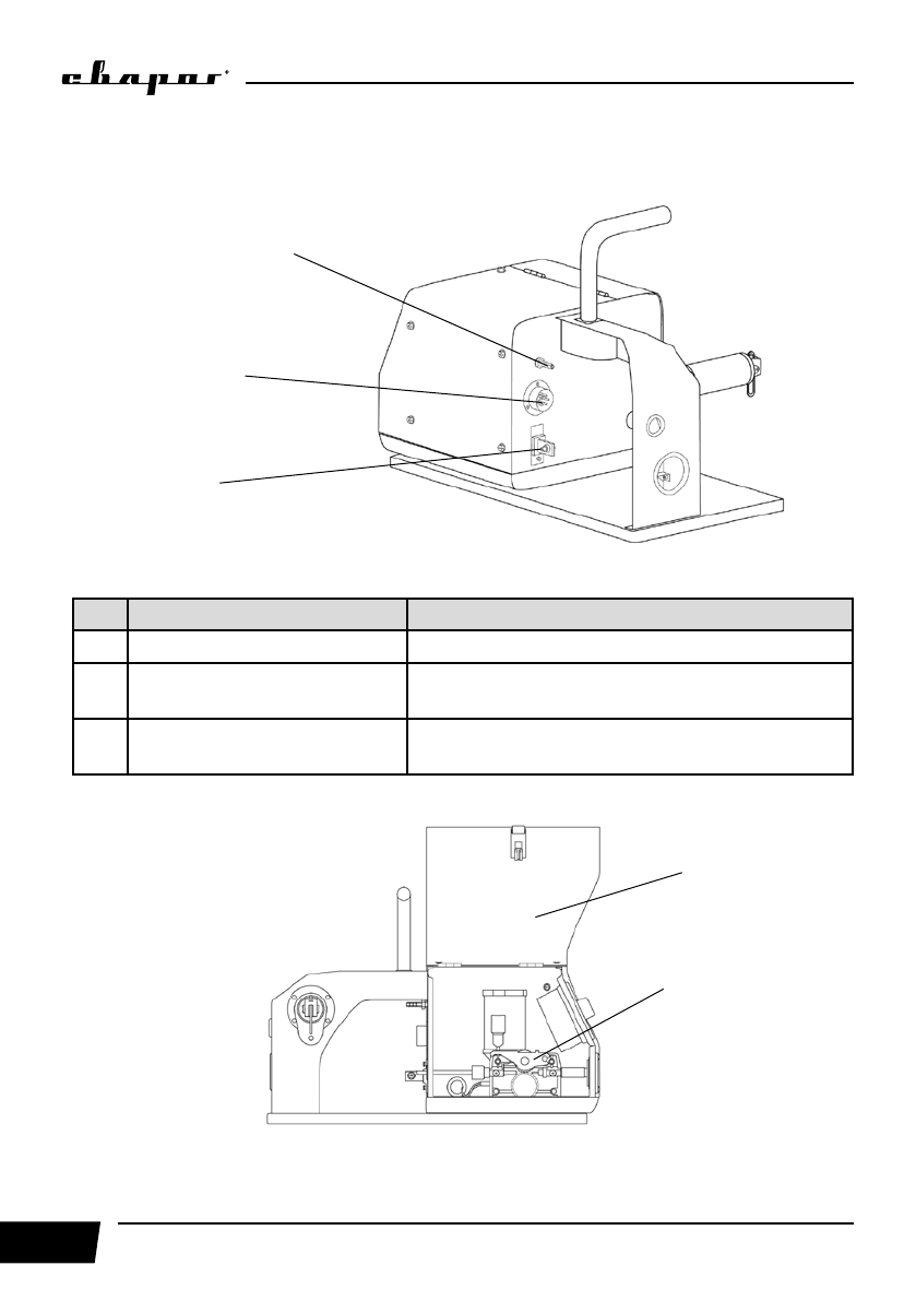
На рисунке 6.3 показан вид подающего устройства сзади.
Рис. 6.3. Вид подающего устройства сзади.
Поз.
Параметры
Описание
1 Разъём для подключения газа
Штуцер 8 мм.
2 Разъём подключения
Используется для подключения управления от
источника питания.
3 Силовой разъём
Используется для подключения источника
питания.
На рисунке 6.4 показан вид подающего устройства сбоку.
Рис. 6.4. Вид подающего устройства сбоку.
1) Дверца. 2) Механизм подачи сварочной проволоки.
1
2
3
1
2
Характеристики
Остались вопросы?Не нашли свой ответ в руководстве или возникли другие проблемы? Задайте свой вопрос в форме ниже с подробным описанием вашей ситуации, чтобы другие люди и специалисты смогли дать на него ответ. Если вы знаете как решить проблему другого человека, пожалуйста, подскажите ему :)