Строительные пылесосы Karcher 9.611-730.0 - инструкция пользователя по применению, эксплуатации и установке на русском языке. Мы надеемся, она поможет вам решить возникшие у вас вопросы при эксплуатации техники.
Если остались вопросы, задайте их в комментариях после инструкции.
"Загружаем инструкцию", означает, что нужно подождать пока файл загрузится и можно будет его читать онлайн. Некоторые инструкции очень большие и время их появления зависит от вашей скорости интернета.

– 10
몇
ΠΡΟΣΟΧΗ
Κίνδυνος
τραυματισμού
,
κίνδυνος
βλάβης
!
Λάβετε
υπό
-
ψη
τις
υποδείξεις
ασφαλείας
και
τις
οδηγίες
χρήσης
του
φορτιστή
.
Υπόδειξη
Οι
νέες
συστοιχίες
μπαταριών
είναι
μόνο
προφορτισμέ
-
νες
και
πρέπει
να
φορτιστούν
πλήρως
πριν
από
την
πρώτη
χρήση
.
Η
ένδειξη
ενεργοποιείται
κατά
την
πρώτη
φόρτιση
.
Για
να
λειτουργεί
σωστά
η
ένδειξη
φόρτισης
η
συστοιχία
μπαταριών
πρέπει
κατά
την
πρώτη
χρήση
να
αδειάσει
τελείως
μέχρι
που
να
απενεργοποιηθεί
η
συσκευή
.
Εικόνα
Συνδέστε τον μετασχηματιστή στην πρίζα.
Συνδέστε την μπαταρία στον προσαρμογέα του
φορτιστή.
Η διαδικασία φόρτισης αρχίζει αυτόματα.
Εικόνα
Στην ένδειξη της μπαταρίας εμφανίζεται η υπολει-
πόμενη διάρκεια φόρτισης.
Ο χρόνος φόρτισης με έναν κανονικό φορτιστή
(Battery Power BC 36 V) για άδεια συστοιχία μπα-
ταριών (Battery Power 36/25) ανέρχεται στις 5,5
ώρες.
Όταν η μπαταρία φορτιστεί πλήρως, η ένδειξη δεί-
χνει 100%.
Μετά τη φόρτιση αφαιρέστε τον προσαρμογέα από
τη συστοιχία μπαταριών.
Αποσυνδέστε τον μετασχηματιστή από την πρίζα.
Υπόδειξη
Αν
με
την
μπαταρία
στον
φορτιστή
η
ένδειξη
δεν
δείχνει
τίποτα
,
τότε
η
χωρητικότητα
της
μπαταρίας
έχει
εξαντλη
-
θεί
ή
είναι
πολύ
μικρή
.
Μόλις
η
μπαταρία
φορτιστεί
αρ
-
κετά
,
η
ένδειξη
δείχνει
τον
υπολειπόμενο
χρόνο
φόρτι
-
σης
.
Εάν
η
ένδειξη
παραμείνει
κενή
και
μετά
από
αρκετό
διάστημα
τότε
η
μπαταρία
είναι
χαλασμένη
και
πρέ
-
πει
να
αντικατασταθεί
.
Υπόδειξη
Οι
νέες
συστοιχίες
μπαταριών
αποκτούν
την
μέγιστη
ισχύ
τους
έπειτα
από
5
κύκλους
φόρτισης
και
εκφόρτισης
.
Πριν
από
τη
χρήση
,
φορτίστε
ξανά
τις
συστοιχίες
μπατα
-
ριών
που
έμειναν
σε
αχρησία
για
μεγάλο
διάστημα
.
Η
ισχύς
της
συστοιχίας
μπαταριών
μειώνεται
σε
θερμο
-
κρασίες
κάτω
των
0 °C.
Κατά
την
αποθήκευση
μιας
συστοιχίας
μπαταριών
σε
θερμοκρασίες
άνω
των
20 °C
για
μεγάλο
χρονικό
διά
-
στημα
,
μπορεί
να
μειωθεί
σημαντικά
η
χωρητικότητά
της
.
Υπόδειξη
Η
φορτισμένη
συστοιχία
μπαταριών
μπορεί
να
παραμεί
-
νει
στον
φορτιστή
,
ώσπου
να
χρησιμοποιηθεί
.
Δεν
υφί
-
σταται
κίνδυνος
υπερφόρτισης
.
Ωστόσο
,
για
να
αποφύγετε
την
περιττή
κατανάλωση
ενέργειας
,
ο
φορτιστής
πρέπει
να
αποσυνδεθεί
αμέσως
από
το
ρεύμα
,
μόλις
φορτιστεί
πλήρως
η
συστοιχία
μπα
-
ταριών
.
Η συστοιχία μπαταριών είναι εξοπλισμένη με μια
ένδειξη που δίνει συνεχώς πληροφορίες σχετικά με
την κατάσταση και την εξέλιξη της φόρτισης καθώς
και με τον υπολειπόμενο χρόνο λειτουργίας. Επί-
σης εμφανίζονται τυχόν μηνύματα σφάλματος.
Η προσαρμογή της διάρκειας ζωής επιτυγχάνεται
με την μεταγωγή της ηλεκτρικής ισχύος.
Ανάλογα με τη χρησιμοποιούμενη συσκευή η ένδει-
ξη στρέφεται κατά την τοποθέτηση της συστοιχίας
μπαταριών.
몇
ΠΡΟΣΟΧΗ
Κίνδυνος
τραυματισμού
και
βλάβης
!
Για
τη
χρήση
λάβε
-
τε
υπόψη
τις
υποδείξεις
ασφαλείας
και
τις
οδηγίες
χρή
-
σης
της
χρησιμοποιούμενης
συσκευής
.
Σπρώξτε τη συστοιχία μπαταριών στην υποδοχή
της συσκευής.
몇
ΠΡΟΣΟΧΗ
Κίνδυνος
τραυματισμού
και
βλάβης
!
Φροντίστε
να
κλει
-
δώσει
σωστά
η
συστοιχία
μπαταριών
.
Υπόδειξη
Κατά
τη
διάρκεια
της
χρήσης
η
ένδειξη
δείχνει
τον
υπο
-
λειπόμενο
χρόνο
λειτουργίας
.
Μετά την εργασία αφαιρέστε τη συστοιχία μπαταρι-
ών από τη συσκευή.
Μετά την εργασία φορτίστε τη συστοιχία μπαταριών.
Υπόδειξη
Μετά
την
χρήση
φορτίστε
επίσης
μια
μερικώς
εκφορτι
-
σμένη
συστοιχία
μπαταριών
.
Φόρτιση
Χρήση συστοιχίας μπαταριών
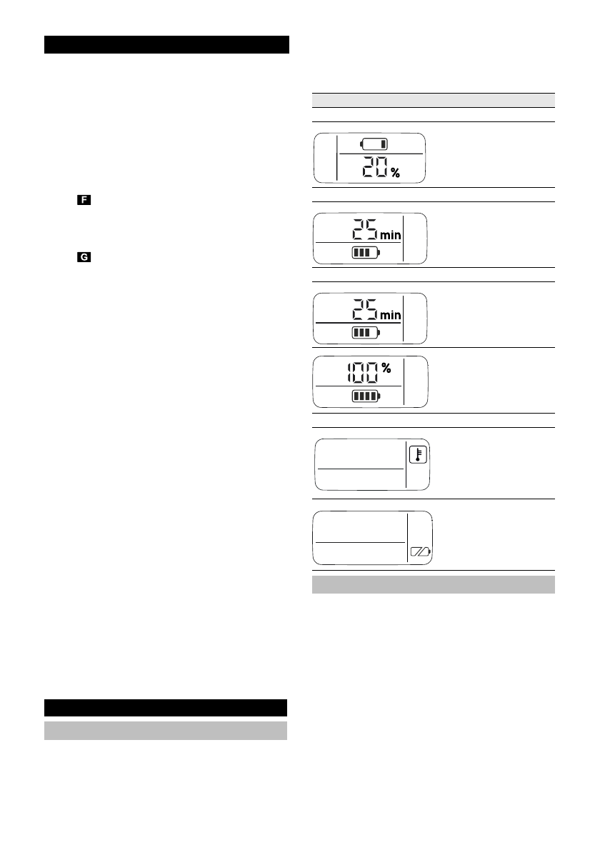
Οθόνη
Ένδειξη
Σημασία
Αποθήκευση μπαταρίας
Κατάσταση φόρτισης
της μπαταρίας όσο δεν
χρησιμοποιείται.
Χρήση μπαταρίας
Υπολειπόμενος χρόνος
λειτουργίας της μπαταρί-
ας κατά τη χρήση.
Φόρτιση μπαταρίας
Υπολειπόμενος χρόνος
φόρτισης της μπαταρίας
κατά τη φόρτιση.
Πλήρως φορτισμένη
μπαταρία.
Ένδειξη σφάλματος
Θερμοκρασία μπαταρίας
εκτός των επιτρεπτών
ορίων ή φραγή λόγω
βραχυκυκλώματος (βλ.
Βοήθεια σε περίπτωση
βλάβης).
Χαλασμένη μπαταρία
και κλειδωμένη για λό-
γους ασφαλείας. Μην
χρησιμοποιείτε άλλο την
μπαταρία και παραδώ-
στε την για ανακύκλωση.
Λειτουργία
109
EL
Содержание
- 123 Комплект поставки; Указания по технике
- 124 Прочие опасности
- 125 Коэффициент
- 126 Указания по аккумуляторному блоку; Аккумуляторные блоки 36 V Battery Power
- 127 Транспортировка; Защитные устройства; Схема защиты; Элементы управления; Аккумуляторный блок; Процесс зарядки
- 128 Управление аккумуляторным блоком; Дисплей; Хранение
- 129 Транспортировка и хранение; Техническое обслуживание; Помощь в случае неполадок
- 130 Монтаж
- 132 Технические данные
Характеристики
Остались вопросы?Не нашли свой ответ в руководстве или возникли другие проблемы? Задайте свой вопрос в форме ниже с подробным описанием вашей ситуации, чтобы другие люди и специалисты смогли дать на него ответ. Если вы знаете как решить проблему другого человека, пожалуйста, подскажите ему :)












