Посудомоечные машины Kuppersberg GLM 4537 - инструкция пользователя по применению, эксплуатации и установке на русском языке. Мы надеемся, она поможет вам решить возникшие у вас вопросы при эксплуатации техники.
Если остались вопросы, задайте их в комментариях после инструкции.
"Загружаем инструкцию", означает, что нужно подождать пока файл загрузится и можно будет его читать онлайн. Некоторые инструкции очень большие и время их появления зависит от вашей скорости интернета.

66
TECHNICAL PASSPORT
ENGLISH
Dishwasher
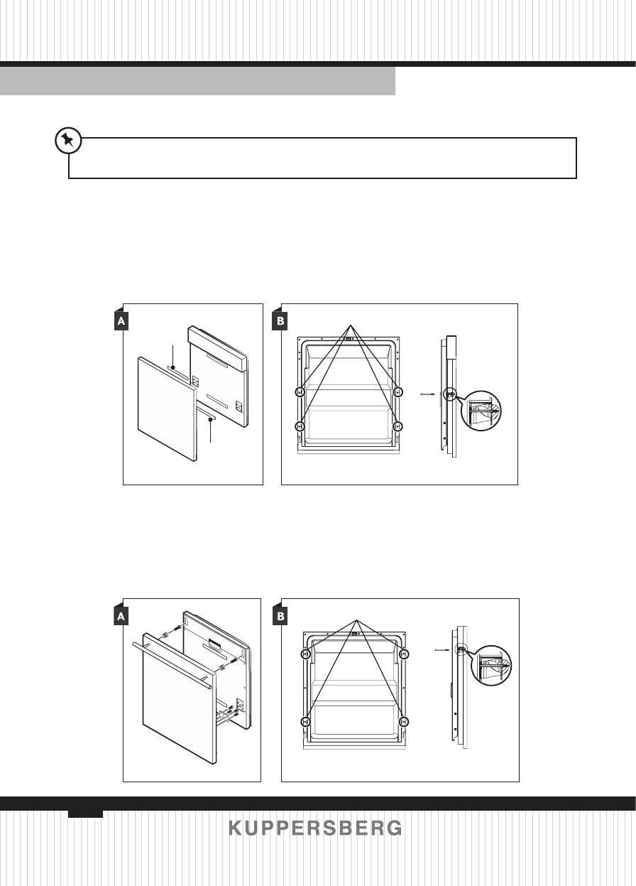
Semi-integrated model
Seperate velcro stripe A and velcro
stripe B and attach velcro stripe A on
the inner side of the aesthetic panel.
Attach the felted velcro stripe B on the
outer door of dishwasher (see figure A).
After positioning of the panel , fix the
panel onto the outer door by screws and
bolts (See figure B).
2. Pin up the four long screws
Step 2. Aesthetic panel’s dimensions and installation
The aesthetic wooden panel could be processed according to the
installation drawings.
Fully-integrated model
(see figure A). After positioning of the
panel , fix the panel onto the outer door
by screws and bolts (See figure B).
Install the hook on the aesthetic
wooden panel and put the hook into
the slot of the outer door of dishwasher
1. Take away the four short screws
2. Pin up the four long screws
1. Take away the four short screws
Velcro
stripe
Velcro
stripe
Содержание
- 94 И Н Ф О Р М А Ц И Я; ПРЕДУПРЕЖДЕНИE
- 95 И Н С Т Р У К Ц И Я; Во время загрузки посуды:
- 97 У Т И Л И З А Ц И Я
- 98 О П И СА Н И Е П Р И Б О РА; тивность при использовании данного прибора.
- 99 И С П О Л Ь З О В А Н И Е П О СУ Д О М О Е Ч Н О Й М А Ш И Н Ы; ПРЕДУПРЕЖДЕНИЕ
- 101 Выдвините верхнюю корзину.
- 102 Складывание полок для чашек
- 103 Т Е Х Н И Ч Е С КО Е О Б С Л УЖ И В А Н И Е И Ч И С Т К А; Дверь и уплотнение двери; У Х О Д З А В Н У Т Р Е Н Н И М И; Система фильтрации
- 105 РАС П Ы Л И Т Е Л Ь Н Ы Е КО Р О М Ы С Л А
- 106 У Х О Д З А П О СУ Д О М О Е Ч Н О Й М А Ш И Н О Й
- 108 П О Д АЧ А В О Д Ы И С Л И В
- 109 Подсоединение сливных
- 110 РА З М Е Щ Е Н И Е П Р И Б О РА
- 111 Встраивание прибора (для встраиваемых моделей); ПРИМЕЧАНИЯ
- 112 Полувстраиваемая модель; Шаг 2. Размеры и порядок установки декоративной панели
- 113 Шаг 3. Регулировка натяжения пружины двери
- 114 Шаг 5. Выравнивание посудомоечной машины
- 115 быть устранены самостоятельно.; Нарушение
- 118 З А Г Р У З К А П О СУ Д Ы В КО Р З И Н Ы В СО ОТ В Е ТС Т В И И
- 119 Вместимость: 10 комплектов посуды
- 120 Ч АС Т Ь I I: О СО Б Ы Е У К А З А Н И Я
- 121 К РАТ КО Е Р У КО В О Д С Т В О П О Л Ь З О В АТ Е Л Я
- 124 УС Т Р О Й С Т В О У М Я Г Ч Е Н И Я В О Д Ы
- 127 ПРИМЕЧАНИЕ; Извлечение посуды
- 129 И С П О Л Ь З О В А Н И Е О П О Л АС К И В АТ Е Л Я И М О Ю Щ Е Г О
- 130 З А П О Л Н Е Н И Е Е М КО С Т И О П О Л АС К И В АТ Е Л Я
- 131 З А П О Л Н Е Н И Е Д О З АТО РА М О Ю Щ Е Г О С Р Е Д С Т В А
- 132 П Р О Г РА М М И Р О В А Н И Е П О СУ Д О М О Е Ч Н О Й М А Ш И Н Ы; информация о программах.
- 133 З А П УС К Ц И К Л А М Ы Т Ь Я; Добавьте моющее средство.
- 134 И З М Е Н Е Н И Е З А П У Щ Е Н Н О Й П Р О Г РА М М Ы; переключится в режим выбора программы.; Д О Б А В Л Е Н И Е Д О П О Л Н И Т Е Л Ь Н О Й П О СУ Д Ы; занные ниже действия:; ПРЕДУПРЕЖДЕНИЕ!
- 135 КО Д Ы Н Е И С П РА В Н О С Т Е Й/С Б О Е В
- 136 Т Е Х Н И Ч Е С К А Я И Н Ф О Р М А Ц И Я
- 137 Т Е Х Н И Ч Е С К И Е Х А РА КТ Е Р И С Т И К И
- 138 Эм энд Джи Хаусгерате ГмбХ; Фирма-производитель оставляет за собой право на внесение; С Е Р И Й Н Ы Й Н О М Е Р:
- 141 ГАРАНТИЙНЫЙ СЕРТИФИКАТ
Характеристики
Остались вопросы?Не нашли свой ответ в руководстве или возникли другие проблемы? Задайте свой вопрос в форме ниже с подробным описанием вашей ситуации, чтобы другие люди и специалисты смогли дать на него ответ. Если вы знаете как решить проблему другого человека, пожалуйста, подскажите ему :)














Добрый день. Подскажите, пожалуйста, почему при полном откручивании винтов натяжения пружины двери, дверь не остается в горизонтальном положении и закрывается. Машинка встраиваемая, но без фасада. Как надо устранить эту проблему?