Плита Smeg SUK91MFX9 - инструкция пользователя по применению, эксплуатации и установке на русском языке. Мы надеемся, она поможет вам решить возникшие у вас вопросы при эксплуатации техники.
Если остались вопросы, задайте их в комментариях после инструкции.
"Загружаем инструкцию", означает, что нужно подождать пока файл загрузится и можно будет его читать онлайн. Некоторые инструкции очень большие и время их появления зависит от вашей скорости интернета.

Installation
104
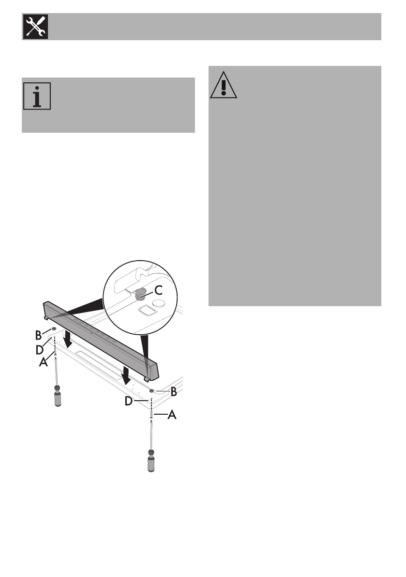
Assembling the upstand (on some models
only)
The upstand must always be positioned and
secured correctly on the appliance.
1. Unscrew the 2 nuts
B
on the back of the
worktop.
2. Position the upstand above the worktop,
taking care to align the pins
C
with the
holes
D
.
3. Secure the upstand to the worktop by
tightening the screws
A
.
5.4 Electrical connection
General information
Check the grid characteristics against the
data indicated on the plate.
The identification plate bearing the
technical data, serial number and brand
name is visibly positioned on the appliance.
Do not remove this plate for any reason.
Perform the ground connection using a wire
that is 20 mm longer than the other wires.
The upstand provided is an
integral part of the product. It must
be fastened to the appliance prior
to installation.
Power voltage
Danger of electrocution
• Have the electrical connection
performed by authorised technical
personnel.
• Use personal protective equipment.
• The appliance must be connected to
earth in compliance with electrical
system safety standards.
• Disconnect the mains supply.
• Do not pull the cable to remove the
plug.
• Use cables withstanding a temperature
of at least 90 °C.
• The tightening torque of the screws of
the terminal board conductors must be
1.5 - 2 Nm.
Характеристики
Остались вопросы?Не нашли свой ответ в руководстве или возникли другие проблемы? Задайте свой вопрос в форме ниже с подробным описанием вашей ситуации, чтобы другие люди и специалисты смогли дать на него ответ. Если вы знаете как решить проблему другого человека, пожалуйста, подскажите ему :)