Пароварки Miele DGC 7465 - инструкция пользователя по применению, эксплуатации и установке на русском языке. Мы надеемся, она поможет вам решить возникшие у вас вопросы при эксплуатации техники.
Если остались вопросы, задайте их в комментариях после инструкции.
"Загружаем инструкцию", означает, что нужно подождать пока файл загрузится и можно будет его читать онлайн. Некоторые инструкции очень большие и время их появления зависит от вашей скорости интернета.

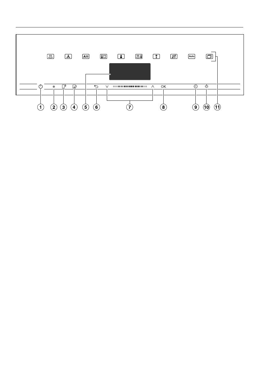
Bedienelemente
21
a
Taste Ein/Aus
in Vertiefung
Zum Ein- und Ausschalten des
Dampfbackofens
b
Optische Schnittstelle
(nur für den Miele Kundendienst)
c
Sensortaste
Zum Steuern des Dampfbackofens
über Ihr mobiles Endgerät
d
Sensortaste
Zum Öffnen und Schließen der Blen-
de
e
Display
Zur Anzeige der Tageszeit und von
Informationen zur Bedienung
f
Sensortaste
Zum schrittweisen Zurückspringen
und zum Ändern von Menüpunkten
während eines Garvorgangs
g
Navigationsbereich mit Pfeiltasten
und
Zum Blättern in den Auswahllisten
und zum Ändern von Werten
h
Sensortaste
OK
Zum Aufrufen von Funktionen und
zum Speichern von Einstellungen
i
Sensortaste
Zum Einstellen einer Kurzzeit, einer
Garzeit oder einer Start- oder End-
zeit für den Garvorgang
j
Sensortaste
Zum Ein- und Ausschalten der Gar-
raumbeleuchtung
k
Sensortasten
Zum Auswählen von Betriebsarten,
Automatikprogrammen und Einstel-
lungen
Характеристики
Остались вопросы?Не нашли свой ответ в руководстве или возникли другие проблемы? Задайте свой вопрос в форме ниже с подробным описанием вашей ситуации, чтобы другие люди и специалисты смогли дать на него ответ. Если вы знаете как решить проблему другого человека, пожалуйста, подскажите ему :)