Магнитолы Alpine INA-W910R - инструкция пользователя по применению, эксплуатации и установке на русском языке. Мы надеемся, она поможет вам решить возникшие у вас вопросы при эксплуатации техники.
Если остались вопросы, задайте их в комментариях после инструкции.
"Загружаем инструкцию", означает, что нужно подождать пока файл загрузится и можно будет его читать онлайн. Некоторые инструкции очень большие и время их появления зависит от вашей скорости интернета.

80
-RU
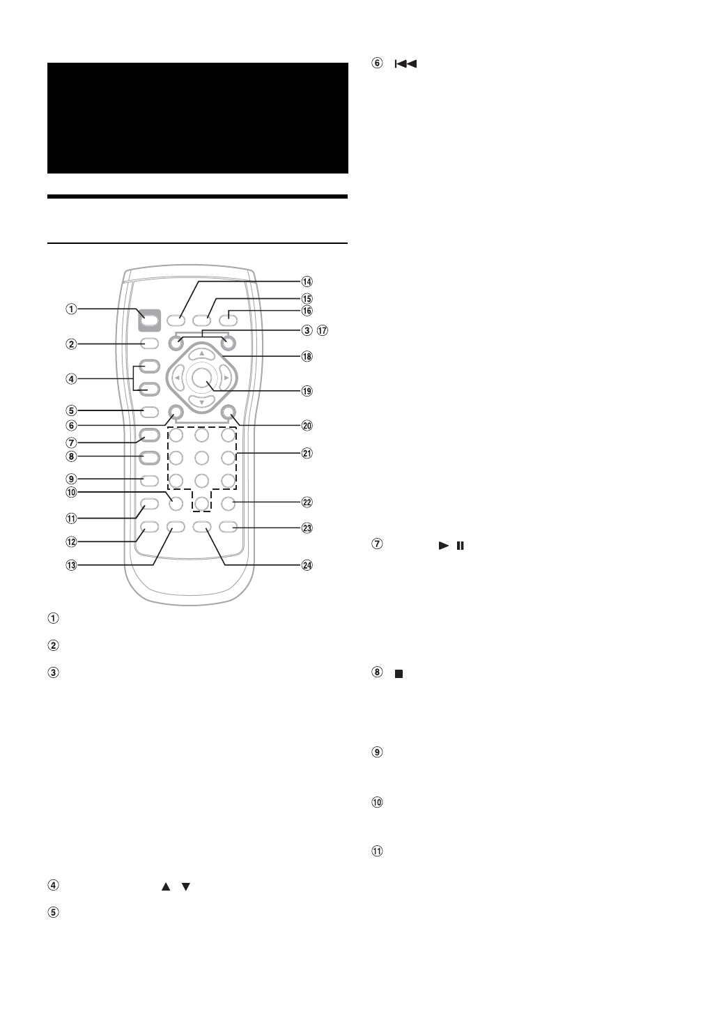
Элементы пульта
дистанционного управления
Кнопка
PWR
Включение и выключение питания.
Кнопка
SRC
Выбор аудиоисточника.
Кнопка
DN
Кнопка
VOLUME
/
Увеличение или уменьшение уровня громкости.
Кнопка
RETURN
Кнопка
Кнопка
/
Кнопка
Остановка.
Кнопка
MENU
Кнопка
CLR
Кнопка
DISP/TOP M.
Пульт
дистанционного
управления
Режим Радио:
Выбор радиостанций в порядке убывания,
назначенных кнопкам предварительной
настройки радиопрограмм.
Режим MP3/WMA/AAC/DivX:
Кнопка выбора папки (DN) используется
для выбора папки.
Режим чейнджера (Changer):
Кнопка выбора DISC (DN) используется
для выбора диска в порядке убывания.
Режим iPod/iPhone:
Выбор списка воспроизведения/
исполнителя/альбома/жанра/композитора/
эпизода в убывающем порядке.
Режим DVD/Video CD (PBC ON)/DivX:
Используется для возврата к предыдущему
экрану. (Может не работать на некоторых дисках.)
Режим Радио: Кнопка SEEK (DN)
Режим CD-чейнджера:
Нажмите эту кнопку для возврата в
начало текущего фрагмента. Нажмите и
удерживайте для перемотки назад.
Режим MP3/WMA/AAC iPod:
Нажмите эту кнопку для возврата в
начало текущего файла. Нажмите и
удерживайте для перемотки назад.
DVD Video/Video CD/DivX:
• Переход к требуемому положению
диска.
• Во время воспроизведения нажмите и
удерживайте в течение более 1 секунды
для обратного воспроизведения с
удвоенной скоростью. Удерживайте в
течение более 5 секунд для обратного
воспроизведения диска со скоростью, в
8 раз превышающей нормальную
скорость. Удерживайте в течение более
5 секунд для обратного воспроизведения
диска со скоростью, в 21 раз
превышающей нормальную скорость.
DVD Video:
• Если нажать и удерживать в режиме
приостановки воспроизведения, диск
будет воспроизводиться в обратном
направлении со скоростью, в 8 раз
меньше обычной. При удерживании
кнопки в течение следующих 5 секунд
устанавливается скорость обратного
воспроизведения, в два раза меньшая
обычной.
• Изображение будет воспроизводиться
в обратном порядке на один кадр с
каждым нажатием кнопки в режиме
приостановки воспроизведения.
Режим Радио: Выбор режима настройки.
Если нажать и удерживать кнопку более
2 секунд, будет использоваться
автоматическая память.
Режим диска/iPod:
Переключение между режимом
воспроизведения и паузы.
•
Кнопка SEARCH: не используется.
DVD Video/Video CD/DivX:
При одинарном нажатии будет выполнена
остановка в режиме PRE; при повторном
нажатии будет выполнена остановка.
Режим DVD Video:
Отображение экрана меню.
Удаление предыдущей цифры на цифровой клавиатуре
или закрытие экрана цифровой клавиатуры.
Режим DVD Video/Video CD:
Отображение статуса воспроизведения
(только если автомобиль остановлен).
Режим DVD Video:
При нажатии в течение более 2 секунд
отобразится экран верхнего меню.
Содержание
- 3 РУССКИЙ; МЕРЫ ПРЕДОСТОРОЖНОСТИ; Диски, воспроизводимые на этом; Приступая к работе
- 4 Настройки DVD-проигрывателя
- 6 Установка и соединения
- 7 Инструкция по эксплуатации; ПРЕДОСТАВЛЕНИЕ ЛИЦЕНЗИИ НА; МЕРЫ
- 10 Пункты по обеспечению безопасности; ПРЕДУПРЕЖДЕНИЕ
- 11 НЕ РАЗБИРАТЬ И НЕ ИЗМЕНЯТЬ.; ВНИМАНИЕ
- 13 Принадлежности для дисков; Диски, воспроизводимые; Воспроизводимые диски
- 14 ALL
- 15 Терминология дисков; Заглавие; Обращение с USB-накопителями
- 17 Комплектация
- 18 Загрузка/извлечение диска
- 19 Что означает информация на; Работа с сенсорной панелью TOUCH PANEL
- 20 Прослушивание радио; Радио
- 21 Работа RDS
- 23 Воспроизведение; Повторное воспроизведение
- 24 случайной последовательности); Нажмите кнопку; Коснитесь кнопки
- 25 Терминология
- 26 Воспроизведение диска; Отображение экрана режима DVD
- 27 В случае отображения экрана меню
- 28 Остановка воспроизведения; Отображение экрана главного меню
- 29 Перемотка вперед/назад; Замедленное воспроизведение
- 31 Переключение угла просмотра; вниз
- 32 Переключение из меню диска
- 33 Настройка звука
- 36 Сохранение настроек в памяти; Функция поиска
- 37 Режим штатного CD-проигрывателя; поддерживающего MP3/чейнджера
- 38 Настройка; Изменение настроек языка
- 39 Настройка языка звукового сопровождения; Изменение настройки цифрового выхода
- 41 Изменение настроек экрана ТВ
- 42 Отображение информации о диске DivX; Настройка источника
- 43 Настройка режима поиска USB; Настройка радио; USB Search
- 44 Настройка дисплея; Операция настройки Visual EQ
- 45 Настройка подсветки дисплея; Изменение цвета фона шрифта
- 46 Общие настройки; Отображение времени; Изменение шрифта
- 47 Операции с системными настройками; Настройка кода безопасности; Системные настройки; Переключение функции датчика ДУ
- 48 Настройка входа камеры
- 49 Переключение системы входного видеосигнала; Настройка вывода изображения; Настройка цифрового выхода
- 50 Настройка режима MultEQ
- 54 Информация о временной коррекции; Находясь в точке прослушивания (кресло; левое сидение
- 56 Настройка внешнего аудиопроцессора; Работа с внешним
- 57 Настройка регулировки низких частот
- 58 Настройка кроссовера
- 59 Регулировка фазы; Настройки параметрического эквалайзера; Настройка динамиков
- 60 Настройка Dolby Digital
- 61 Настройка перед использованием; Настройка уровня DVD
- 62 Настройка BLUETOOTH; Операция настройки BLUETOOTH
- 64 Функция телефона Hands-Free; Завершение вызова; Функция повторного набора; Операция переключения вызовов; О функции телефона Hands-Free
- 65 Журнал вызовов
- 66 Голосовой набор номера
- 71 Работа с устройством TUE-T200DVB; Управление CD-чейнджером; Операции с
- 72 на пульте дистанционного управления; Функция BANK (только режим; Переносной
- 74 Воспроизведение в случайном; Поиск нужной композиции; Поиск по информации тега
- 75 Выбор нужной папки
- 76 Подсоединение iPod/iPhone
- 77 Настройка управления iPod; Поиск по имени исполнителя
- 78 Выберите требуемого исполнителя.; Поиск композиции в альбоме исполнителя; Функция прямого поиска
- 80 VOLUME; Пульт
- 82 Замена батарей; О дисках DVD; Информация
- 83 Dolby Digital; Dolby Pro Logic II; Уровни рейтинга (защита от просмотра детьми)
- 89 Индикация для DVD/Video CD
- 91 Индикаторы в режиме iPod; Индикация режима BLUETOOTH; Технические характеристики; МОНИТОР
- 93 Чтобы правильно использовать устройство, перед; Предупреждение
- 94 Установка; Угол установки
- 96 Установка антенны GPS; Прокладка кабеля антенны GPS; Подсоединение удлинительного кабеля USB (в комплекте)
- 97 Калибровка при подключении к
- 98 Соединения
- 101 Пример системы
- 102 Переключатель систем
- 104 Declaration of Conformity



