Котел Vaillant eloBLOCK VE 12 12 кВт, одноконтурный - инструкция пользователя по применению, эксплуатации и установке на русском языке. Мы надеемся, она поможет вам решить возникшие у вас вопросы при эксплуатации техники.
Если остались вопросы, задайте их в комментариях после инструкции.
"Загружаем инструкцию", означает, что нужно подождать пока файл загрузится и можно будет его читать онлайн. Некоторые инструкции очень большие и время их появления зависит от вашей скорости интернета.

RU
Электроподключение
Руководство по монтажу и техобслуживанию eloBLOCK 0020094388_03
21
5
1
2
3
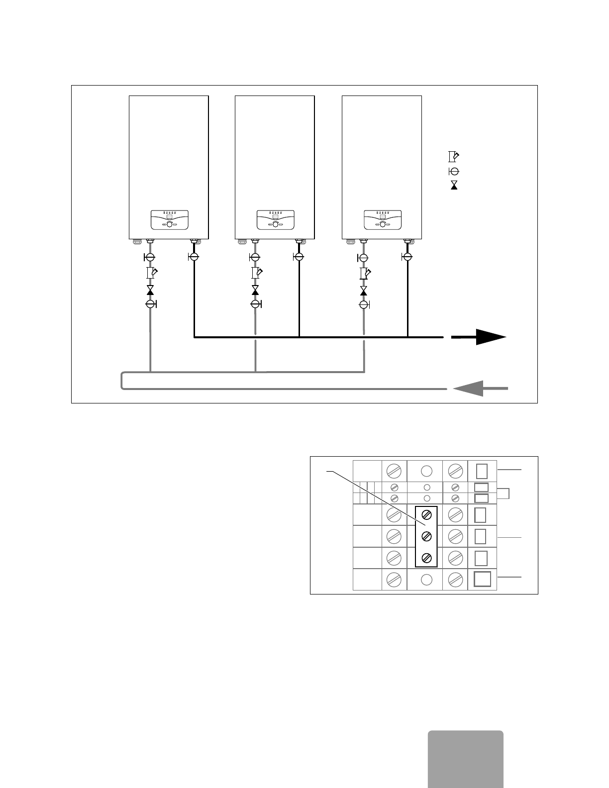
5.6 Пример подключения каскадом
Пояснения к рисунку
1 Фильтр
2 Запорный кран
3 Обратный клапан
5.10
Подключение к однофазной э/сети
N
L
PE
PE
W
V
U
N
S2
S1
1
5.7 Установка перемычки для подключения к однофазной э/сети
При отсутствии подключения к трёхфазной э/сети аппараты
VE 6 и VE 9 в качестве альтернативы можно подключать к однофаз-
ной э/сети. В этом случае следует использовать входящую в ком-
плект поставки перемычку (
1
). Перемычка соединяет контакты фаз
на клеммной панели э/сети.