Котел Baxi LUNA HT Residential (85-100 кВт) - инструкция пользователя по применению, эксплуатации и установке на русском языке. Мы надеемся, она поможет вам решить возникшие у вас вопросы при эксплуатации техники.
Если остались вопросы, задайте их в комментариях после инструкции.
"Загружаем инструкцию", означает, что нужно подождать пока файл загрузится и можно будет его читать онлайн. Некоторые инструкции очень большие и время их появления зависит от вашей скорости интернета.

Luna HT 1.850-1.1000
руководство
для
пользователя
газовые
настенные
котлы
5
3.
Пуск
котла
.
Для
правильного
зажигания
горелки
нужно
:
1)
подключить
котел
к
электросети
;
2)
открыть
газовый
кран
;
3)
далее
следуйте
указаниям
на
панели
управления
котла
,
которые
относятся
к
проводимым
регулировкам
.
Зная
местные
условия
,
параметры
электро
-,
газо
-,
и
водоснабжения
,
обслуживающая
организация
вправе
требовать
установку
дополнительного
оборудования
(
стабилизатор
напряжения
,
умягчитель
воды
и
т
.
д
.)
Рис
.1
ВНИМАНИЕ
:
Инструкции
,
относящиеся
к
работе
котла
в
системе
ГВС
,
действительны
,
только
если
аппарат
подсоединен
к
контуру
ГВС
.
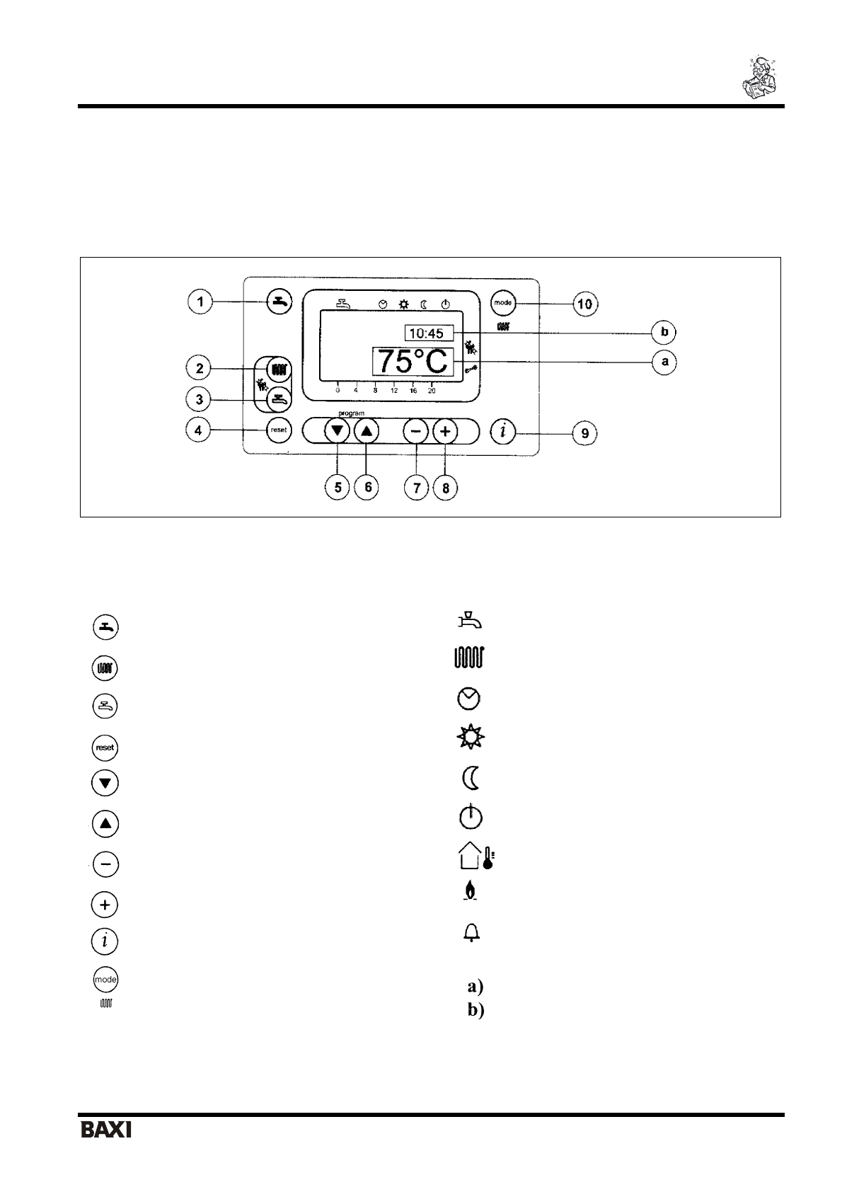
КНОПКИ
ПАНЕЛИ
УПРАВЛЕНИЯ
:
СИМВОЛЫ
НА
ДИСПЛЕЕ
ПАНЕЛИ
УПРАВЛЕНИЯ
:
Работа
системы
ГВС
вкл
/
выкл
Работа
системы
ГВС
Регулирование
температуры
воды
системы
отопления
Работа
системы
отопления
Регулирование
температуры
воды
системы
ГВС
Работа
котла
в
автоматическом
режиме
.
Сброс
(
перезапуск
)
Работа
котла
в
ручном
режиме
при
максимальной
установленной
температуре
Вход
в
функцию
программирования
и
перемещение
по
данным
(
вниз
)
Работа
котла
в
ручном
режиме
при
минимальной
установленной
температуре
Вход
в
функцию
программирования
и
перемещение
по
данным
(
вверх
)
Выключен
Регулирование
параметров
(
уменьшение
значения
)
Уличная
температура
Регулирование
параметров
(
увеличение
значения
)
Наличие
пламени
(
включена
горелка
)
Вывод
информации
на
дисплей
Наличие
неисправности
ОСНОВНОЙ
дисплей
Выбор
режима
работы
системы
отопления
ДОПОЛНИТЕЛЬНЫЙ
дисплей
 
 
 
 
Содержание
- 2 BAXI; Компания
- 3 СОДЕРЖАНИЕ
- 4 FERNOX Rigeneratore; Подготовка
- 8 параметр
- 9 Рис
- 12 Общие
- 13 FERNOX Protettivo; Установка
- 15 ВНИМАНИЕ
- 19 Внимание; = 15m L
- 23 Присоединение
- 25 LUNA HT; SIEMENS
- 26 PROG; «kt»
- 27 QA; без; климатическим; kt
- 28 сняв
- 29 NTC
- 30 Пояснения; SI
- 33 Таб
- 37 газ
- 39 Модель; NO; Ed. 1-02/10 Cod. 912.959.1
 
  
  
  
  
  
  
  
  
  
  
  
  
  
  
  
  
  
  
  
  
  
  
  
  
  
  
  
  
  
  
  
  
  
  
  
  
  
  
 











