Кондиционеры Elenberg SPT-7090 - инструкция пользователя по применению, эксплуатации и установке на русском языке. Мы надеемся, она поможет вам решить возникшие у вас вопросы при эксплуатации техники.
Если остались вопросы, задайте их в комментариях после инструкции.
"Загружаем инструкцию", означает, что нужно подождать пока файл загрузится и можно будет его читать онлайн. Некоторые инструкции очень большие и время их появления зависит от вашей скорости интернета.

20
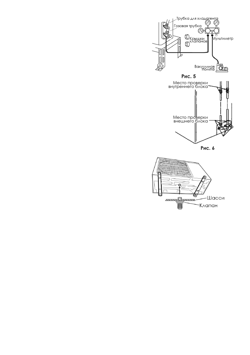
пы, изменился, а показания мультиметра
равны 0, затяните крепление соединитель
-
ного шланга.
5. Подождите 15 минут и убедитесь, что пока
-
зания мультиметра соответствуют следую
-
щему значению: -1.0 x 10
5
Па (-76 cmHg).
6. Полностью откройте клапаны высокого и
низкого давления.
7. Снимите соединительный шланг с клапана
низкого давления.
8. Закрутите крышку клапана низкого давле
-
ния (Рис. 5)
Проверка герметичности соединений
Чтобы убедиться, что соединение герметично,
смажьте его мыльной водой. Если в месте нанесе
-
ния мыльной воды образуются пузыри, значит соеди
-
нение не герметично.
Дренаж для внешнего блока
Для правильного и безопасного отведения кон
-
денсата от внешнего блока подключите дре
-
нажный шланг к клапану ø 25 мм, расположен
-
ному в его основании.
Содержание
- 4 Дополнительные положения; ВВЕДЕНИЕ
- 5 ОПИСАНИЕ ПРИБОРА
- 6 Описание кнопок ПДУ
- 8 СПЕЦИАЛЬНЫЕ ФУНКЦИИ
- 9 Режим “Разморозка”; Замена батарей ПДУ
- 10 Чистка передней панели; ПАНЕЛЬ УПРАВЛЕНИЯ
- 11 Чистка воздушного фильтра; ПРОВЕРКА ПЕРЕД ЭКСПЛУАТАЦИЕЙ
- 12 УСТРАНЕНИЕ НЕПОЛАДОК
- 18 Установка внутреннего блока; УСТАНОВКА ВНУТРЕННЕГО БЛОКА
- 19 Подключение трубок; Подключение проводов; Прокачка воздуха и проверка на протекание; УСТАНОВКА ВНЕШНЕГО БЛОКА
- 21 УСТАНОВКА И ОБСЛУЖИВАНИЕ ФИЛЬТРА
- 22 ПРОВЕРКА ПОСЛЕ УСТАНОВКИ
- 23 СПЕЦИФИКАЦИЯ