Компрессоры Бежецк АСО К-25М 53851 - инструкция пользователя по применению, эксплуатации и установке на русском языке. Мы надеемся, она поможет вам решить возникшие у вас вопросы при эксплуатации техники.
Если остались вопросы, задайте их в комментариях после инструкции.
"Загружаем инструкцию", означает, что нужно подождать пока файл загрузится и можно будет его читать онлайн. Некоторые инструкции очень большие и время их появления зависит от вашей скорости интернета.

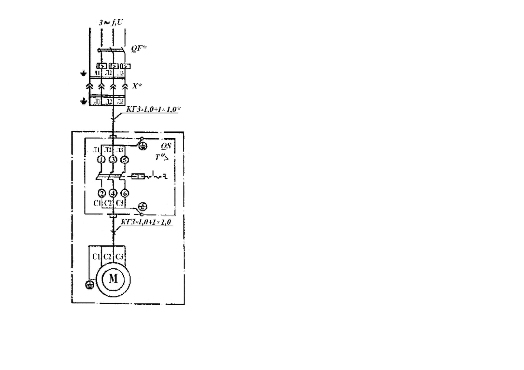
Рис
.12.
Схема
электрическая
принципиальная
установки
компрессорной
К
-25
М
*
С
изделием
не
поставляется
.
38
Охлаждение
компрессорной
головки
–
воздушное
принудительное
.
Сжатый
воздух
от
компрессорной
головки
по
нагнетательному
трубо
-
проводу
подается
в
ресивер
.
4.1.1.
Головка
компрессорная
(
рис
. 3
а
,
б
) –
поршневая
одноступенчатая
двухцилиндровая
с
вертикальным
расположением
цилиндров
состоит
из
следующих
узлов
и
деталей
:
-
картера
1,
выполненного
из
чугуна
,
без
смотровых
окон
;
-
блока
цилиндров
2,
выполненного
из
чугуна
,
с
ребрами
охлаждения
.
Крепится
через
уплотнительную
прокладку
к
верхней
плоскости
кар
-
тера
.
Плоскости
картера
и
блока
цилиндров
под
корпус
подшипника
обра
-
батываются
в
сборе
друг
с
другом
,
поэтому
они
применяются
комплектно
и
не
являются
взаимозаменяемыми
с
другими
картерами
и
блоками
;
-
крышки
цилиндров
3
коробчатой
формы
,
выполненной
из
чугуна
,
с
ребрами
охлаждения
.
Внутренняя
плоскость
крышки
делится
перегород
-
кой
на
две
части
всасывающую
и
нагнетательную
;
-
вала
коленчатого
4,
стального
,
штампованного
.
Коленчатый
вал
опирается
на
два
радиальных
шарикоподшипника
307,
установленных
в
расточках
торцевых
стенок
картера
и
закрытых
крышками
.
Установка
коленчатого
вала
в
сборе
с
шатунами
,
поршнями
в
картер
осуществляется
за
счет
наличия
паза
в
передней
стенке
картера
по
оси
от
-
верстия
для
корпуса
подшипника
.
Направление
вращения
коленчатого
ва
-
ла
по
часовой
стрелке
со
стороны
маховика
;
-
шатунов
5
стальных
,
штампованных
.
Нижние
головки
шатунов
разъемные
;
шатун
обрабатывается
совместно
с
крышкой
и
поэтому
в
от
-
дельности
невзаимозаменяемые
.
В
нижнюю
головку
вставляется
дорабо
-
танный
вкладыш
от
компрессора
автомобиля
ЗИЛ
-130,
шатун
и
крышка
шатуна
стягиваются
шатунными
болтами
.
-
поршневой
палец
Ø
22
запрессован
в
верхнюю
головку
шатуна
с
натягом
и
свободно
вращается
в
бобышках
поршня
.
Стопорные
кольца
не
устанавливаются
.
На
фланце
блока
цилиндров
со
стороны
крышки
имеется
клеймо
знак
«1»
-
поршней
6
диаметром
79
мм
,
выполненных
из
алюминия
.
Каждый
поршень
имеет
по
два
компрессионных
и
по
одному
маслосъемному
коль
-
цу
;
-
поршневых
колец
от
двигателя
автомобиля
«
ВАЗ
»-21011-1000.100;
-
маховика
вентилятора
10,
закрепленного
на
выходном
конце
ко
-
ленчатого
вала
.
Маховик
выполнен
из
серого
чугуна
с
прикрепленными
стальными
лопастями
;
-
фильтра
11
обеспечивающую
очистку
воздуха
,
поступающего
в
ком
-
прессорную
головку
;
-
клапанного
блока
12,
состоящего
из
верхней
и
нижней
клапанных
досок
,
изготовленных
из
серого
чугуна
,
и
между
которыми
расположены
3
Содержание
- 5 запрессован
- 9 QF; ТРЕБОВАНИЯ
- 17 Таблица












