Компрессоры Бежецк АСО К-25М 53851 - инструкция пользователя по применению, эксплуатации и установке на русском языке. Мы надеемся, она поможет вам решить возникшие у вас вопросы при эксплуатации техники.
Если остались вопросы, задайте их в комментариях после инструкции.
"Загружаем инструкцию", означает, что нужно подождать пока файл загрузится и можно будет его читать онлайн. Некоторые инструкции очень большие и время их появления зависит от вашей скорости интернета.

11
8.4.3.
Проверять
работу
предохранительного
клапана
на
ресивере
установки
.
Для
этого
следует
на
работающей
установке
вручную
несколь
-
ко
раз
открыть
клапан
за
кольцо
или
головку
подрыва
.
Если
при
открытии
клапана
воздух
выходит
наружу
и
не
наблюдается
роста
давления
в
ресивере
,
а
при
опускании
клапан
плотно
закрывается
,
клапан
считается
исправным
.
НЕ
ДОПУСКАЕТСЯ
переналадка
предохранительного
клапана
.
8.4.4.
Проверять
в
процессе
работы
компрессорную
головку
на
наличие
стуков
и
посторонних
шумов
.
В
случае
обнаружения
выключить
уста
-
новку
,
определить
причину
и
устранить
.
8.4.5.
Проверять
герметичность
соединений
.
При
обнаружении
утечки
воздуха
или
масла
устранить
причину
неисправности
.
8.4.6.
Сливать
конденсат
из
ресивера
установки
.
8.4.7.
Постоянно
производить
очистку
,
как
компрессорной
головки
,
так
и
установки
в
целом
от
пыли
и
грязи
.
8.5
Плановое
техническое
обслуживание
–
ТО
-1
8.5.1.
Заменить
масло
в
картере
компрессорной
головки
,
промыть
кар
-
тер
и
магнитную
пробку
.
На
предварительно
прогретой
компрессорной
головке
отвернуть
слив
-
ную
пробку
,
подставив
под
картер
емкость
.
В
течение
5…10
минут
дать
маслу
полностью
стечь
,
для
более
полного
слива
рекомендуется
наклонить
головку
в
сторону
сливного
отверстия
.
Промывка
картера
производится
маловязким
маслом
(
индустриальное
20
или
30),
для
чего
залить
промывочное
масло
до
верхней
метки
щупа
и
дать
проработать
компрессорной
головке
5…10
минут
на
холостом
ходу
,
а
затем
полностью
слить
масло
.
Заливать
масло
следует
через
воронку
с
мелкой
сеткой
.
ВНИМАНИЕ
!
При
замене
масла
не
допускается
смешивание
мине
-
рального
и
синтетического
масел
,
что
приведёт
к
сворачиванию
смеси
,
по
-
тери
смазывающих
свойств
и
заклиниванию
поршневой
группы
.
Для
пере
-
хода
с
минерального
сорта
на
синтетические
сорта
и
наоборот
требуется
двойная
промывка
промывочным
маслом
.
8.5.2.
Проверить
фильтрующий
элемент
воздушного
фильтра
,
промыть
и
продуть
сжатым
воздухом
.
При
поставке
воздушного
фильтра
с
фильтро
-
элементом
,
изготовленным
из
ультратонкого
стекловолокна
,
при
необхо
-
димости
фильтроэлемент
-
заменить
.
8.5.3.
Проверить
затяжку
соединений
и
при
необходимости
подтянуть
:
гайку
крепления
маховика
,
гайки
крепления
блока
цилиндров
к
картеру
,
гайки
крепления
крышки
цилиндров
в
соответствии
с
таблицей
8.
8.6.
Плановое
техническое
обслуживание
–
ТО
-2
.
8.6.1.
Снять
головку
блока
цилиндров
,
блок
цилиндров
–
очистить
от
масляного
нагара
поршни
,
поршневые
кольца
,
клапаны
,
внутренние
стенки
цилиндров
и
крышек
.
12
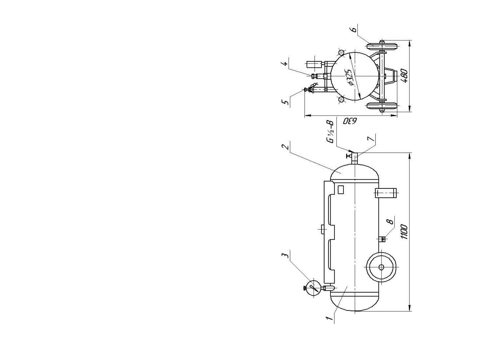
Рис
. 4
.
Р
ес
и
вер
ус
та
н
ов
ки
к
ом
п
рес
сор
н
ой
К
-24
М
1
-
об
еч
ай
ка
; 2
-
дн
ище
; 3
-
м
ано
м
етр
кон
тр
оля
да
влен
ия
во
зд
ух
а
в
рес
ив
ере
; 4
-
ре
гул
ят
ор
да
вл
ен
ия
;
5
-
пре
до
храни
те
льный
кл
ап
ан
; 6
-
кол
есо
; 7
-
вен
тиль
ра
зд
ат
оч
ный
; 8
-
про
бка
сл
ив
ная
.

 
 
 
 
 
 
 
 
 
 
 
 
 
 
 
 
 
 
 
 
 
 










