Компрессоры Бежецк АСО К-25М 53851 - инструкция пользователя по применению, эксплуатации и установке на русском языке. Мы надеемся, она поможет вам решить возникшие у вас вопросы при эксплуатации техники.
Если остались вопросы, задайте их в комментариях после инструкции.
"Загружаем инструкцию", означает, что нужно подождать пока файл загрузится и можно будет его читать онлайн. Некоторые инструкции очень большие и время их появления зависит от вашей скорости интернета.

9
6.8.
Установить
приводные
ремни
вручную
в
ненапряженном
состоя
-
нии
,
т
.
е
.
без
применения
каких
-
либо
инструментов
.
Произвести
натяжение
приводных
ремней
путем
передвижения
электродвигателя
по
плите
.
Проверить
натяжение
ремней
и
при
необходимости
подтянуть
их
.
Под
усилием
2
кгс
ветвь
ремня
должна
оттягиваться
на
11
мм
.
При
этом
оси
валов
электродвигателя
и
коленчатого
(
или
оси
шкива
и
маховика
)
должны
быть
расположены
параллельно
,
а
канавки
шкива
и
ма
-
ховика
–
друг
против
друга
.
Непараллельность
осей
шкива
и
маховика
не
должны
превышать
2
мм
.
Параллельность
осей
шкива
и
маховика
можно
обеспечить
путём
до
-
стижения
параллельности
торцевых
поверхностей
шкива
и
маховика
.
6.9.
Провернуть
ременную
передачу
установки
за
маховик
на
несколь
-
ко
оборотов
вручную
и
убедиться
в
отсутствии
заеданий
.
6.10.
Подключить
установку
к
электросети
согласно
электрических
схем
рис
.11
и
рис
.12.
6.11.
Включить
установку
и
дать
возможность
работать
ей
несколько
минут
в
холостом
режиме
(
при
открытом
раздаточном
вентиле
).
Остановить
установку
и
проверить
затяжку
креплений
всех
резьбовых
соединений
,
в
особенности
крепление
маховика
на
коленчатом
валу
,
после
чего
включить
установку
на
25…30
мин
.
6.12.
После
проведения
вышеперечисленных
работ
можно
приступать
к
обкатке
установки
под
нагрузкой
.
6.13.
Владелец
компрессорной
установки
обязан
обеспечить
содержа
-
ние
установки
в
исправном
состоянии
и
безопасные
условия
её
работы
.
Для
этого
необходимо
:
назначить
приказом
из
числа
специалистов
ответственного
за
исправ
-
ное
состояние
и
безопасное
действие
сосудов
,
а
также
ответственных
по
надзору
за
техническим
состоянием
и
эксплуатацией
как
установки
в
це
-
лом
,
так
и
её
составляющих
.
7.
ОБКАТКА
УСТАНОВКИ
7.1.
Срок
службы
и
надежности
работы
компрессорной
установки
зави
-
сят
от
правильности
обкатки
.
7.2.
Обкатывать
установку
в
течение
100
часов
работы
следует
для
при
-
рабатывания
трущихся
деталей
.
7.3.
ЗАПРЕЩАЕТСЯ
во
время
обкатки
эксплуатация
установки
в
не
-
прерывном
режиме
во
избежание
выхода
из
строя
клапанной
системы
,
по
-
этому
после
каждых
2-
х
часов
непрерывной
работы
необходимо
останавли
-
вать
установку
на
10-15
минут
для
охлаждения
.
7.4.
Пред
запуском
установки
проверить
уровень
масла
в
картере
ком
-
прессорной
головки
.
Установка
поставляется
с
завода
-
изготовителя
с
заправленным
в
картер
10
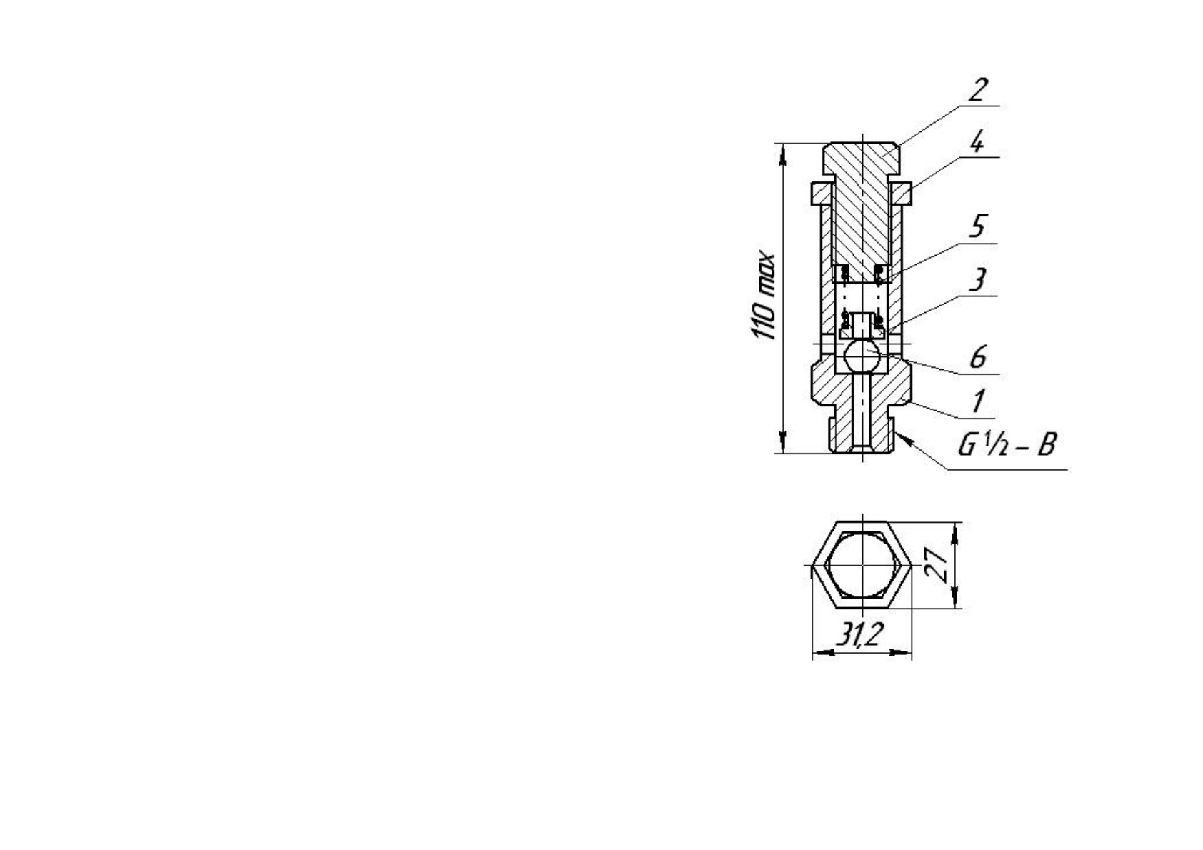
Рис
.6.
Регулятор
давления
1-
корпус
; 2-
болт
регулировочный
; 3-
упор
;
4-
контргайка
; 5-
пружина
; 6-
шарик
Ø
12,7
мм
.











