Измерительные приборы UNI-T UT-107 - инструкция пользователя по применению, эксплуатации и установке на русском языке. Мы надеемся, она поможет вам решить возникшие у вас вопросы при эксплуатации техники.
Если остались вопросы, задайте их в комментариях после инструкции.
"Загружаем инструкцию", означает, что нужно подождать пока файл загрузится и можно будет его читать онлайн. Некоторые инструкции очень большие и время их появления зависит от вашей скорости интернета.

ИНСТРУКЦИЯ
ПО
ЭКСПЛУАТАЦИИ
: UT-107
UNI-T
5
Предупреждение
Во
избежание
повреждения
мультиметра
или
тестируемого
устройства
,
перед
измерением
сопротивления
отключите
питание
от
измеряемой
цепи
и
разрядите
все
высоковольт
-
ные
конденсаторы
.
Не
подавайте
на
вход
эффективное
напряжение
выше
60
В
постоянного
или
30
В
переменного
тока
во
избежание
пора
-
жения
электрическим
током
.
Используйте
этот
тест
для
проверки
диодов
,
транзисторов
и
дру
-
гих
полупроводниковых
устройств
.
В
этом
тесте
пропускается
ток
через
диод
в
прямом
направлении
и
измеряется
падение
напря
-
жения
на
переходе
.
Для
исправного
кремниевого
перехода
это
значение
находится
в
пределах
от
0,5
В
до
0,8
В
.
Для
измерения
диодов
вне
цепи
подключите
прибор
следующим
образом
:
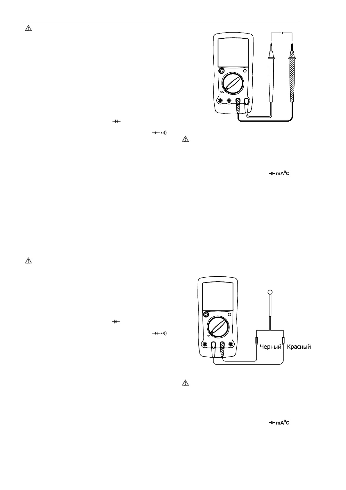
1.
Установите
красный
щуп
в
гнездо
а
черный
щуп
в
гнез
-
до
COM.
2.
Установите
поворотный
переключатель
на
диапазон
.
3.
Для
измерения
прямого
падения
напряжения
на
любом
по
-
лупроводниковом
приборе
подсоедините
красный
щуп
к
аноду
,
а
черный
к
катоду
тестируемого
компонента
.
Поляр
-
ность
красного
щупа
будет
«+»,
в
то
время
как
чёрный
щуп
будет
«-».
На
дисплее
появится
измеренное
значение
.
Замечание
•
В
цепи
для
исправного
кремниевого
перехода
значение
пря
-
мого
падения
напряжения
находится
в
пределах
от
0,5
В
до
0,8
В
.
Однако
в
обратном
направлении
падение
напряжения
может
зависеть
от
сопротивления
по
другим
путям
между
щупами
.
•
Подключите
щупы
к
нужным
гнездам
как
описано
выше
,
что
-
бы
избежать
сообщения
об
ошибке
.
•
Напряжение
разомкнутой
цепи
при
тестировании
диодов
составляет
2,7
В
.
•
При
обратном
включении
на
дисплее
отобразится
символ
«
1
» .
•
По
окончании
измерений
отсоедините
щупы
от
электриче
-
ской
схемы
.
F.
Проверка
непрерывности
цепи
(
см
.
рис
. 7)
Предупреждение
Во
избежание
повреждения
мультиметра
или
тестируемого
устройства
,
перед
измерением
сопротивления
отключите
питание
от
измеряемой
цепи
и
разрядите
все
высоковольт
-
ные
конденсаторы
.
Не
подавайте
на
вход
эффективное
напряжение
выше
60
В
постоянного
или
30
В
переменного
тока
во
избежание
пора
-
жения
электрическим
током
.
Для
проверки
непрерывности
цепи
подключите
прибор
следую
-
щим
образом
:
1.
Установите
красный
щуп
в
гнездо
,
а
черный
щуп
в
гнез
-
до
COM
2.
Установите
поворотный
переключатель
на
диапазон
.
3.
Подсоедините
щупы
параллельно
измеряемой
цепи
.
•
Звукового
сигнала
не
будет
,
если
значение
сопротивления
измеряемой
цепи
> 100
Ω
.
Это
означает
обрыв
соединения
.
•
Звуковой
сигнал
издается
непрерывно
,
если
значение
со
-
противления
измеряемой
цепи
≤
10
Ω
.
Это
означает
ис
-
правность
цепи
.
•
Звуковой
сигнал
может
звучать
или
не
звучать
,
если
значе
-
ние
сопротивления
измеряемой
цепи
находится
в
диапазо
-
не
10
Ω
~100
Ω
.
4.
На
дисплее
отображается
сопротивление
измеряемой
цепи
,
единица
измерения
Ом
.
Замечание
•
Напряжение
разомкнутой
цепи
примерно
3
В
.
•
По
окончании
измерений
отсоедините
щупы
от
электриче
-
ской
схемы
.
G.
Измерение
12
В
батареи
(
см
.
рис
. 8)
Рис
. 8
Предупреждение
Не
подавайте
на
вход
эффективное
напряжение
выше
60
В
постоянного
или
30
В
переменного
тока
во
избежание
пора
-
жения
электрическим
током
.
Для
тестирования
батареи
проделайте
следующее
:
1.
Установите
красный
щуп
в
гнездо
,
а
черный
щуп
в
гнездо
COM.
2.
Установите
поворотный
переключатель
на
диапазон
12V.
3.
Подсоедините
тестовые
щупы
параллельно
тестируемой
батарее
.
Красный
щуп
подключите
к
положительной
клемме
,
а
чёрный
щуп
к
отрицательной
.
4.
На
дисплее
появится
измеренное
значение
,
единица
изме
-
рения
В
.
Замечание
•
Мультиметр
используется
для
измерения
только
не
более
чем
20
В
отключенной
батареи
.
Для
измерения
работающей
батареи
необходимо
добавить
её
рабочую
нагрузку
и
встро
-
енную
нагрузку
мультиметра
.
•
Мультиметр
имеет
встроенное
нагрузочное
сопротивление
120
Ω
/2
Вт
.
Отображаемое
на
дисплее
измеренное
значение
–
это
значение
на
нагруженной
батарее
.
•
По
окончании
измерений
отсоедините
щупы
от
батареи
.
H.
Измерение
температуры
(
см
.
рис
. 9)
Рис
. 9
Предупреждение
Не
подавайте
на
вход
эффективное
напряжение
выше
60
В
постоянного
или
30
В
переменного
тока
во
избежание
пора
-
жения
электрическим
током
.
Диапазон
измерения
температур
от
-40˚
С
до
1000˚
С
.
Для
измерения
температуры
проделайте
следующее
:
1.
Установите
красный
щуп
в
гнездо
,
а
черный
щуп
в
гнездо
COM.
2.
Установите
поворотный
переключатель
на
диапазон
˚
С
.
3.
Поместите
температурный
датчик
на
внешнюю
или
внутрен
-
нюю
поверхность
измеряемого
объекта
.
4.
На
дисплее
появится
измеренное
значение
,
единица
изме
-
рения
˚
С
.
Характеристики
Остались вопросы?Не нашли свой ответ в руководстве или возникли другие проблемы? Задайте свой вопрос в форме ниже с подробным описанием вашей ситуации, чтобы другие люди и специалисты смогли дать на него ответ. Если вы знаете как решить проблему другого человека, пожалуйста, подскажите ему :)