Источники бесперебойного питания Eaton 5PX 1000 - инструкция пользователя по применению, эксплуатации и установке на русском языке. Мы надеемся, она поможет вам решить возникшие у вас вопросы при эксплуатации техники.
Если остались вопросы, задайте их в комментариях после инструкции.
"Загружаем инструкцию", означает, что нужно подождать пока файл загрузится и можно будет его читать онлайн. Некоторые инструкции очень большие и время их появления зависит от вашей скорости интернета.

614-40094-00
15
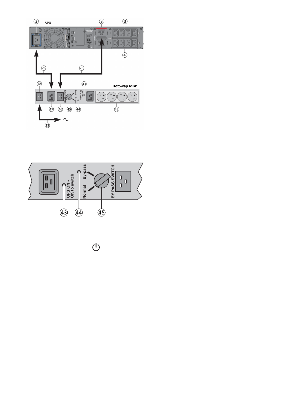
1. Connect the input socket (48) on the HotSwap MBP
module to the AC power source using the cable (13)
supplied.
2. Connect the UPS input socket (2) to the “UPS
Input” (47) on the HotSwap MBP module, using the cable
(26) supplied. This cable and the connector are
marked blue.
3. Connect the UPS outlet (3) to the “UPS Output” (46)
on the HotSwap MBP module, using the cable (26)
supplied. This cable and the connector are marked in
red.
4. Connect the equipment to the outlets (42) on the
HotSwap MBP module.
These outlets differ, depending on the version of
the HotSwap MBP module.
Caution : Do not use UPS outlets (4) to supply
equipment because use of switch (45) on the HotSwap
MBP module would cut supply to the equipment.
HotSwap MBP module operation
The HotSwap MBP module has a rotary switch (45) with
two positions:
Normal
: the load is supplied by the UPS, LED (43) is on.
Bypass
: the load is supplied directly by the AC power
source. LED (44) is on. Load is not protected.
UPS start-up with the HotSwap MBP module
1. Check that the UPS is correctly connected to the HotSwap MBP module.
2. Start the UPS by pressing the
button on the UPS control panel. LED (43) "UPS ON - OK to switch" on the HotSwap
MBP module goes ON (otherwise, there is a connection error between the HotSwap MBP module and the UPS).
3. Set switch (45) to Normal position. The red LED on the HotSwap MBP module goes OFF.
HotSwap MBP module test
1. Set switch (45) to Bypass position and check that the load is still supplied.
2. Set switch (45) back to Normal position.
Характеристики
Остались вопросы?Не нашли свой ответ в руководстве или возникли другие проблемы? Задайте свой вопрос в форме ниже с подробным описанием вашей ситуации, чтобы другие люди и специалисты смогли дать на него ответ. Если вы знаете как решить проблему другого человека, пожалуйста, подскажите ему :)