Холодильник Liebherr BP 2850 - инструкция пользователя по применению, эксплуатации и установке на русском языке. Мы надеемся, она поможет вам решить возникшие у вас вопросы при эксплуатации техники.
Если остались вопросы, задайте их в комментариях после инструкции.
"Загружаем инструкцию", означает, что нужно подождать пока файл загрузится и можно будет его читать онлайн. Некоторые инструкции очень большие и время их появления зависит от вашей скорости интернета.

Inhalt
1
Gerät auf einen Blick.............................................
2
1.1
Geräte- und Ausstattungsübersicht..........................
2
1.2
Einsatzbereich des Geräts.......................................
2
1.3
Konformität...............................................................
3
1.4
Aufstellmaße............................................................
3
1.5
Energie sparen.........................................................
3
1.6
Einordnungsbeispiel.................................................
4
1.7
SmartDevice.............................................................
4
2
Allgemeine Sicherheitshinweise..........................
4
3
Bedienungs- und Anzeigeelemente.....................
5
3.1
Home-Bildschirm......................................................
5
3.2
Bedienstruktur..........................................................
5
3.3
Navigation................................................................
5
3.4
Anzeigesymbole.......................................................
6
3.5
Geräteoptionen........................................................
6
4
Inbetriebnahme......................................................
6
4.1
Gerät transportieren.................................................
6
4.2
Gerät aufstellen........................................................
6
4.3
Türanschlagwechsel................................................
7
4.4
Einschub in die Küchenzeile..................................... 12
4.5
Verpackung entsorgen............................................. 12
4.6
Gerät anschließen.................................................... 13
4.7
Gerät einschalten..................................................... 13
4.8
Timer Lüftungsgitter reinigen aktivieren.................... 13
5
Bedienung.............................................................. 13
5.1
Temperatureinheit ändern......................................... 13
5.2
Kindersicherung....................................................... 13
5.3
Sabbath Mode.......................................................... 13
5.4
Feuchtigkeit einstellen.............................................. 14
5.5
Lebensmittel lagern.................................................. 14
5.6
Lagerzeiten.............................................................. 14
5.7
Temperatur einstellen............................................... 15
5.8
Urlaubsschaltung..................................................... 15
5.9
Schubfächer............................................................. 15
5.10 Abstellflächen........................................................... 16
5.11 VarioSpace............................................................... 16
6
Wartung................................................................... 16
6.1
Lüftungsgitter reinigen.............................................. 16
6.2
Gerät reinigen........................................................... 16
6.3
Kundendienst........................................................... 16
7
Störungen............................................................... 17
8
Meldungen.............................................................. 18
9
Außer Betrieb setzen............................................. 18
9.1
Gerät ausschalten.................................................... 18
9.2
Außer Betrieb setzen................................................ 18
10
Gerät entsorgen..................................................... 19
Der Hersteller arbeitet ständig an der Weiterentwicklung aller
Typen und Modelle. Bitte haben Sie deshalb Verständnis dafür,
dass wir uns Änderungen in Form, Ausstattung und Technik
vorbehalten müssen.
Um alle Vorteile Ihres neuen Gerätes kennenzulernen, lesen
Sie bitte die Hinweise in dieser Anweisung aufmerksam durch.
Die Anleitung ist für mehrere Modelle gültig, Abweichungen
sind möglich. Abschnitte, die nur auf bestimmte Geräte
zutreffen, sind mit einem Sternchen (*) gekennzeichnet.
Handlungsanweisungen sind mit einem
gekenn-
zeichnet, Handlungsergebnisse mit einem .
1 Gerät auf einen Blick
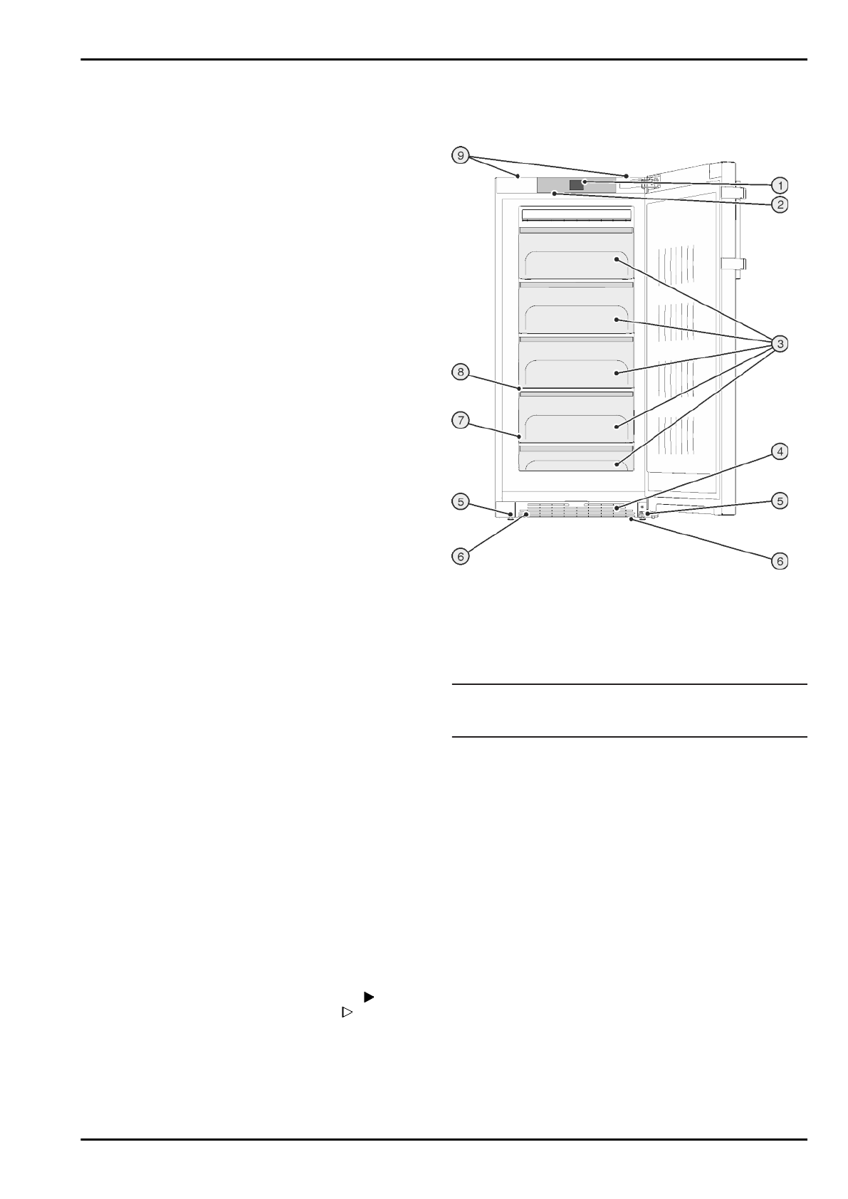
1.1 Geräte- und Ausstattungsübersicht
Fig. 1
(1) Bedien- und Kontrollele-
mente
(6) Transporttragegriffe vorn,
Transportrollen hinten
(2) LED-Innenbeleuchtung
(7) Typenschild
(3) BioFresh-Fach
(8) VarioSpace
(4) Lüftungsgitter
(9) Transporttragegriffe hinten
(5) Stellfüße
Hinweis
u
Ablagen, Schubladen oder Körbe sind im Auslieferungszu-
stand für eine optimale Energieeffizienz angeordnet.
1.2 Einsatzbereich des Geräts
Bestimmungsgemäße Verwendung
Das Gerät eignet sich ausschließlich zum
Kühlen von Lebensmitteln im häuslichen oder
haushaltsähnlichen Umfeld. Hierzu zählt z.B.
die Nutzung
-
in Personalküchen, Frühstückspensionen,
-
durch Gäste in Landhäusern, Hotels, Motels
und anderen Unterkünften,
-
beim Catering und ähnlichem Service im
Großhandel.
Alle anderen Anwendungsarten sind unzu-
lässig.
Vorhersehbare Fehlanwendung
Folgende Anwendungen sind ausdrücklich
verboten:
-
Lagerung und Kühlung von Medikamenten,
Blutplasma, Laborpräparaten oder ähnlichen
Gerät auf einen Blick
2
* Je nach Modell und Ausstattung
Характеристики
Остались вопросы?Не нашли свой ответ в руководстве или возникли другие проблемы? Задайте свой вопрос в форме ниже с подробным описанием вашей ситуации, чтобы другие люди и специалисты смогли дать на него ответ. Если вы знаете как решить проблему другого человека, пожалуйста, подскажите ему :)