Электропилы Hitachi CS40EK - инструкция пользователя по применению, эксплуатации и установке на русском языке. Мы надеемся, она поможет вам решить возникшие у вас вопросы при эксплуатации техники.
Если остались вопросы, задайте их в комментариях после инструкции.
"Загружаем инструкцию", означает, что нужно подождать пока файл загрузится и можно будет его читать онлайн. Некоторые инструкции очень большие и время их появления зависит от вашей скорости интернета.

²ÍÉØÍÉÍ»ÅÉÀ
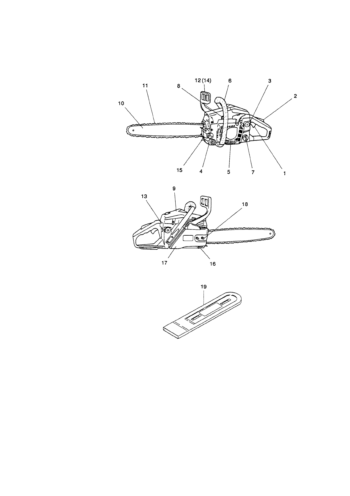
ªÉÌÅÉÆ×ÅνØÍÉÇËÎÅɽɿÌͽÀÉÊÃÌÖ½»ÀÍÌÚÈÀÌÅÉÆ×ÅÉÇÉ¿ÀÆÀĽÉÂÇÉÁÈÖË»ÂÆÃÒÃÚÇÀÁ¿ÎËÃÌÎÈÅ»ÇÃûÓÃÇ»Êʻ˻ÍÉÇªÉÆ×ÂÎÄÍÀÌ×
ÃÈÌÍËÎÅÑÃÚÇÃÊËÃÆ»¾»ÀÇÖÇÃÅ»ÓÀÇλÊʻ˻ÍÎ
ËÉÌÌÀÆ×ÈÉÀÊÎÌÅɽÉÀÎÌÍËÉÄÌͽÉ
ÆÉÅÃËɽŻ¿ËÉÌÌÀÆ×ÈɾÉÊÎÌÅɽɾÉÎÌÍËÉÄÌͽ»ÊËÀ¿ÉÐË»ÈÃÍÀÆ×ÈÉÀÊÎÌÅɽÉÀÎÌÍËÉÄÌͽÉ
ÖÅÆÙÒ»ÍÀÆ×»Áþ»ÈÃÚ
¥ËÖÓÅ»Ç»ÌÆÚÈɾɼ»Å»
ɽ˻ÍÈÖÄÌÍ»ËÍÀË
ªÀËÀ¿ÈÚÚËÎÅÉÚÍÅ»
¥ËÖÓÅ»ÍÉÊÆÃ½Èɾɼ»Å»
ÀÅÉÇÊËÀÌÌÃÉÈÈÖÄÅÆ»Ê»È
+ËÖÓÅ»½É¿ÎÓÈɾÉÏÃÆ×ÍË»
¨»ÊË»½ÆÚÙÔ»ÚÓÃÈ»
ªÃÆ×È»ÚÑÀÊ×
ªÀËÀ¿ÈÃÄÔÃÍÉÅ¿ÆÚ»ÔÃÍÖËÎÅÃ
«ÎÒÅ»Â»ÌÆÉÈÅÃ
±ÀÊÈÉÄÍÉËÇÉÂÊÉ»ŻÂÎ
³ÃÊɽ»ÈÈÖļÎÏÀË
±ÀÊÈÉÄɾ˻ÈÃÒÃÍÀÆ×
ÉÅɽÉÄÅÉËÊÎÌ
¢»ÁÃÇȻھ»ÄŻȻÊË»½ÆÚÙÔÀÄÓÃÈÖ
¥ÉÁÎÐÈ»ÊË»½ÆÚÙÔÀÄÓÃÈÖ
,1{