Духовые шкафы Kuppersberg HGG 663 T - инструкция пользователя по применению, эксплуатации и установке на русском языке. Мы надеемся, она поможет вам решить возникшие у вас вопросы при эксплуатации техники.
Если остались вопросы, задайте их в комментариях после инструкции.
"Загружаем инструкцию", означает, что нужно подождать пока файл загрузится и можно будет его читать онлайн. Некоторые инструкции очень большие и время их появления зависит от вашей скорости интернета.

23
русский
паспорт технического изделия
газовый духовой шкаф
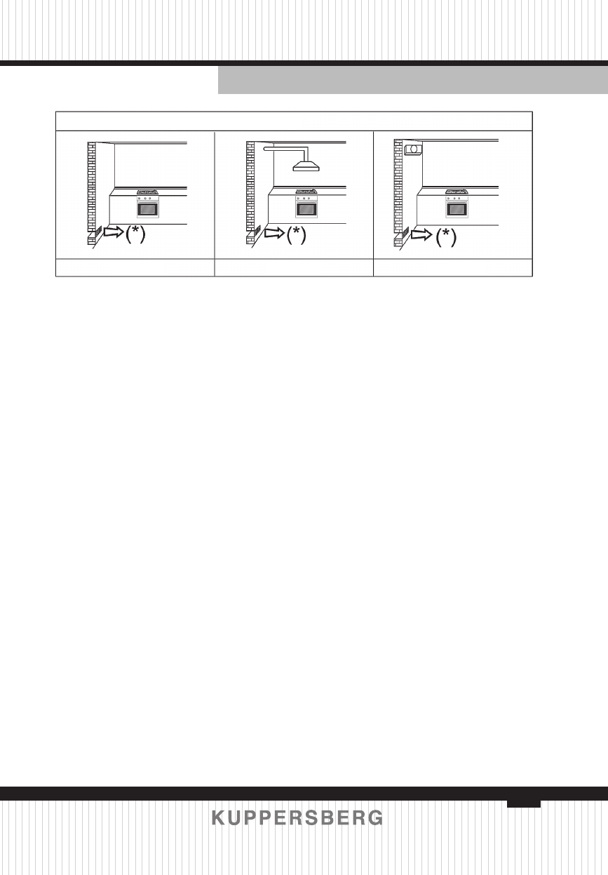
(*) ВПУСК ВОЗДУХА: СМ. РАЗДЕЛ «УСТАНОВКА»
рис. 1
рис. 2
рис. 3
УСТАНОВКА ПРИБОРА
Все работы по установке должны
проводиться
квалифицированными
техническими специалистами. Чтобы
предотвратить повреждения, для выпол-
нения подключения после распаковки
духовой шкаф необходимо поместить на
основание.
Не поднимайте духовой шкаф, удер-
живая его за ручку двери. При подъеме
поддерживайте его за боковины.
Не поднимайте духовой шкаф, удер-
живая его за газовый патрубок. Убеди-
тесь, что во время перевозки оборудо-
вание не было повреждено. Размеры
духового шкафа и кухонного модуля
приведены на рисунке на следующей
странице.
Кухонные модули, контактирующие с
духовым шкафом, должны быть термо-
устойчивыми: т.е. рассчитаны на темпе-
ратуру не менее чем на 75 °C выше тем-
пературы окружающей среды во время
работы духового шкафа. Поместите ду-
ховой шкаф в выемку кухонного модуля,
подняв его за боковины и убедившись,
что кабель питания не зажат шкафом.
Для обеспечения надежной вентиляции
не допускайте перекрытия показанных
на рисунке вентиляционных отверстий.
Прикрепите духовой шкаф винтами к
кухонному модулю.
Перед установкой. Комментарии
Для распаковки духового
шкафа потяните за язычок, расположен-
ный в нижней части коробки, и для пере-
мещения держите духовой шкаф боко-
вые ручки, и никогда за дверную ручку.
В кухонном модуле должна
быть предусмотрена ниша в соответ-
ствии с размерами, указанными на ри-
сунке, минимальной глубиной 580 мм.
(См. Рисунки 4 и 5 с дополнительной
информацией о подключении духового
шкафа на странице 68).
Для закрепления духовых
шкафов в установочном положении
задняя часть кухонного модуля, соот-
ветствующего затемненной области на
Рисунке 6, не должна иметь каких-либо
выступов (элементов жесткости, труб, ро-
зеток и т.д.). (См. страницу 68).
Клеевой состав, используе-
мый для пластиковых покрытий кухон-
ной мебели, должен быть рассчитан на
температуры до 58 °C.
Содержание
- 18 ВАЖНОЕ ПРИМЕЧАНИЕ –
- 19 П Е Р Е Д П Р И М Е Н Е Н И Е М ДУХО В О гО Ш КАФА; НЕ ИСПОЛЬЗУйТЕ ДУХОВОй ШКАФ, КОгДА ЭЛЕКТРИЧЕСТВО ОТКЛЮЧЕНО!
- 20 Электронные часы/ таймер; Т И П Ы Р Е гУ Л Я Т О Р О В И И Х; Духовой шкаф оснащен электро-; Во время работы; Держа дверь закрытой, убедитесь
- 22 Вертел; Механический таймер
- 23 УСТАНОВКА ПРИБОРА
- 24 Установка духового шкафа; меры вырезов могут превышать указанные.; УСТАНОВКА
- 25 Место установки; ЭЛ Е КТ Р И Ч Е С К И Е СО Е Д И Н Е Н И Я
- 26 Настройка в зависимости
- 27 Замена инжектора горелки; Регулировка минимального
- 28 ТАБЛИЦА ПЕРЕХОДА С ОДНОгО ТИПА гАЗА НА ДРУгОй
- 29 Очистка дверцы
- 30 Очистите внутреннее стекло и дверь духового шкафа изнутри.
- 32 О О О «КУ П П Е Р С Б Е Р г-С Е Р В И С»; УС ТА Н О В КА, гА РА Н Т И й Н О Е И П О С Т гА РА Н Т И й Н О Е О Б С Л УЖ И В А Н И Е; Телефон горячей линии Kuppersberg:; Полный список авторизованных сервисынх центров Kuppersberg; УСЛОВИЯ гАРАНТИИ