Духовые шкафы Ascoli OB76S-23FD7W - инструкция пользователя по применению, эксплуатации и установке на русском языке. Мы надеемся, она поможет вам решить возникшие у вас вопросы при эксплуатации техники.
Если остались вопросы, задайте их в комментариях после инструкции.
"Загружаем инструкцию", означает, что нужно подождать пока файл загрузится и можно будет его читать онлайн. Некоторые инструкции очень большие и время их появления зависит от вашей скорости интернета.

10
Установка
времени
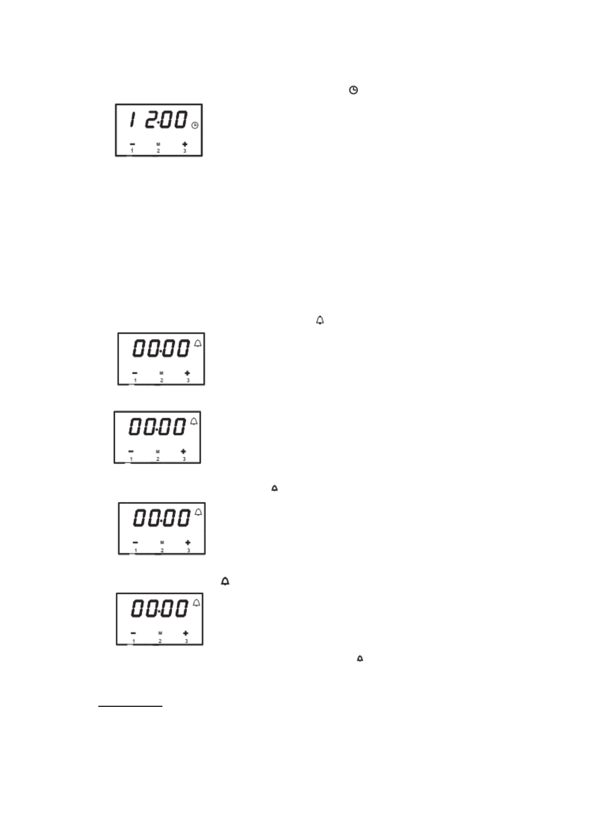
1.
При
включении
отображается
«12.00»
и
мигает
.
2.
Текущее
время
может
быть
установлено
с
помощью
кнопок
1
и
3,
через
5
секунд после установки
времени
,
новые данные
будут
сохранены.
Таймер
Таймер
может
быть
активирован
в
любое
время
и
с
любой
функцией
.
Время
может
быть
установлено
от
1
минуты до
23
часов
59
минут.
Чтобы
установить таймер
,
вы
должны:
1.
Нажать
кнопку
2,
мигает
лампочка
.
Ввести
настройки
таймера
.
2.
Установить таймер
,
используя кнопки
1
и
2.
3.
Через
5
секунд
после
установки
времени
или
непосредственно
нажать
кнопку
2,
функция сигнала
включена
.
Ваша
настройка сохранена
.
4.
Когда
установленное
время
истекло
,
звуковой
сигнал
будет
активирован
,
и
функция сигнала
снова
начнет
мигать.
5.
Нажмите
любую
кнопку
,
функция
сигнала
и
звуковой
сигнал
погаснут
.
Или
сигнал
тревоги автоматически
отключится
через
2
минуты
.
Внимание
!
Помимо
временного
сигнала
,
любые
сигналы
могут
быть
отключены
нажатием
любой
кнопки.
Если звуковой
сигнал
не
выключается
вручную
,
он
будет
выключен
автоматически
через
2
минуты
.
Характеристики
Остались вопросы?Не нашли свой ответ в руководстве или возникли другие проблемы? Задайте свой вопрос в форме ниже с подробным описанием вашей ситуации, чтобы другие люди и специалисты смогли дать на него ответ. Если вы знаете как решить проблему другого человека, пожалуйста, подскажите ему :)