Домофоны CTV DP1703, шампань CTV-DP1703 CH - инструкция пользователя по применению, эксплуатации и установке на русском языке. Мы надеемся, она поможет вам решить возникшие у вас вопросы при эксплуатации техники.
Если остались вопросы, задайте их в комментариях после инструкции.
"Загружаем инструкцию", означает, что нужно подождать пока файл загрузится и можно будет его читать онлайн. Некоторые инструкции очень большие и время их появления зависит от вашей скорости интернета.

15
www.ctvcctv.ru
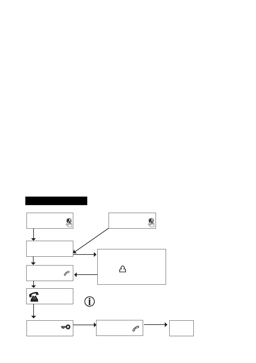
Режим ожидания
Если у вас установлена дополнитель-
ная камера, то нажмите
кнопку
и вы увидите изображение с нее.
Посетитель нажимает
кнопку вызова на
вызывной панели 1
Конец
Внутри и снаружи
раздаются сигналы вызова
Автоматически будет
показано видео с
вызывной панели
Нажмите кнопку
Сигнал вызова прекратится
Начните диалог
с посетителями
Время беседы не
может превышать
120 сек
Нажмите кнопку
для открывания
замка
Посетитель нажимает
кнопку вызова на
вызывной панели 2
Примечание
Видеодомофон автоматически перейдет в дежурный
режим через установленный период времени (параметр
«Время вызова» в экранном меню), если не последует от-
вета от вас посетителю.
Нажмите кнопку
В автоматическом режиме, монитор сохраняет одну фотографию сразу после
нажатия посетителем кнопки вызова на панели.
В ручном режиме, оператор может самостоятельно сохранить нужное число
фотографий - для этого нужно нажать на кнопку «Меню» столько раз, сколько
фотографий нужно сохранить.
Захват фотографий можно производить во время разговора с посетителем
или при просмотре видеоизображения с панелей и дополнительной камеры.
При сохранении фотографии, на экране монитора появляется надпись
«Фото».
В памяти монитора может храниться до 189 фотографий. После того, как па-
мять переполнится, каждая новая фотография будет автоматически сохраняться
вместо самой ранней, то есть в мониторе реализована функция циклической пе-
резаписи памяти.
Для просмотра фотографий, нужно зайти в раздел меню «Файлы» - «Фото»
и выбрать нужную фотографию из списка. Название фотографии имеет формат:
«ГГГГ-ММ-ДД - ЧЧ:ММ:СС». Справа от названия будет указан порядковый но-
мер фотографии. Под файлами фотографий будет указан номер страницы и об-
щее количество страниц.
ЭКСПЛУАТАЦИЯ
■ Вызов посетителя
*Требуется подключение двух вызывных панелей