Водонагреватели Neva Lux 6014 сж газ - инструкция пользователя по применению, эксплуатации и установке на русском языке. Мы надеемся, она поможет вам решить возникшие у вас вопросы при эксплуатации техники.
Если остались вопросы, задайте их в комментариях после инструкции.
"Загружаем инструкцию", означает, что нужно подождать пока файл загрузится и можно будет его читать онлайн. Некоторые инструкции очень большие и время их появления зависит от вашей скорости интернета.

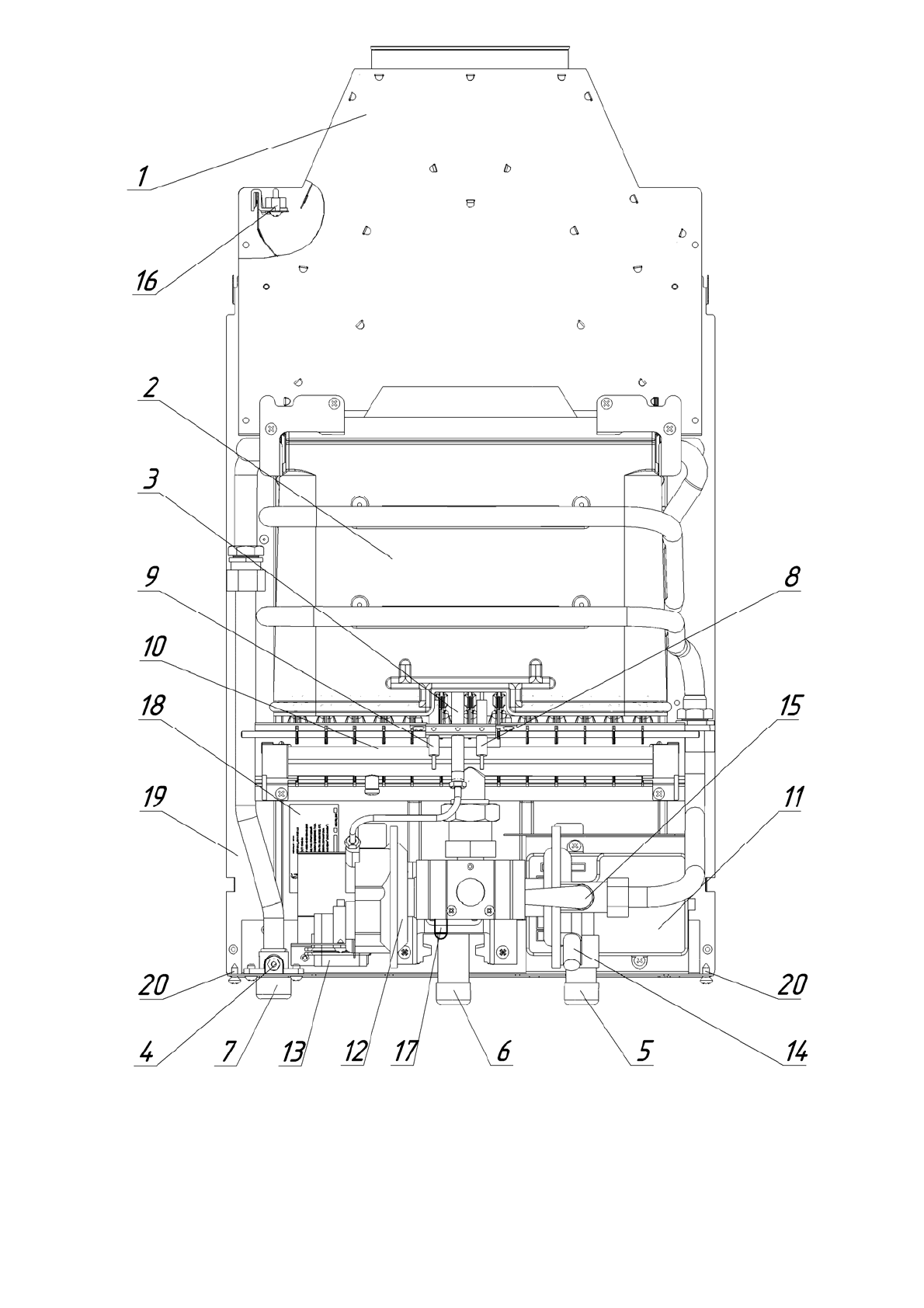
1 –
газоотводящее
устройство
; 2 –
теплообменник
; 3 –
горелка
запальная
; 4 –
датчик
температуры
воды
;
5 –
штуцер
подвода
холодной
воды
; 6 –
штуцер
подвода
газа
; 7 –
штуцер
отвода
горячей
воды
;
8 –
датчик
наличия
пламени
; 9 –
свеча
; 10 –
горелка
основная
; 11 –
блок
управления
электронный
; 12 –
узел
водогазовый
;
13 –
отсек
батарейный
; 14 –
пробка
для
слива
воды
; 15 –
кран
расхода
воды
(
находится
под
облицовкой
);
16 –
термореле
(
датчик
тяги
); 17 –
штуцер
для
измерения
входного
давления
газа
; 18 –
табличка
; 19 –
задняя
стенка
;
20 –
винты
крепления
облицовки
.
Рисунок
2.
Вид
аппарата
без
облицовки
6













