Водонагреватели Kospel SW-140 - инструкция пользователя по применению, эксплуатации и установке на русском языке. Мы надеемся, она поможет вам решить возникшие у вас вопросы при эксплуатации техники.
Если остались вопросы, задайте их в комментариях после инструкции.
"Загружаем инструкцию", означает, что нужно подождать пока файл загрузится и можно будет его читать онлайн. Некоторые инструкции очень большие и время их появления зависит от вашей скорости интернета.

.DUVWƗnjGHQVWYHUWƼX6%6%=6:6:=X]EnjYH
16
15
13
14
12
10
11
20
21
17
18
ZW
PG1
6
ZG1
PG2
C
6
ZG2
CW
ø695 (250, 300)
ø755 (400)
G3/4
G1
A
B
G1/2
C
D
E
F
G
H
G3/4
G1
G1
G1/2
G1
G3/4
3DODLãDQD
3LUPV NDUVWƗ njGHQV WYHUWQHV SDODLãDQDV YL
]XƗOLMƗSƗUEDXGDWƗSLHYLHQRMXPLXQDWELOVWƯED
PRQWƗåDVVKƝPƗPLQVWUXNFLMƗ
.DUVWƗ njGHQV WYHUWQH MƗSLHSLOGD DU njGHQL
VHNRMRãƗYHLGƗ
DWYƝUWDXNVWƗnjGHQVSDGHYHVQRVOƝJYHQWLOL
DWYƝUWNDUVWƗnjGHQVL]HMDVQRVOƝJYHQWLOL
njGHQVVWUnjNODEH]JDLVDEXUEXƺLHPOLH
FLQDSDUSLHSLOGƯWXWYHUWQL
DL]YƝUWNDUVWƗnjGHQVL]HMDVQRVOƝJYHQWLOL
$WYƝUW VLOWXPQHVƝMD SDGHYHV QRVOƝJYHQWLOL
3ƗUEDXGƯWnjGHQVFDXUXƺXXQVLOWXPQHVƝMDFDX
UXƺXKHUPƝWLVNXPX3ƗUEDXGƯWGURãƯEDVYƗU
VWDGDUEXVDVNDƼƗDUUDåRWƗMDLQVWUXNFLMX
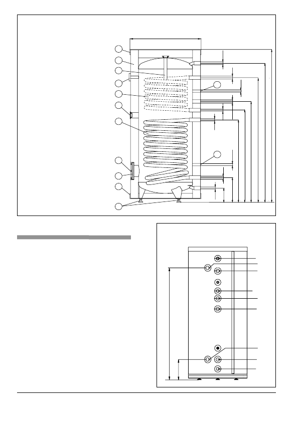
>@ GHYƝMDþDXOD
>@ YƯWQHVDWYƝUXPVWHQDPDUWHUPRVWDWX
NRUƷLVò´
>@ DSDNãƝMDLVVLOWXPPDLQLV
>@ DXJãƝMDLVVLOWXPPDLQLV
>@ PDJQLMDDQRGV
>@ WHUPRPHWUV
>@ WHUPLVNƗL]ROƗFLMD
>@ DXJãƝMDLVDSYDONV
>@ DSDNãƝMDLVDSYDONV
>@ NƗMDV
>@ WƯUƯãDQDVDWYHUH
>@ WƯUƯãDQDVDWYHUHVYƗNV
=: DXNVWDLVnjGHQV
&: NDUVWDLVnjGHQV
& FLUNXOƗFLMD
=*=*VLOWXPQHVƝMDLHHMD
3*3*VLOWXPQHVƝMDL]HMD
$, QRUƗGƯWLH L]PƝUL WDEXOƗ Ä7HKQLVNLH
GDWL´
I
B
CW
ZG3(1”)
ZG2
C
PG2
ZG1
PG3(1”)
PG1
ZW
9ƯWƼXDWYƝUXPX6:=XQ6%=QRYLHWRMXPVODL
SLHVOƝJWXSDSLOGXVWYHUWQLNDUVWƗnjGHQVWYHUWQHL
$XJãƝMDLV VLOWXPPDLQLV YƯWƼX
DWYƝUXPL =* 3* XQ DXJãƝMƗ
GHYƝMD þDXOD LU WLNDL PRGHƺLHP
6%XQ6%=

