Водонагреватели Kospel SW-140 - инструкция пользователя по применению, эксплуатации и установке на русском языке. Мы надеемся, она поможет вам решить возникшие у вас вопросы при эксплуатации техники.
Если остались вопросы, задайте их в комментариях после инструкции.
"Загружаем инструкцию", означает, что нужно подождать пока файл загрузится и можно будет его читать онлайн. Некоторые инструкции очень большие и время их появления зависит от вашей скорости интернета.

&RQVWUXFWLRQGHSUpSDUDWHXUV6%6%=6:6:=OLWUHV
16
15
13
14
12
10
11
20
21
17
18
ZW
PG1
6
ZG1
PG2
C
6
ZG2
CW
ø695 (250, 300)
ø755 (400)
G3/4
G1
A
B
G1/2
C
D
E
F
G
H
G3/4
G1
G1
G1/2
G1
G3/4
/DPLVHHQVHUYLFH
$YDQWODPLVHHQVHUYLFHGXSUpSDUDWHXUYp
UL¿HURSWLTXHPHQWOD¿DELOLWpGHFRQQH[LRQGH
O¶DSSDUHLOHWVDFRQIRUPLWpDYHFOHVVFKpPDV
3UpSDUDWHXULOIDXWUHPSOLUG¶HDX
RXYULUODYDQQHG¶DUULYpHG¶HDXIURLGH
RXYULUOHURELQHWG¶HDXFKDXGHG¶XQSRLQW
GHSXLVDJHVRUWLHG¶HDXVDQVEXOOHVG¶DLU
VLJQLILH TXH OH SUpSDUDWHXU HVW HQWLqUH
PHQWUHPSOLG¶HDX
IHUPHU OH URELQHW G¶HDX FKDXGH GHV
SRLQWVGHSXLVDJH
2XYUH] OHV YDQQHV GH OLDLVRQ G¶LQVWDOODWLRQ
VRODLUH HW FKDXIIDJH DYHF OH SUpSDUDWHXU
9pULILHU OH VHUUDJH GHV FRQQH[LRQV 9pULILHU
OHIRQFWLRQQHPHQWGHODVRXSDSHGHVpFXULWp
FRQIRUPpPHQWDX[LQVWUXFWLRQVGXIDEULFDQW
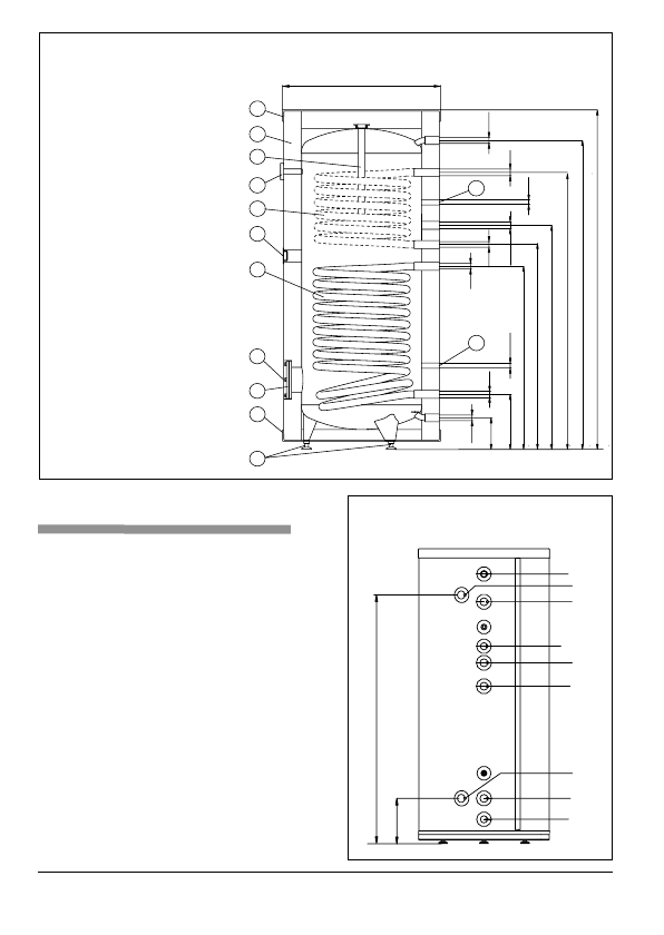
>@ GRLJWGHJDQW
>@ RUL¿FH SRXU WKHUPRSORQJHXU ERX
FKRQò¶¶
>@ VHUSHQWLQFKDXIIDQWLQIpULHXU
>@ VHUSHQWLQFKDXIIDQWVXSpULHXU
>@ DQRGHHQPDJQpVLXP
>@ WKHUPRPqWUH
>@ LVRODWLRQWKHUPLTXH
>@ FRXYHUFOHVXSpULHXU
>@ FRXYHUFOHLQIpULHXU
>@ SLHGV
>@ WUDSSHGHYLVLWH¡
>@ FRXYHUFOHGHWUDSSHGHYLVLWH
=: HDXIURLGH
&: HDXFKDXGH
& FLUFXODWLRQ
=*=*HQWUHVHUSHQWLQ
3*3*VRUWLHVHUSHQWLQ
$, OHV GLPHQVLRQV LQGLTXpHV GDQV OH
WDEOHDXÄ'RQQpHVWHFKQLTXH´
I
B
CW
ZG3(1”)
ZG2
C
PG2
ZG1
PG3(1”)
PG1
ZW
(PSODFHPHQWGHVUDFFRUGVSRXUFRQQH[LRQ
G¶XQHSUpSDUDWHXUH[WHUQHGDQV6:=HW6%=
6HUSHQWLQ VXSpULHXU UDFFRUGV
=* 3* HW GRLJW GH JDQW VX
SpULHXUVHWURXYHQWTXHGDQVOHV
PRGqOHV6%HW6%=

