Водонагреватели American Water Heater MOR-FLO 189л GX61-50T40-3NV - инструкция пользователя по применению, эксплуатации и установке на русском языке. Мы надеемся, она поможет вам решить возникшие у вас вопросы при эксплуатации техники.
Если остались вопросы, задайте их в комментариях после инструкции.
"Загружаем инструкцию", означает, что нужно подождать пока файл загрузится и можно будет его читать онлайн. Некоторые инструкции очень большие и время их появления зависит от вашей скорости интернета.

31
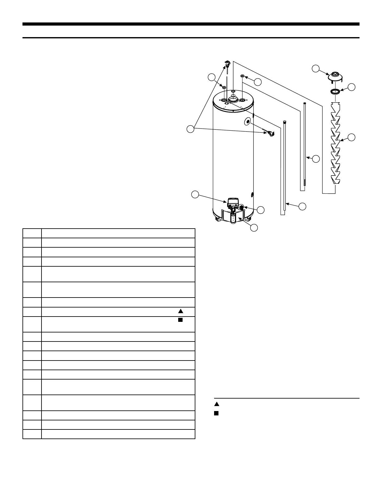
ИЛЛЮСТРАЦИИ ЗАПАСНЫХ ЧАСТЕЙ
1
2
3
4
8
5
10
11
9
7
6
N°
Описание детали
1
ВЫТЯЖНОЙ КОЛПАК
2
ПЕРЕХОДНОЕ КОЛЬЦО - НА НЕКОТОРЫХ МОДЕЛЯХ
3
ТУРБУЛИЗАТОР
4
ТЕПЛОВА ЛОВУШКА (ВХОД) - НА НЕКОТОРЫХ
МОДЕЛЯХ
5
ТЕПЛОВАЯ ЛОВУШКА (ВЫХОД) - НА НЕКОТОРЫХ
МОДЕЛЯХ
6
ПОГРУЖНАЯ ТРУБА ХОЛОДНОЙ ВОДЫ
7
АНОДНЫЙ СТЕРЖЕНЬ
8
ПРЕДОХРАНИТЕЛЬНЫЙ КЛАПАН ДАВЛЕНИЯ И
ТЕМПЕРАТУРЫ (СВЕРХУ ИЛИ СБОКУ)
9
ДРЕНАЖНЫЙ ВЕНТИЛЬ
10
РЕГУЛЯТОР РАСХОДА ГАЗА/ТЕРМОСТАТ
10
МОДУЛЬ УПРАВЛЕНИЯ
11
ВНЕШНЯЯ ДВЕРКА
12A*
СБОРОЧНЫЙ КОМПЛЕКТ ПИЛОТА/ТЕРМОЭЛЕМЕНТА
12B*
СБОРОЧНЫЙ КОМПЛЕКТ ПИЛОТА/ТЕРМОЭЛЕМЕНТА
(для сжиженного газа)
13A*
ГОРЕЛКА (для природного газа/с низким выбросом
оксидов азота)
13B*
ГОРЕЛКА ДЛЯ СЖИЖЕННОГО ГАЗА
14A*
СВЯЗКА ПОДВОДЯЩИХ ТРУБОК
14B*
СВЯЗКА ПОДВОДЯЩИХ ТРУБОК (для сжиженного газа)
*Иллюстрации находятся на следующей странице.
При заказе запасных частей всегда предоставляйте
следующую информацию:
1.
Номер модели, серийный номер и номер изделия
2. Тип
газа
3. Номер
позиции
4. Описание
детали
Список запасных частей
УСЛОВНЫЕ ОБОЗНАЧЕНИЯ
Специальный анодный стержень (см. стр. 22)
Необходим предохранительный клапан давления и
температуры, но он может быть не установлен на
заводе
Здравствуйте !
4 раза моргает лампочка на автоматике. Перегрев.
После остывания в нормальный режим не входит.