Видеокамеры Sony DCR-DVD110E / DCR-DVD115E - инструкция пользователя по применению, эксплуатации и установке на русском языке. Мы надеемся, она поможет вам решить возникшие у вас вопросы при эксплуатации техники.
Если остались вопросы, задайте их в комментариях после инструкции.
"Загружаем инструкцию", означает, что нужно подождать пока файл загрузится и можно будет его читать онлайн. Некоторые инструкции очень большие и время их появления зависит от вашей скорости интернета.

130
RU
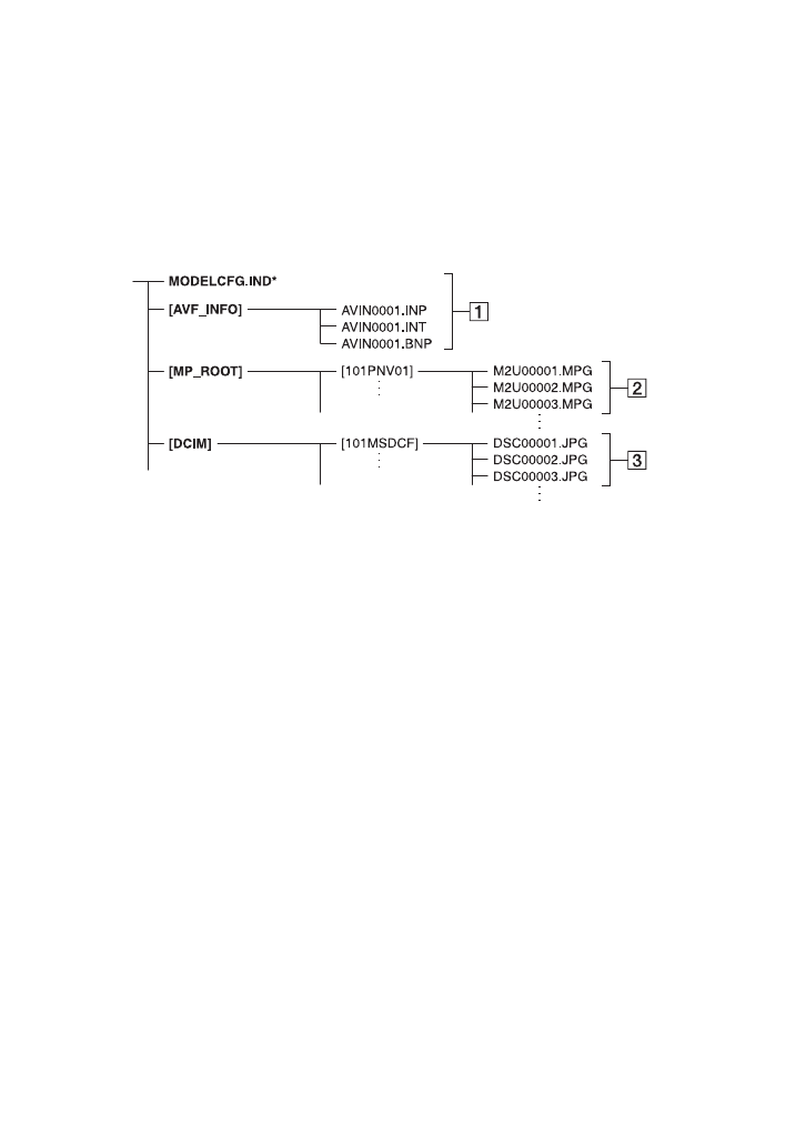
Стру
ктура файлов и папок во внутренней
памяти (DCR-DVD410E/DVD810E) или карте
памяти “Memory Stick PRO Duo”
Структура файлов/папок показана ниже. Во время записи/воспроизведения
изображений на видеокамере обычно у вас нет необходимости знать структуру
файлов/папок. Для просмотра неподвижных изображений или фильмов на
компьютере, см. “Руководство по PMB” на прилагаемом CD-ROM, а затем
используйте прилагаемую прикладную программу.
A
Ф
айлы баз данных
изображений
В случае удаления этих файлов
запись/воспроизведение
изображений будет выполняться
неправильно. По умолчанию эти
файлы скрыты и обычно не
отображаются.
B
Файлы фильмов (файлы
MPEG2)
Расширение файлов - “.MPG”.
Максимальный размер составляет
2 ГБ. Если размер файла превысит
2 ГБ, файл будет разделен на
части.
Номера файлов увеличиваются
автоматически. Когда число
файлов превысит 9999, будет
создана другая папка для записи
новых файлов фильмов.
Имена папок назначаются по
нарастающей: [101PNV01]
t
[102PNV01]
C
Файлы неподвижных
изображений (файлы JPEG)
Расширение файлов - “.JPG”.
Номера файлов увеличиваются
автоматически. Когда число
файлов превысит 9999, будет
создана другая папка для
сохранения новых файлов
изображений.
Имена папок назначаются по
нарастающей: [101MSDCF]
t
[102MSDCF]
• Вы можете получить доступ к носителю в
видеокамере с компьютера,
подключенного с помощью USB-кабеля
(стр. 109).
• Не изменяйте файлы или папки на
видеокамере с компьютера. Файлы
изображений могут быть повреждены
или не смогут быть воспроизведены.
• Мы, (компания Sony), не будем нести
ответственности за результаты
обращения с данными на носителе в
видеокамере с компьютера.
• При удалении файлов изображений
выполните действия, указанные на cтр.
56. Не удаляйте файлы изображений на
*
Только внутренняя память (DCR-DVD410E/DVD810E)
Содержание
- 2 Прочтите перед работой с видеокамерой; Перед использованием устройства; ПРЕДУПРЕЖДЕНИЕ; XXXXX
- 3 ДЛЯ ПОКУПАТЕЛЕЙ В
- 4 Прочтите перед работой с видеокамерой (продолжение); Note; Примечания по
- 5 Использование видеокамеры
- 8 Оглавление
- 9 Использование носителей
- 10 Огла; Краткий справочник
- 11 Примеры снимаемых объектов и решения; Съе
- 12 Ис; фильмов и неподвижных изображений, вы можете воспользоваться; Выбор носителя
- 13 осители для вашей видеокамеры; DL или на карты памяти “Memory Stick PRO Duo”. Типы карт памяти “Memory; Формат записи на диск DVD-RW
- 14 Носители для вашей видеокамеры (продолжение); Особенности диска
- 15 Советы; Время записи видеофильмов; Тип носителя
- 16 Вы; Вы можете выбрать отдельные носители для фильмов и неподвижных; Да; Редактирование/сохранение изображений; Доступные функции зависят от выбранного носителя.
- 17 Просмотр на других устройствах; Для воспроизведения диска, записанного на видеокамеру с помощью; Совместимость воспроизведения
- 18 - Преимущества двух типов меню; Категории и позиции HOME MENU; HOME MENU” - начальное меню для выполнения
- 19 Прикоснитесь к; Использование HOME
- 20 Отключение HELP; Использование OPTION; HOME”
- 21 Подготовка к эксплуатации; Действие 1: Проверка комплектации; Убедитесь, что в комплект поставки
- 22 Примечания; Откройте крышку гнезда и
- 23 Извлечение батареи; Время зарядки
- 24 Время записи; использовании полностью; При записи на диск
- 25 Время воспроизведения; При воспроизведении диска
- 27 ействие 3: Включение питания и установка
- 28 Выключение питания; Поверните переключатель POWER в; около 3 месяцев; Изменение установки
- 29 Действие 4: Настройка перед записью; Снятие крышки с
- 30 Настройка видоискателя; Крепление ремня для
- 31 Действие 5: Выбор носителя; Выбор носителя для
- 32 рикоснитесь к
- 33 в “Действии 5”, вы можете; На экране отобразится; Вставка диска
- 34 акройте крышку отсека для; Для извлечения диска
- 35 Установка карты памяти
- 38 Фильмы; Неподвижные изображения; На экране
- 39 Прикоснитесь ко вкладке
- 40 Неподвижные изображения:
- 41 Кнопки, недоступные в
- 42 DCR; При установках по умолчанию, фильмы и неподвижные изображения
- 43 Для остановки записи снова
- 44 За; Масштабирование; Изображение крупным планом:; Запись звука с большей
- 45 Быстрая запись (QUICK; QUICK ON; Запись при
- 46 Регулировка экспозиции
- 47 оспроизведение; Поверните переключатель POWER; На экране ЖКД появится надпись VISUAL INDEX. (Отображение ярлыков
- 48 Начните воспроизведение.; возвращается к VISUAL INDEX.
- 49 Регулирование громкости звучания фильмов; При воспроизведении фильма, дотроньтесь до
- 50 Поиск сцен с высокой
- 51 Поиск нужных
- 52 Использование
- 55 Редактирование; УДАЛИТЬ; Список позиций
- 56 Удаление фильмов
- 57 акт; Удаление неподвижных
- 58 Удал
- 61 Перенесение фильмов
- 63 Копирование
- 65 Разделение фильмов; Прико
- 66 Создание списка воспроизведения
- 67 Воспроизведение списка
- 68 Создание списка воспроизведения (продолжение)
- 69 Воспроизведение и пауза
- 70 Подключение устройства с помощью соединительного
- 71 Включите видеокамеру.
- 72 Подключение устройства
- 74 Завершение печати
- 75 Эта категория позволяет вам; ЗАКРЫТЬ
- 76 устройствах и приводах DVD компьютеров.; Закрытие сессий записи требуется в зависимости от типа диска.; за исключением; Для воспроизведения диска на других устройствах впервые; Последовательность операций; дение на других; Закрытие
- 77 Для добавления фильмов на диск с закрытыми сессиями; Для воспроизведения диска на других устройствах после; Сделайте новую
- 78 Для выбора стиля меню DVD; Закрытие сессий записи
- 79 Во; Воспроизведение диска
- 80 Метка тома диска; Пр
- 81 Фо; Форматирование
- 83 пи; Если вы используете
- 84 По
- 87 Настройка видеокамеры; Для чего можно использовать категорию; я вашего удобства вы можете; для
- 89 для за; Способ настройки; РЕЖИМ ЗАПИСИ; АУДИОРЕЖИМ
- 90 ВЫКЛ; STEADYSHOT
- 91 ВКЛ; Значки лиц и их значение; КОНТР РАМКА
- 93 НОМЕР ФАЙЛА
- 94 КОД ДАННЫХ; ДАТА КАМЕРЫ
- 95 МАСШТАБ; ОТОБРАЗИТЬ; Позиции д; ГРОМКОСТЬ
- 96 НОРМАЛЬНЫЙ; УР ПОДСВ LCD
- 97 Позиции; LCD; ТИП ЭКРАНА
- 98 РЕЖИМ ДЕМО; НИКОГДА; АВТОВЫКЛ
- 99 Вклю
- 100 Позиции записи в OPTION; Просмотр позиций в
- 101 Функ; ФОКУСИРОВКА
- 102 ТЕЛЕМАКРО
- 103 Вы можете эффективно записывать; ВЫБОР СЦЕНЫ
- 104 СНЕГ; АВТО; БАЛАНС БЕЛ
- 105 БЕЛЫЙ ФЕЙДЕР; COLOR SLOW SHTR
- 106 ЦИФР ЭФФЕКТ
- 107 бота с компьютером; Что; Создание диска DVD; Установка программного
- 108 Процедура установки; Если экран не появился
- 109 • Для запуска “Picture Motion
- 110 Отключение USB-кабеля
- 111 Поиск и устранение неисправностей; Питание не включается.; Общие функции/работа в
- 112 Видеокамера вибрирует.
- 113 питания
- 114 Невозможно извлечь диск.; Носитель
- 115 См. также раздел “Носитель”; Запись останавливается.; Запись
- 117 Воспроизведение
- 118 отображается на
- 120 льмы нельзя разделять.; Подключение/перезапись
- 121 В следующем списке содержатся; Подключение к
- 122 Поиск и устранение неисправностей (продолжение)
- 123 Предупре; Медленное мигание; Индикация
- 125 Если на экране появляются; Запись на диск отключена.; Описание
- 126 Неподдерживаемый формат.
- 127 PictBridge-совместимый; Дальнейший выбор невозможен.
- 128 Дополнительная информация; Источник питания
- 129 Настройка местного времени; местное время путем установки разницы во времени. Прикоснитесь к; Разница во времени в различных регионах мира
- 130 айлы баз данных
- 132 Примечания по эксплуатации; Запись на сторону А; Расположите диск, направив его; О диске
- 133 Уход и хранение дисков; О карте памяти “Memory
- 134 од и; Адаптер для Memory Stick Duo
- 135 Зарядка батареи; О батарее “InfoLITHIUM”
- 136 Обращение с
- 137 Конденсация влаги; Если возникла конденсация
- 138 Предотвращение конденсации; Экран ЖКД; Очистка экрана ЖКД; Обращение с корпусом
- 139 Чистка видеокамеры внутри; Удаляйте скопления пыли внутри
- 140 месяца
- 141 ех
- 143 Перезаряжаемая батарея NP-
- 145 раткий справочник; Ид
- 147 Active Interface Shoe
- 148 Кнопки
- 149 При неправильном обращении
- 150 Запись фильмов
- 151 Левый верхний угол; Индикация при внесении
- 152 Кодирование данных во
- 153 оссарий
- 154 ИСЛЕННЫЕ
- 156 Указ












