Утюги Ardesto IR-C2230 - инструкция пользователя по применению, эксплуатации и установке на русском языке. Мы надеемся, она поможет вам решить возникшие у вас вопросы при эксплуатации техники.
Если остались вопросы, задайте их в комментариях после инструкции.
"Загружаем инструкцию", означает, что нужно подождать пока файл загрузится и можно будет его читать онлайн. Некоторые инструкции очень большие и время их появления зависит от вашей скорости интернета.

5
UA
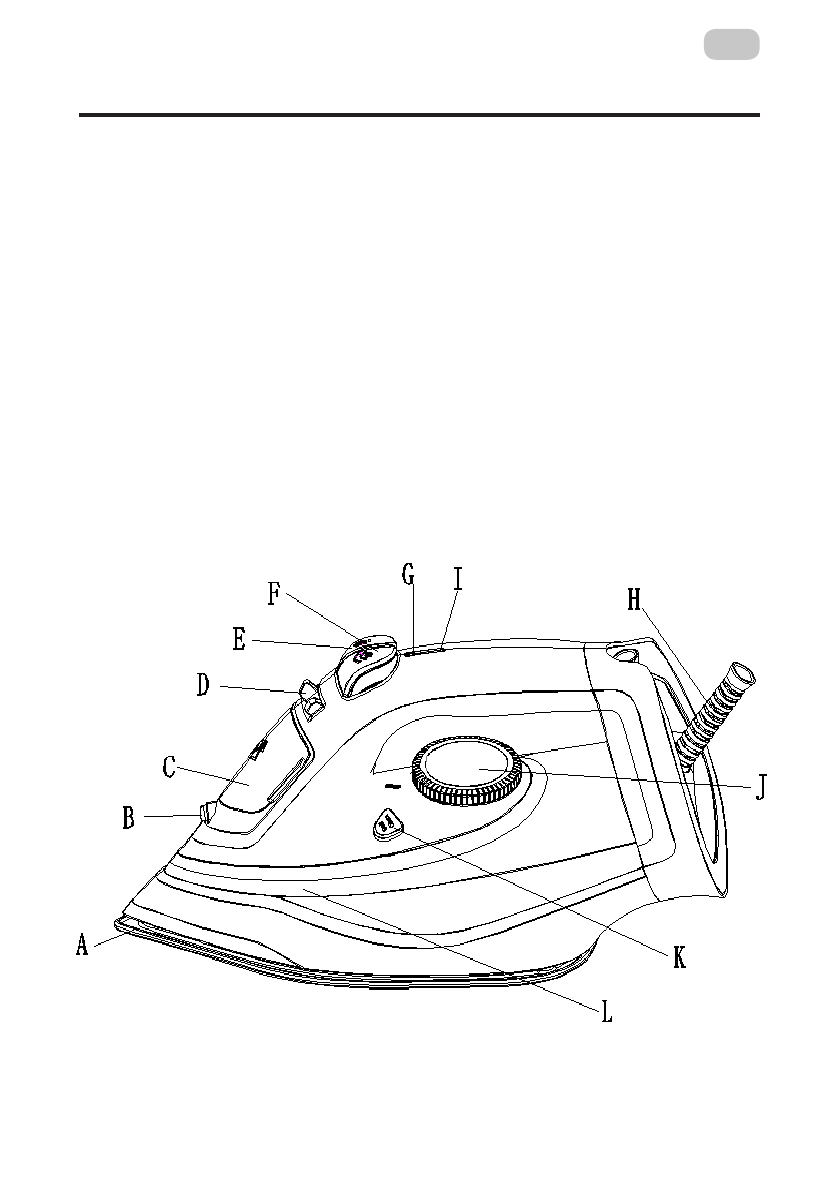
БУДОВА ПРИСТРОЮ
A. Підошва
B. Випускний отвір розпилювача
C. Кришка резервуара для води
D. Регулятор пари
E. Кнопка розпилення води
F. Кнопка парового удару
G. Індикатор живлення
H. Обмотка шнура живлення
I. Контрольний індикатор температури
J. Ручка терморегулятора
K. Кнопка самоочищення
L. Позначка максимального рівня води
2
Cords rated for less amperage may overheat. Care should be taken to arrange the
cord so that it cannot be pulled or tripped over.
SAVE THESE INSTRUCTIONS
More specifically:
DO NOT
let children or untrained persons use the appliance without supervision.
NEVER
immerse the iron, cable or plug in any liquid.
DO NOT
leave the hot iron touching fabrics or very inflammable surfaces.
DO NOT
leave the appliance unnecessarily plugged in. Disconnect the plug from
the mains when the appliance is not being used.
NEVER
touch the appliance with wet or damp hands.
DO NOT
use the power cord or the appliance in order to pull the plug out of the
socket.
DO NOT
leave the appliance exposed to the weather (rain, sun, etc. ).
DO NOT
leave the iron without supervision when it is connected to the power
supply.
DO NOT
fill the reservoir with water before removing the plug from the socket.
PLEASE NOTE!
Do not use chemical additive, scented substances or decalcifiers. Failure to
comply with the above-mentioned regulations leads to the loss of guarantee.
D E S C R I P T I O N O F D E V I C E
(A).
Soleplate
(C).
Filler door
(E).
Spray button
(G).
PCB light
(I).
Plate temperature control light
(K).
Self-cleaning button
ANTI-CALC SYSTEM
A special resin filter inside the water reservoir softens the water and prevents scale
build-up in the plate. The resin filter is permanent and does not need replacing.
Please note:
Use tap water only. Distilled and/demineralised water makes the
“
Zero-Calc
”
anti-calc system ineffective by altering its physicochemical
(B).
Spray organ
(D).
Steam dial
(F).
Shot-steam button
(H).
Cord bushing
(J).
Thermostat knob for temper
(L).
Maximum filling level
Зображення пристрою наведені виключно для ознайомлення. Реальний пристрій може трохи
відрізнятися від зображеного. Приймати в розрахунок необхідно реальні конструктивні особли-
вості пристрою.
Характеристики
Остались вопросы?Не нашли свой ответ в руководстве или возникли другие проблемы? Задайте свой вопрос в форме ниже с подробным описанием вашей ситуации, чтобы другие люди и специалисты смогли дать на него ответ. Если вы знаете как решить проблему другого человека, пожалуйста, подскажите ему :)