Усилители Yamaha EMX-5016CF - инструкция пользователя по применению, эксплуатации и установке на русском языке. Мы надеемся, она поможет вам решить возникшие у вас вопросы при эксплуатации техники.
Если остались вопросы, задайте их в комментариях после инструкции.
"Загружаем инструкцию", означает, что нужно подождать пока файл загрузится и можно будет его читать онлайн. Некоторые инструкции очень большие и время их появления зависит от вашей скорости интернета.

20
EMX5016CF Ðóêîâîäñòâî ïîëüçîâàòåëÿ
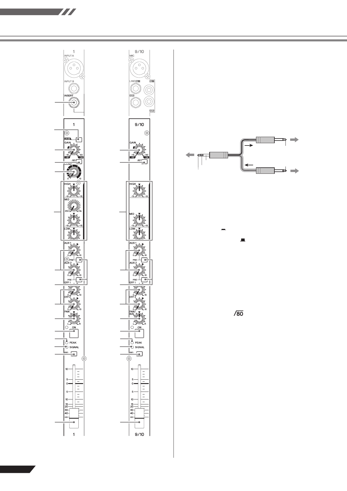
Каналы
1-8
(
Моно
)
Каналы
9/10 и 15/16
(Стерео)
/"
Ãíåçäî INSERT I/O (êàíàëû 1 - 8)
Êàæäîå èç ýòèõ ãíåçä óñòàíîâëåíî ìåæäó ýêâàëàéçåðîì è
ôåéäåðîì ñîîòâåòñòâóþùåãî âõîäíîãî êàíàëà (1 - 8). Âû
ìîæåòå èñïîëüçîâàòü ýòè ãíåçäà äëÿ ïîäêëþ÷åíèÿ êàíàëîâ ê
óñòðîéñòâàì òèïà ãðàôè÷åñêèõ ýêâàëàéçåðîâ, êîìïðåññîðîâ
è øóìîïîäàâèòåëåé. Ýòè ãíåçäà - TRS (íàêîíå÷íèê, êîëüöî,
ðóêàâ) øòåêåðíûå ãíåçäà, êîòîðûå ïîääåðæèâàþò äâóíàïðàâ-
ëåííóþ îïåðàöèþ.
ÏÐÈÌÅ×ÀÍÈÅ:
Ïîäêëþ÷åíèå ê ãíåçäó INSERT I/O òðåáóåò ñïåöèàëüíîãî
îòäåëüíî ïðèîáðåòàåìîãî êàáåëÿ âñòàâêè - Yamaha YIC025,
YIC050 èëè YIC070 (ñì. íèæå).
К входному гнезду
внешнего процессора
К выходному гнезду
внешнего процессора
Sleeve (Ground)
Наконечник:
OUT (выход)
Наконечник:
IN (вход)
К гнезду INSERT I/O
Sleeve (Ground)
Рукав (Земля)
Кольцо: IN (вход)
Наконечник: OUT (выход)
0"
Ïåðåêëþ÷àòåëü [26 äÁ] (êàíàëû 1 - 8)
Íàæàòèå ýòîé êíîïêè âêëþ÷àåò àòòåíþàòîð äëÿ êàæäîãî
êàíàëà, óìåíüøàÿ âõîäíîé óðîâåíü ñèãíàëà íà 26 äÁ. Åñëè Âû
ïîäêëþ÷èëè óñòðîéñòâî ëèíåéíîãî óðîâíÿ, òèïà êëàâèàòóðû
èëè àóäèî óñòðîéñòâà, óñòàíîâèòå ïåðåêëþ÷àòåëü êàíàëà â
ïîëîæåíèå ON (
). Åñëè Âû ïîäêëþ÷èëè ìèêðîôîí èëè äðó-
ãîå óñòðîéñòâî ìèêðîôîííîãî óðîâíÿ, óñòàíîâèòå ïåðåêëþ-
÷àòåëü â ïîëîæåíèå OFF (
).
1"
Ðåãóëÿòîð GAIN
Ðåãóëèðóåò óðîâåíü âõîäíîãî ñèãíàëà. ×òîáû îáåñïå÷èòü
îïòèìàëüíûé áàëàíñ ìåæäó ñîîòíîøåíèåì “ñèãíàë-øóì” è
äèíàìè÷åñêèì äèàïàçîíîì, îòðåãóëèðóéòå óðîâåíü ñèãíàëà
òàê, ÷òîáû èíäèêàòîð PEAK
:
çàãîðàëñÿ òîëüêî ïðè ìàêñè-
ìàëüíîì óðîâíå âõîäíîãî ñèãíàëà. Øêàëà îò -60 äî -16 ïîêà-
çûâàåò óðîâåíü ðåãóëèðîâêè ìèêðîôîííîãî âõîäíîãî ñèãíàëà
- MIC. Øêàëà îò -34 äî +10 ïîêàçûâàåò óðîâåíü ðåãóëèðîâêè
ëèíåéíîãî âõîäíîãî ñèãíàëà - LINE.
2"
Ïåðåêëþ÷àòåëü
(Ôèëüòð Âûñîêîé ×àñòîòû)
Âêëþ÷àåò/âûêëþ÷àåò ôèëüòð âåðõíèõ ÷àñòîò (HPF). Íàæìèòå
êíîïêó ïåðåêëþ÷àòåëÿ äëÿ âêëþ÷åíèÿ ôèëüòðà. Ôèëüòð âåðõ-
íèõ ÷àñòîò îòñåêàåò ÷àñòîòû íèæå 80 Ãö. (Îáðàòèòå âíèìàíèå,
÷òî íåçàâèñèìî îò óñòàíîâêè ïåðåêëþ÷àòåëÿ, ìèêøåð íå
ïðèìåíÿåò ýòîò HPF ê ëèíåéíûì âõîäàì ñòåðåîêàíàëîâ.)
3"
Ðåãóëÿòîð COMP (êàíàëû 1 - 8)
Ýòîò ðåãóëÿòîð óñòàíàâëèâàåò óðîâåíü êîìïðåññèè (ñæàòèÿ)
ñèãíàëà ïîñòóïàþùåãî íà êàíàë. Ïðè ïîâîðîòå ðåãóëÿòîðà
âïðàâî, ìèêøåð àâòîìàòè÷åñêè ïîäíèìàåò êîýôôèöèåíò
êîìïðåññèè, ñîîòâåòñòâåííî ðåãóëèðóÿ âûõîäíîå óñèëåíèå.
Ðåçóëüòàò - áîëåå óçêèé äèíàìè÷åñêèé äèàïàçîí èç-çà ñìÿã-
÷åíèÿ ãðîìêèõ ñèãíàëîâ è óâåëè÷åíèÿ îáùåãî óðîâíÿ.
ÏÐÈÌÅ×ÀÍÈÅ:
Ñòàðàéòåñü èçáåãàòü âûñîêèõ óñòàíîâîê, ïîñêîëüêó áîëü-
øàÿ êîìïðåññèÿ ñèãíàëà ìîæåò ïðèâåñòè ê çíà÷èòåëüíîìó
èñêàæåíèþ çâó÷àíèÿ.
Ïàíåëü óïðàâëåíèÿ è çàäíÿÿ ïàíåëü
Ñïðàâî÷íîå Ðóêîâîäñòâî



