Триммеры Hitachi CG 40 EYA (TP) - инструкция пользователя по применению, эксплуатации и установке на русском языке. Мы надеемся, она поможет вам решить возникшие у вас вопросы при эксплуатации техники.
Если остались вопросы, задайте их в комментариях после инструкции.
"Загружаем инструкцию", означает, что нужно подождать пока файл загрузится и можно будет его читать онлайн. Некоторые инструкции очень большие и время их появления зависит от вашей скорости интернета.

GB-5
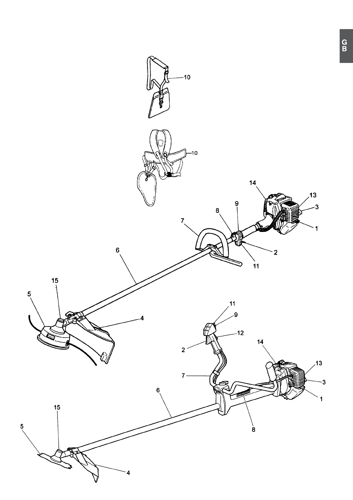
1. What is what?
Since this manual covers several models, there may
be some difference between pictures and your unit.
Use the instructions that apply to your unit.
1. Fuel cap
2. Throttle trigger
3. Starter handle
4. Blade guard
5. Cutting attachment
6. Drive shaft tube
7. Handle bar
8. Suspension eyelet
9. Ignition switch
10. Harness
11. Throttle lock
12. Throttle trigger lookout
13. Choke lever
14. Engine
15. Angle transmission
CG40EK (LP)
CG40EYA (TP)
Характеристики
Остались вопросы?Не нашли свой ответ в руководстве или возникли другие проблемы? Задайте свой вопрос в форме ниже с подробным описанием вашей ситуации, чтобы другие люди и специалисты смогли дать на него ответ. Если вы знаете как решить проблему другого человека, пожалуйста, подскажите ему :)