Тепловые завесы Тепломаш КЭВ-12П2081Е - инструкция пользователя по применению, эксплуатации и установке на русском языке. Мы надеемся, она поможет вам решить возникшие у вас вопросы при эксплуатации техники.
Если остались вопросы, задайте их в комментариях после инструкции.
"Загружаем инструкцию", означает, что нужно подождать пока файл загрузится и можно будет его читать онлайн. Некоторые инструкции очень большие и время их появления зависит от вашей скорости интернета.

20
Руководство по эксплуатации и монтажу. Технический паспорт
УПРАВЛЕНИЕ
Lo
H2
H1
Me
Hi
L
N
бе
лый
серый
синий
чёрный
жёлт
о-з
елёный
коричневый
красный*
ПУЛЬТ
HL10
2
Кабель 7*0,5 мм
Кабель управления
(
Master
)
Кабель управления
(
Slave
)
Кабель управления
(
Slave
)
*Красный провод изолировать
для ведомых завес
P
Ведущая
Ведомая
Ведомая
Завеса
Завеса
Завеса
Lo
H2
H1
Me
Hi
L
N
Монтажная
коробка
(1)
(1)
(2)
(2)
(3)
(3)
(4)
(4)
(5)
(5)
(6)
(6)
(7)
(7)
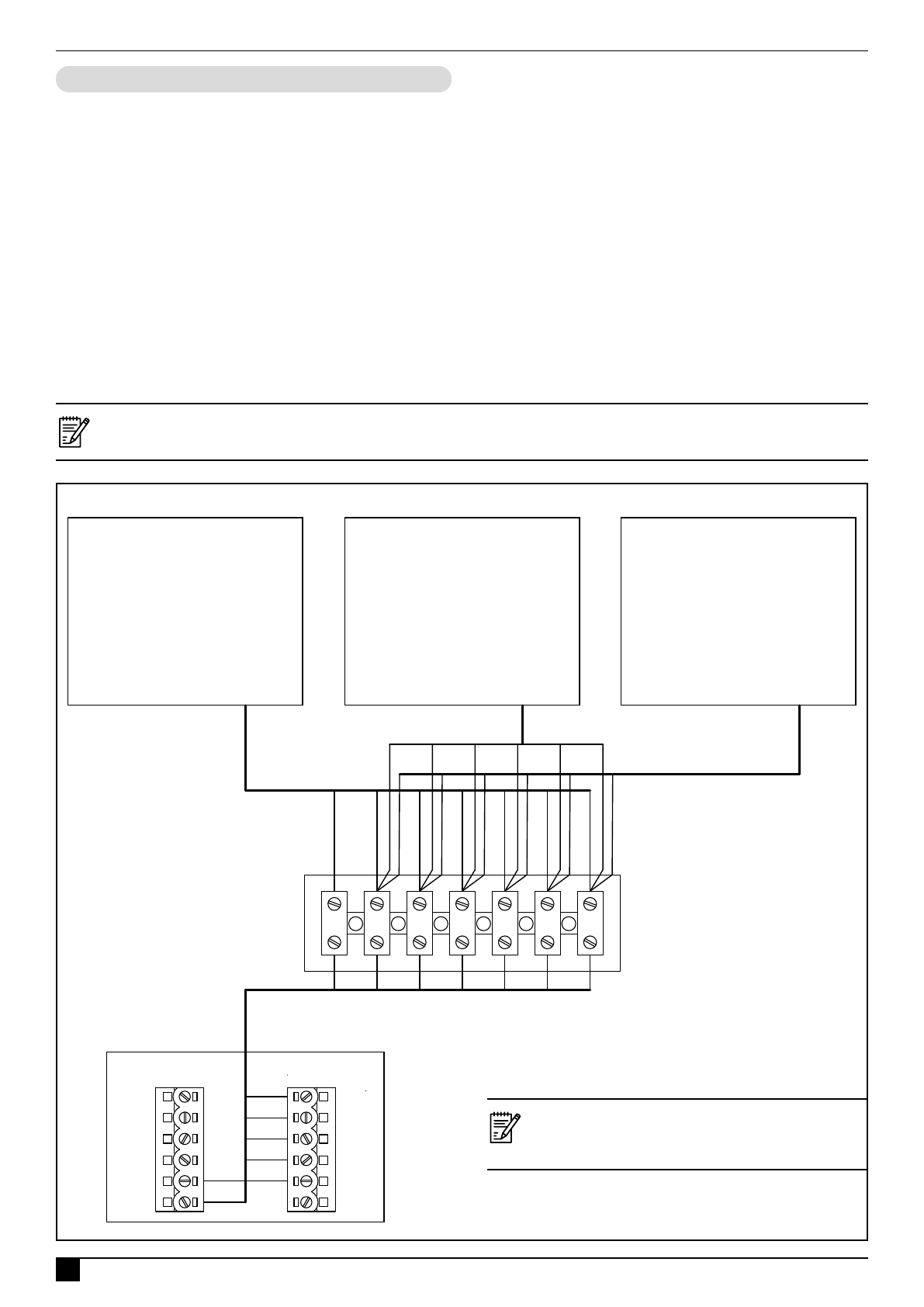
Схема подключения группы завес
ТМ310158
Допускается не использовать монтажную
коробку, в случае подключения двух
завес к одному пульту.
Управлять группой завес (синхронно с одной точки) возможно одним пультом HL10. Максимальное количество
подключаемых завес к одному пульту указано в таблице технических характеристик.
В группе должны быть
завесы одной модели, объединение разных моделей не допускается!
Для подключения группы завес к пульту необходимо:
• от кабеля управления каждой завесы отсоединить пульты HL10;
• свободные концы семижильных кабелей управления соединить параллельно,
используя монтажную коробку. Управляющая фаза L подключается к пульту
только от ведущей завесы, для ведомых завес красный провод следует
изолировать (см. схему подключения ниже).
• выбрать любой из отсоединённых пультов HL10 и подключить его к группе,
используя монтажную коробку. Подключать необходимо в строгом соответствии
с цветовой маркировкой проводов (см. схему подключения ниже).
• в случае соединения двух завес допускается не использовать монтажную
коробку, а подключить напрямую к колодке пульта HL10.
В случае отсутствия или недостаточной длины кабеля управления, рекомендуется использовать
кабель 7*0,5 мм
2
с медными многопроволочными жилами.
Управление группой
Содержание
- 2 многолетний опыт и профессионализм при изготовлении продукции.; Поздравляем Вас с приобретением; Внешний вид изделий или отдельных компонентов может отличаться; Филиал АО «НПО» Тепломаш» в Москве
- 3 Содержание
- 4 ОПАСНО; МЕРЫ БЕЗОПАСНОСТИ
- 5 за советом и информацией.; ВНИМАНИЕ; в технических характеристиках.; Не устанавливайте завесу в следующих местах:; г внутри рефрижератора или другого холодильного оборудования; ПРЕДУПРЕЖДЕНИЕ; Места для установки
- 6 Срок службы завесы составляет не менее 5 лет; Шум и вибрация
- 7 Маркировка воздушно-тепловых завес; МАРКИРОВКА И ЗНАКИ; Серийный номер
- 8 Знаки нанесенные на изделие:; Предупреждающие знаки
- 9 Обязательный комплект поставки; КОМПЛЕКТНОСТЬ
- 10 ТЕХНИЧЕСКИЕ ХАРАКТЕРИСТИКИ
- 12 Функциональные возможности:; НАЗНАЧЕНИЕ И УСТРОЙСТВО; Назначение и функции
- 13 не снабжены самовозвратным механизмом.; аварийный термовыключатель; Аварийное отключение нагревателей
- 14 Принудительное включение вентилятора
- 15 Проводной пульт HL10 с электронным термостатом; находится внутри упаковочной коробки.; Пульт HL10 с электронным термостатом; УПРАВЛЕНИЕ; Пульт дистанционного управления
- 16 Панель дисплея; Room; Установка скорости вентилятора:; Управление завесой
- 17 Установка заданной температуры:; При нажатии кнопок на пульте
- 18 Установка/снятие защиты от низких температур:; Установка параметров пульта
- 19 Выбор единицы измерения температуры С; Коды ошибок пульта; Режим энергосбережения:; скорость вращения вентилятора вернётся в прежнее положение.
- 20 ПУЛЬТ; *Красный провод изолировать; Lo; Схема подключения группы завес; с медными многопроволочными жилами.; Управление группой
- 21 Подключение концевого выключателя; • Контакты КВ замкнуты; продувки ТЭНов для удаления остаточного тепла.; КВ; Ведущая; Монтажная коробка; Схема подключения концевого выключателя
- 22 Чтобы подключить ПКП к завесе или к их группе необходимо:; Подключение ПКП охранно-пожарной сигнализации; ПКП
- 23 поставлено за отдельную плату по желанию заказчика.; Наименование оборудования может; Опционное оборудование
- 24 Модель; МОНТАЖ, ПОДКЛЮЧЕНИЕ И ОБСЛУЖИВАНИЕ ЗАВЕСЫ; МОНТАЖ; Габаритные и установочные размеры
- 25 max W; Основные этапы монтажа:; Подвешивание к потолку
- 26 Монтаж на шпильки, закрепленные в корпус завесы.
- 27 ПОДКЛЮЧЕНИЕ К ЭЛЕКТРОСЕТИ; Защитные устройства
- 28 Основные этапы подключения:; Монтажный люк завесы; Ведущая завеса; Ведомая завеса; Схема подключения к электросети
- 29 • удалить две перемычки с клеммной колодки завесы
- 30 Перед включением выполнить следующие проверки:; завесу на 20 минут в хорошо проветриваемом помещении.; Транспортные повреждения:; Проверка безопасности; ВВОД В ЭКСПЛУАТАЦИЮ; Пробный пуск; ТРАНСПОРТИРОВКА
- 31 Перечень работ по техническому обслуживанию:; отключение нагревателей».; УХОД И ТЕХНИЧЕСКОЕ ОБСЛУЖИВАНИЕ; Периодичность технического обслуживания
- 32 Проблема; Устранение неисправностей
- 33 Страна происхождения товара: Российская Федерация; СВЕДЕНИЯ О СЕРТИФИКАЦИИ; AC; ALLIANCE CERTIFICATION; национальная
- 34 Для заметок
- 36 Печатное издание доступно в электронном формате PDF.












