Телевизоры LED KIVI 43U740LB - инструкция пользователя по применению, эксплуатации и установке на русском языке. Мы надеемся, она поможет вам решить возникшие у вас вопросы при эксплуатации техники.
Если остались вопросы, задайте их в комментариях после инструкции.
"Загружаем инструкцию", означает, что нужно подождать пока файл загрузится и можно будет его читать онлайн. Некоторые инструкции очень большие и время их появления зависит от вашей скорости интернета.

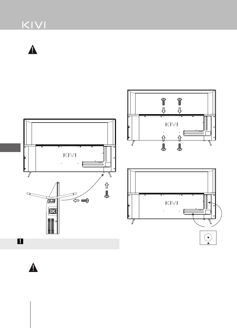
Установка ТВ на підставку
Рекомендовано проводити монтаж під-
ставки двома людьми.
Виберіть рівну, плоску поверхню, на якій
Ви будете виробляти монтаж.
Щоб уберегти дисплей і корпус від пошкоджень,
постеліть на поверхню чисту тканину або вико-
ристовуйте пакувальний конверт, що йде в ком-
плекті з телевізором. Покладіть ТВ на дисплей,
тримаючи його так, щоб центр тяжіння не був на
кутах і сторонах. Вийміть з упаковки з аксесуа-
рами 4 кріпильних гвинта і зафіксуйте ними під-
ставку, відповідно зазначених на них символах
(L - ліва, R - права). Вказівки нанесені відносно
фронтального виду ТВ.
Щоб уникнути пошкоджень надійно закріпіть ТВ на
стіні відповідно до вимог інструкції по установці.
Щоб уберегти дисплей і корпус від пошкоджень,
постеліть на поверхню чисту тканину або вико-
ристовуйте пакувальний конверт, що йде в ком-
плекті з телевізором.
Покладіть ТВ на дисплей, тримаючи його так,
щоб центр тяжіння не був на кутах і сторонах.
Проведіть монтаж елементів кронштейну за
допомогою чотирьох гвинтів, що збігаються по
ширині з отворами в ТВ. Для вибору кронштей-
на, керуйтеся параметрами VESA, зазначеними
в даній інструкції.
Рекомендовано проводити монтаж ТВ на
кронштейн двома людьми або кваліфіко-
ваним фахівцем.
Телевізор не комплектується гвинтами для уста-
новки пристрою на кронштейн. Виберіть рівну,
плоску поверхню, на якій Ви будете виконувати
монтаж.
Установка ТВ на кронштейн
Підключення антени до телевізора
Примітка:
Виробник, імпортер, постачальник не несе
відповідальності за пошкодження складових
ТВ в наслідок подачі високої напруги через
порт антени.
Параметри VESA дивіться в таблиці на 40 стор.
Вхідний опір: 75 Ω Для стабільного прийому цифрових
телеканалів рекомендуємо використовувати зовнішню
антенну з підпислювачем (коефіцієнт підсилення 30 Дб
і більше).
або
Установка
41
UA
Характеристики
Остались вопросы?Не нашли свой ответ в руководстве или возникли другие проблемы? Задайте свой вопрос в форме ниже с подробным описанием вашей ситуации, чтобы другие люди и специалисты смогли дать на него ответ. Если вы знаете как решить проблему другого человека, пожалуйста, подскажите ему :)