Телевизоры кинескопные Sony KV-34FQ75K - инструкция пользователя по применению, эксплуатации и установке на русском языке. Мы надеемся, она поможет вам решить возникшие у вас вопросы при эксплуатации техники.
Если остались вопросы, задайте их в комментариях после инструкции.
"Загружаем инструкцию", означает, что нужно подождать пока файл загрузится и можно будет его читать онлайн. Некоторые инструкции очень большие и время их появления зависит от вашей скорости интернета.

16
Posługiwanie się systemem menu telewizora
:
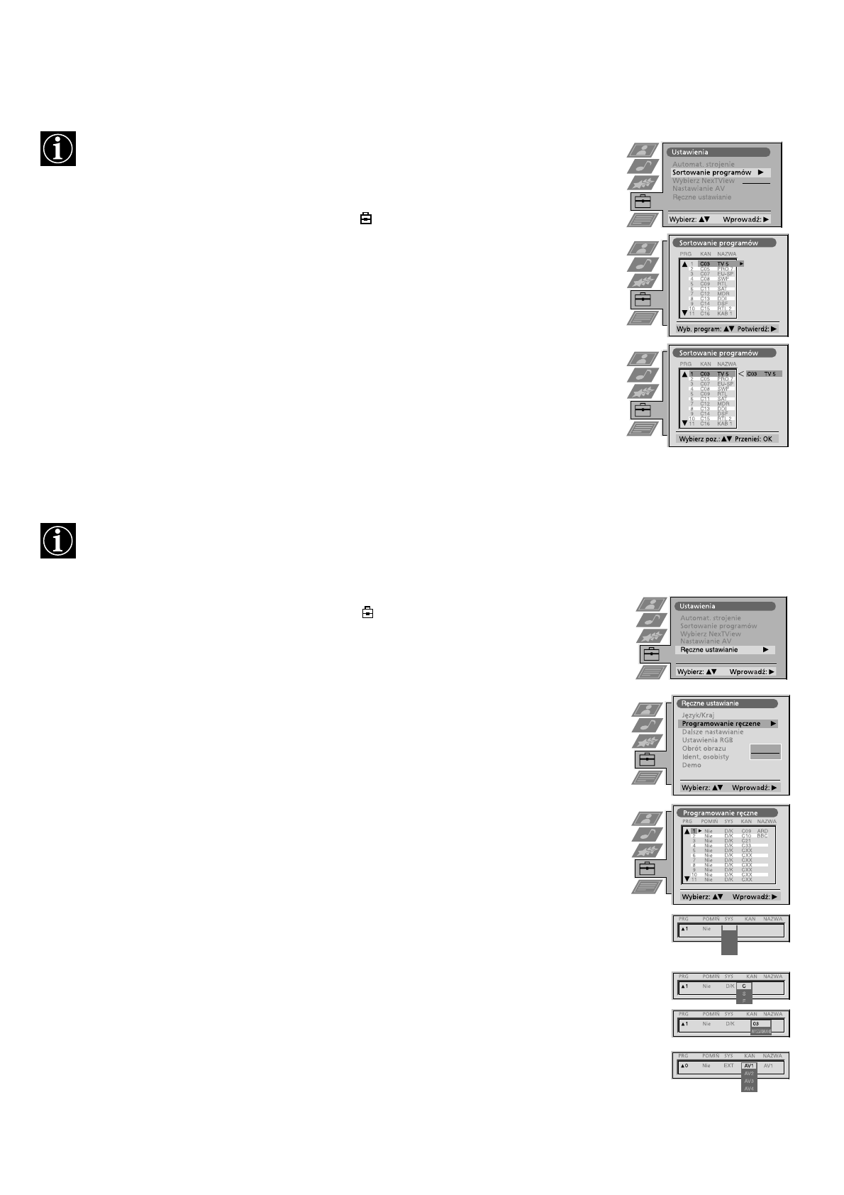
Zamiana pozycji programów
Po dokonaniu strojenia telewizora, dzięki tej funkcji można zmienić kolejność
zapamiętanych kanałów.
1.Przyciśnij przycisk MENU na pilocie, aby wyświetlić menu na ekranie telewizora.
2.
Naciskaj przycisk
V
, aby wybrać z menu symbol i przyciśnij
B
, aby wejść do menu
"Ustawienia".
3.
Naciśnij
V
,
aby wybrać "Sortowanie programów", następnie
B
, aby wejść do menu
"Sortowanie programów".
4.
Naciskaj przycisk
v
lub
V
, aby wybrać kanał, który chcesz przenieść pod inny numer i
naciśnij
B
, aby potwierdzić.
5.
Naciśnij
v
lub
V
, aby wybrać nową pozycję (np. PROG 4) dla wybranego programu i
naciśnij OK, aby zatwierdzić. Wybrany program zostanie przemieszczony do nowej
pozycji, a pozycje pozostałych programów odpowiednio się zmienią.
6.Powtarzaj czynności 4 oraz 5, jeżeli zamierzasz posortować dalsze kanały.
7.Naciśnij przycisk MENU, aby usunąć menu z ekranu telewizora.
- - - - -
Ręczne programowanie telewizora
Po wykonaniu czynności opisanych na początku instrukcji telewizor jest już automatycznie zaprogramowany.
Można jednak wykonać tę operację ręcznie, aby dodać kanał.
1.Przyciśnij przycisk MENU na pilocie, aby wyświetlić menu na ekranie telewizora.
2.Naciśnij przycisk
V
, aby wybrać z menu symbol i przyciśnij
B
, aby wejść do menu
"Ustawienia".
3.
Naciśnij
V
, aby wybrać "Ręczne ustawianie", a następnie naciśnij
B
, aby wejść do
menu"Ręczne ustawianie".
4.
Naciśnij
V
,
aby wybrać "Programowanie ręczne", a następnie naciśnij
B
, aby wejść do
menu "Programowanie ręczne".
5.
Naciśnij przyciski
v
lub
V
, aby wybrać numer programu dla kanału (np. PROGR 1 dla
TVP1), a następnie naciśnij
B
, aby podświetlić kolumnę "POMIŃ".
6.
Naciśnij
v
, aby wybrać "Nie", a następnie
B
, aby podświetlić kolumnę "SYS".
7.
Naciśnij
v
lub
V
, aby wybrać system nadawczy (B/G dla Europy Zachodnie, D/K dla
Europy Wschodniej) lub "ZEW" (EXT) dla wejścia wideo (AV1, AV2, ...), a następnie
naciśńij
B
, aby zatwierdzić.
8.
Naciskaj przycisk
v
lub
V
, aby wybrać "C" dla kanałów nadawanych normalnie, "S" dla
kanałów nadawanych w sieci kablowej, lub "F" dla wejść bezpośredniej częstotliwości,
następnie naciśnij
B
, aby potwierdzić.
9.
Wybierz pierwszą cyfrę z numeru kanału ("KAN"), następnie drugą cyfrę numeru kanału,
korzystając z przycisków numerycznych pilota
lub naciśnij
v
lub
V
, aby rozpocząć przeszukiwanie do następnego dostępnego kanału.
10.
Jeżeli nie zamierzasz przypisać tego kanału do pamięci o wybranym numerze, naciśnij
v
lub
V
, aby kontynuować przeszukiwanie, aż do żądanego kanału.
11.Jeżeli znajdziesz kanał, którzy chcesz zapisać, naciśnij przycisk OK.
12.Powtarzaj czynności 5-9, jeżeli chcesz zaprogramować więcej programów, następnie naciśnij
przycisk MENU, aby usunąć menu z ekranu telewizora.
B/G
D/K
IRL
EXT
O
- - - - - - -












