Телевизоры кинескопные Sony KV-32LS60K - инструкция пользователя по применению, эксплуатации и установке на русском языке. Мы надеемся, она поможет вам решить возникшие у вас вопросы при эксплуатации техники.
Если остались вопросы, задайте их в комментариях после инструкции.
"Загружаем инструкцию", означает, что нужно подождать пока файл загрузится и можно будет его читать онлайн. Некоторые инструкции очень большие и время их появления зависит от вашей скорости интернета.

16
Система от менюта на екрана
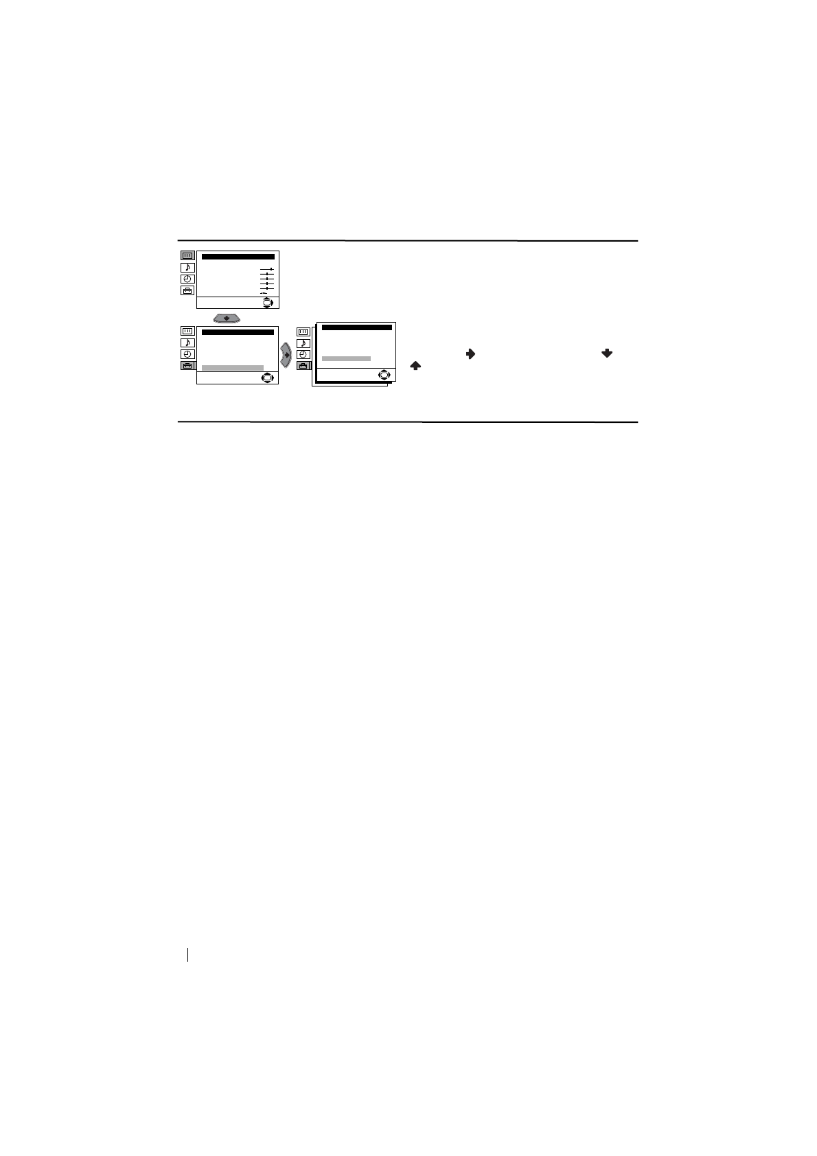
ВЪРТЕНЕ НА КАРТИНАТА
Възможно е, вследствие на земния
магнетизъм, образа да се появи наклонен. В
този случай настройването се извършва
избирайки «Въртене на Карт.» в менюто
«
èoÀpoÄÌa ÌaäaÎÌa ÌacÚp.
».
За целта: след като изберете тази опция,
натиснете
. След което натиснете
или
за да настроите наклона на образа
между -5 и +5.
Ниво
1
Ниво
2
Ниво 3 / Функция
HacÚpoÈÍa Ìa KapÚËÌaÚa
PeÊËÏ: ãËäeÌ
KoÌÚpacÚ
üpÍocÚ
ñÇeÚÌocÚ
OcÚpoÚa
ToÌaÎÌocÚ
HyÎËpaÌe
OK
OK
Инcтaлиpaнe
Eзик/Дъpжaвa
Aвтoм. Зaxвaщaнe
Пoдpeждaнe нa Пpoгpaми
HaÑÔËcÇaÌe Ìa ÔpoÖpaÏË
ÂaÔaÏeÚeÌË AV ÌacÚpoÈÍË
Пpoгpaмa Pъчeн Избop
èoÀpoÄÌa ÌaäaÎÌa ÌacÚp
OK
èoÀpoÄÌa ÌaäaÎÌa ÌacÚp
Aвтмат. фopмат
Пoтиcкaнe нa Шyмa
:
AV3 ËÁxoÑ
:
TeÎeÇ. ÖoÇopËÚeÎ
:
RGB Цeнтъp
:
Bъpтeнe нa Kapт.
:
BkÎ
Auto
TV
BkÎ
0
0
Содержание
- 105 Назначение кнопок на пульте дистанционного управления; Общее описание
- 106 Подключение антенны и видеомагнитофона; Общее описание - Установка; выключение; выключение; видеомагнитофон; Провода для подключения не входят в комплект поставки.
- 107 Включение и автоматическая настройка телевизора; Первое включение телевизора в работу
- 109 Введение и работа с системой меню; Вывод системы меню на экран; Схема меню; Уровень; Резкость; можно изменить только в том случае, если Вы; Цветовой Тон; можно изменять только в системе цвета NTSC (например, видеопленки; Сброс; и нажмите на
- 110 Dolby
- 111 ТАЙМЕР ВЫКЛЮЧЕНИЯ; После этого нажмите; АВТОНАСТРОЙКА; продолжeниe
- 113 РУЧНАЯ НАСТРОЙКА ПРОГРАММ; Программа
- 114 ШУMOПОНИЖЕНИЕ; ÀeÚaÎëÌaÓ ycÚaÌoÇÍa; Auto; Если в дальнейшем Вы хотите отменить эту
- 116 ПОBОPОT ИЗОБРАЖЕНИЯ
- 117 В этом случае введите другой номер страницы.; Фастекст
- 118 Подключение дополнительных устройств; Подключение видеомагнитофона:; Дополнительная информация
- 119 Подключение внeшнeй звyкoвocпpoизвoдящeй aппapaтypы:; ìcÚaÌoÇÍa; Вы также можете получить звуковой эффект; Использование
- 120 Cписок марок видеомагнитофонов; Марка Код
- 121 Спецификации; Otæezataho b Ncæahnn
- 122 Выявление неисправностей; нарушений качества изображения и звука.; Неисправность












