Телевизоры кинескопные Sony KV-32LS60K - инструкция пользователя по применению, эксплуатации и установке на русском языке. Мы надеемся, она поможет вам решить возникшие у вас вопросы при эксплуатации техники.
Если остались вопросы, задайте их в комментариях после инструкции.
"Загружаем инструкцию", означает, что нужно подождать пока файл загрузится и можно будет его читать онлайн. Некоторые инструкции очень большие и время их появления зависит от вашей скорости интернета.

14
Menu System
continued...
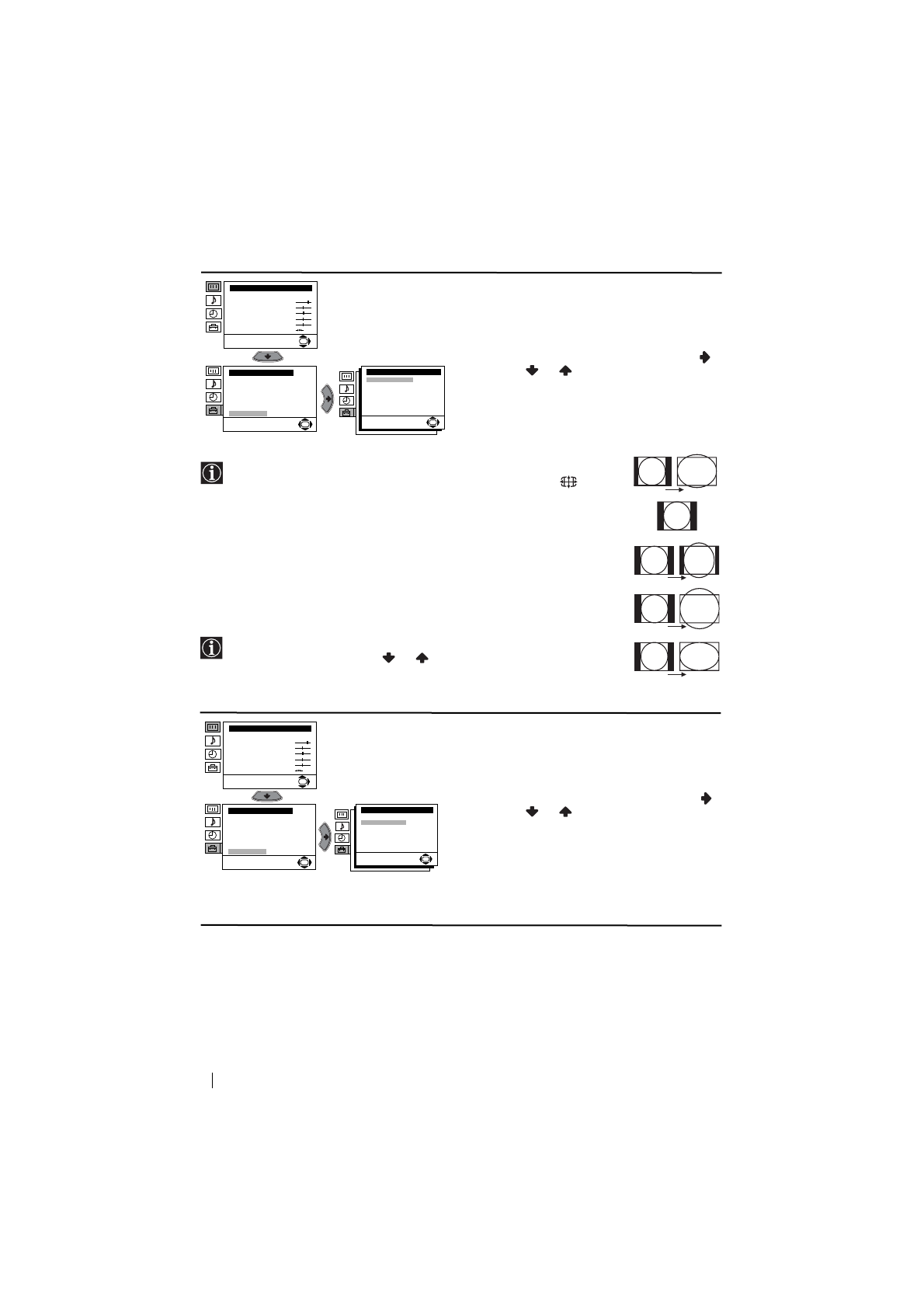
AUTO FORMAT
The “Auto Format” option in the “Detail Set
Up” menu allows you to automatically change
the aspect ratio of the screen.
To do this: after selecting the option, press
.
Then press
or
to select
On
(if you wish
the TV set to automatically switch the screen
format according to the broadcast signal) or
Off
(if you wish to keep your preference). Finally
press
OK
to store.
Even if you have selected “On” or “Off” in the “Auto Format” option,
you can always modify the format of the screen by pressing
repeatedly on the remote control to select one of the following formats:
Smart:
Imitation of wide screen effect for 4:3 broadcast.
4:3:
Conventional 4:3 picture size, full picture information.
14:9:
Compromise between 4:3 and 16:9 picture size.
Zoom:
Widescreen format for letterbox movies.
Wide:
For 16:9 broadcast. Full picture information
In “Smart”, “Zoom” and “14:9” modes, parts of the top and bottom of
the screen are cut off. Press
or
to adjust the position of the
image on the screen (e.g. to read subtitles).
NOISE REDUCTION
The “Noise Reduction” option in the “Detail Set
Up” menu allows you to automatically reduce
the picture noise visible in the broadcast signal.
To do this: after selecting the option, press
.
Then press
or
to select
Auto
. Finally
press
OK
to confirm and store.
To cancel this function afterwards, select “Off”
instead of “Auto” in the step above.
Level 1
Level 2
Level 3 / Function
Picture Adjustment
Mode: Personal
Contrast
Brightness
Colour
Sharpness
Hue
Reset
OK
Set Up
Language/Country
Auto Tuning
Programme Sorting
Progamme Labels
AV Preset
Manual Programme Preset
Detail Set Up
OK
Detail Set Up
Auto Format:
Noise Reduction:
AV3 Output:
TV Speakers:
RGB Centring:
Picture Rotation:
On
Auto
TV
On
0
0
OK
4:3
Zoom
14:9
Wide
Smart
Picture Adjustment
Mode: Personal
Contrast
Brightness
Colour
Sharpness
Hue
Reset
OK
Set Up
Language/Country
Auto Tuning
Programme Sorting
Progamme Labels
AV Preset
Manual Programme Preset
Detail Set Up
OK
Detail Set Up
Auto Format:
Noise Reduction:
AV3 Output:
TV Speakers:
RGB Centring:
Picture Rotation:
On
Auto
TV
On
0
0
OK
Содержание
- 105 Назначение кнопок на пульте дистанционного управления; Общее описание
- 106 Подключение антенны и видеомагнитофона; Общее описание - Установка; выключение; выключение; видеомагнитофон; Провода для подключения не входят в комплект поставки.
- 107 Включение и автоматическая настройка телевизора; Первое включение телевизора в работу
- 109 Введение и работа с системой меню; Вывод системы меню на экран; Схема меню; Уровень; Резкость; можно изменить только в том случае, если Вы; Цветовой Тон; можно изменять только в системе цвета NTSC (например, видеопленки; Сброс; и нажмите на
- 110 Dolby
- 111 ТАЙМЕР ВЫКЛЮЧЕНИЯ; После этого нажмите; АВТОНАСТРОЙКА; продолжeниe
- 113 РУЧНАЯ НАСТРОЙКА ПРОГРАММ; Программа
- 114 ШУMOПОНИЖЕНИЕ; ÀeÚaÎëÌaÓ ycÚaÌoÇÍa; Auto; Если в дальнейшем Вы хотите отменить эту
- 116 ПОBОPОT ИЗОБРАЖЕНИЯ
- 117 В этом случае введите другой номер страницы.; Фастекст
- 118 Подключение дополнительных устройств; Подключение видеомагнитофона:; Дополнительная информация
- 119 Подключение внeшнeй звyкoвocпpoизвoдящeй aппapaтypы:; ìcÚaÌoÇÍa; Вы также можете получить звуковой эффект; Использование
- 120 Cписок марок видеомагнитофонов; Марка Код
- 121 Спецификации; Otæezataho b Ncæahnn
- 122 Выявление неисправностей; нарушений качества изображения и звука.; Неисправность












