Телевизоры кинескопные Sony KV-32LS60K - инструкция пользователя по применению, эксплуатации и установке на русском языке. Мы надеемся, она поможет вам решить возникшие у вас вопросы при эксплуатации техники.
Если остались вопросы, задайте их в комментариях после инструкции.
"Загружаем инструкцию", означает, что нужно подождать пока файл загрузится и можно будет его читать онлайн. Некоторые инструкции очень большие и время их появления зависит от вашей скорости интернета.

11
GB
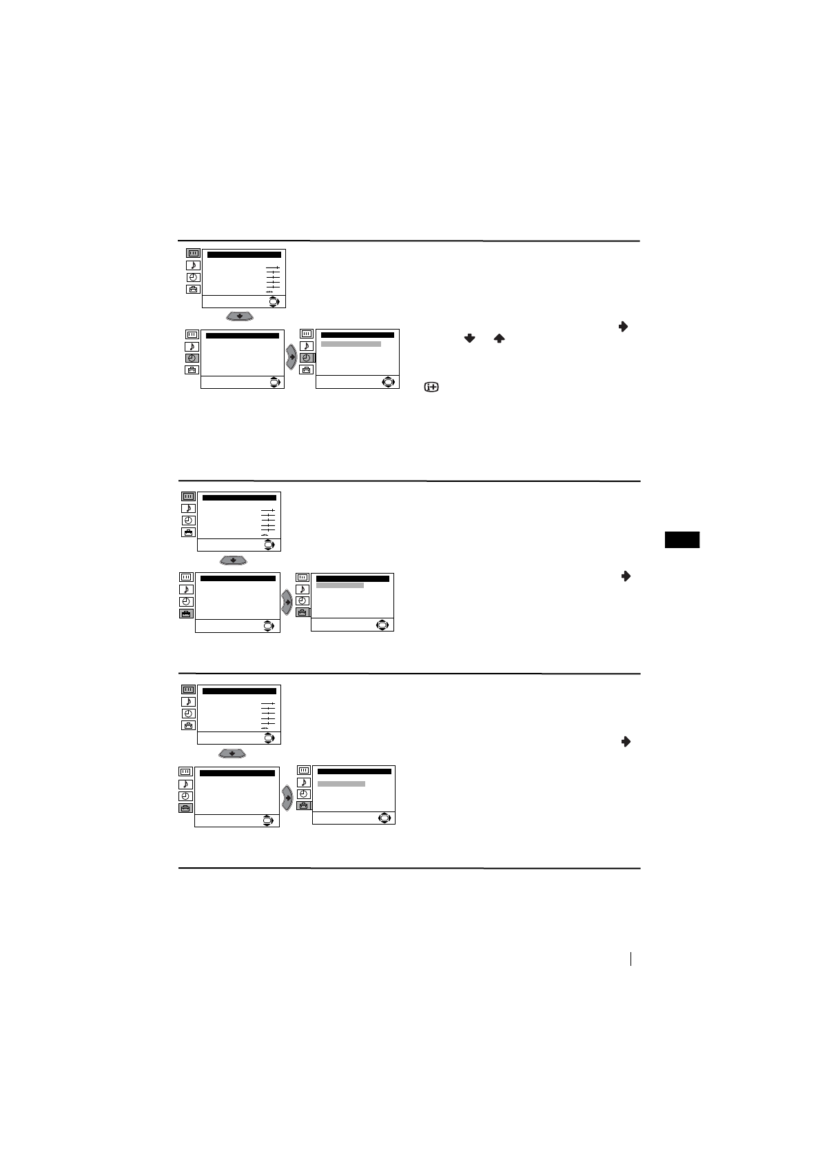
Menu System
SLEEP TIMER
The “Sleep Timer” option in the “Timer” menu
allows you to select a time period for the TV to
switch itself automatically into the standby
mode.
To do this: after selecting the option press
,
then press
or
to set the time period delay
(max. of 4 hours).
•
While watching the TV, you can press the
button on the remote control to display the
time remaining.
•
One minute before the TV switches itself into
standby mode, the time remaining is displayed on
the TV screen automatically.
LANGUAGE / COUNTRY
The “Language/Country” option in the “Set
Up” menu allows you to select the language
that the menus are displayed in. It also allows
you to select the country in which you wish to
operate the TV set.
To do this: after selecting the option, press
and then proceed in the same way as in the
steps 2 and 3 of the section “Switching On the
TV and Automatically Tuning” on page 7.
AUTO TUNING
The “Auto Tuning” option in the “Set Up”
menu allows you to automatically search for
and store all available TV channels.
To do this: after selecting the option, press
and then proceed in the same way as in the
steps 5 and 6 of the section “Switching On the
TV and Automatically Tuning” on page 8.
Level 1
Level 2
Level 3 / Function
Picture Adjustment
Mode: Personal
Contrast
Brightness
Colour
Sharpness
Hue
Reset
OK
Timer
Sleep Timer: Off
OK
Timer
Sleep Timer: Off
OK
continued...
Picture Adjustment
Mode: Personal
Contrast
Brightness
Colour
Sharpness
Hue
Reset
OK
Set Up
Language/Country
Auto Tuning
Programme Sorting
Progamme Labels
AV Preset
Manual Programme Preset
Detail Set Up
OK
Set Up
Language/Country
Auto Tuning
Programme Sorting
Progamme Labels
AV Preset
Manual Programme Preset
Detail Set Up
OK
Picture Adjustment
Mode: Personal
Contrast
Brightness
Colour
Sharpness
Hue
Reset
OK
Set Up
Language/Country
Auto Tuning
Programme Sorting
Progamme Labels
AV Preset
Manual Programme Preset
Detail Set Up
OK
Set Up
Language/Country
Auto Tuning
Programme Sorting
Progamme Labels
AV Preset
Manual Programme Preset
Detail Set Up
OK
Содержание
- 105 Назначение кнопок на пульте дистанционного управления; Общее описание
- 106 Подключение антенны и видеомагнитофона; Общее описание - Установка; выключение; выключение; видеомагнитофон; Провода для подключения не входят в комплект поставки.
- 107 Включение и автоматическая настройка телевизора; Первое включение телевизора в работу
- 109 Введение и работа с системой меню; Вывод системы меню на экран; Схема меню; Уровень; Резкость; можно изменить только в том случае, если Вы; Цветовой Тон; можно изменять только в системе цвета NTSC (например, видеопленки; Сброс; и нажмите на
- 110 Dolby
- 111 ТАЙМЕР ВЫКЛЮЧЕНИЯ; После этого нажмите; АВТОНАСТРОЙКА; продолжeниe
- 113 РУЧНАЯ НАСТРОЙКА ПРОГРАММ; Программа
- 114 ШУMOПОНИЖЕНИЕ; ÀeÚaÎëÌaÓ ycÚaÌoÇÍa; Auto; Если в дальнейшем Вы хотите отменить эту
- 116 ПОBОPОT ИЗОБРАЖЕНИЯ
- 117 В этом случае введите другой номер страницы.; Фастекст
- 118 Подключение дополнительных устройств; Подключение видеомагнитофона:; Дополнительная информация
- 119 Подключение внeшнeй звyкoвocпpoизвoдящeй aппapaтypы:; ìcÚaÌoÇÍa; Вы также можете получить звуковой эффект; Использование
- 120 Cписок марок видеомагнитофонов; Марка Код
- 121 Спецификации; Otæezataho b Ncæahnn
- 122 Выявление неисправностей; нарушений качества изображения и звука.; Неисправность












