Сварочное оборудование Сварог PRO TIG 300 P (W232) - инструкция пользователя по применению, эксплуатации и установке на русском языке. Мы надеемся, она поможет вам решить возникшие у вас вопросы при эксплуатации техники.
Если остались вопросы, задайте их в комментариях после инструкции.
"Загружаем инструкцию", означает, что нужно подождать пока файл загрузится и можно будет его читать онлайн. Некоторые инструкции очень большие и время их появления зависит от вашей скорости интернета.

54
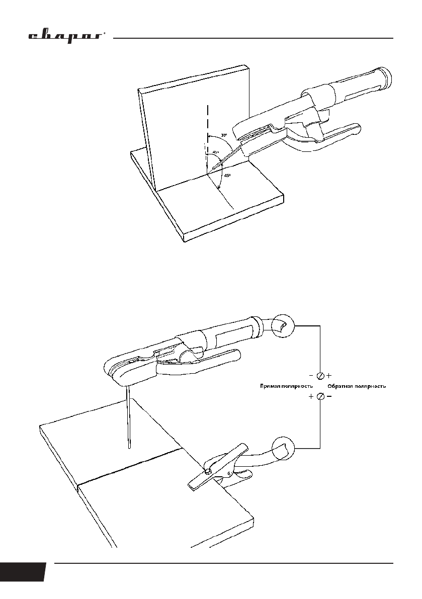
Углы наклона электрода
при сварке углового
соединения.
Рис. 11.5. Угол наклона электрода.
11.2. СМЕНА ПОЛЯРНОСТИ
Существует два способа подключения сварочного оборудования для работы на постоян-
ном токе (См. рис 11.6).
Рис.11.6. Способы подключения.
Содержание
- 4 Памятка перед началом работы для ММА сварки
- 5 пользованием оборудования.; ОБРАТИТЬ ВНИМАНИЕ! Особенности, требующие повышенного внимания; в соответствии с принципами безопасности и надежности.; ДЕКЛАРАЦИЯ СООТВЕТСТВИЯ; ТР ТС 010/2011 «О безопасности машин и оборудования».
- 7 необходимого качества.; Параметры для TIG сварки:
- 8 подзарядки батарей или аккумуляторов, запуска двигателей.; МЕРЫ БЕЗОПАСНОСТИ ПРИ ПРОВЕДЕНИИ СВАРОЧНЫХ РАБОТ
- 9 МЕРЫ БЕЗОПАСНОСТИ ПРИ РАБОТЕ С ГАЗОВЫМИ БАЛЛОНАМИ
- 11 ВНИМАНИЕ! Несмотря на защиту корпуса аппарата от попадания влаги,
- 12 ТЕХНИЧЕСКИЕ ХАРАКТЕРИСТИКИ
- 13 На рисунке 6.1 показан вид аппарата спереди и сзади.
- 14 ОПИСАНИЕ ФУНКЦИОНИРОВАНИЯ; На рисунке 7.1 показана передняя панель источника питания.
- 18 Описание
- 21 рекомендуется использовать при длине сварочных швов
- 22 основного тока сварки.
- 27 ем не входят в стандартную комплектацию.
- 31 ДЛЯ TIG СВАРКИ
- 32 ОБЩИЕ РЕКОМЕНДАЦИИ ДЛЯ TIG СВАРКИ
- 34 РАСХОДНЫЕ МАТЕРИАЛЫ ДЛЯ СВАРОЧНЫХ ГОРЕЛОК; чения шва необходимого качества.; В таблице представлены наиболее часто используемые позиции
- 37 мм
- 39 СПОСОБЫ ПОДЖИГА ДУГИ ПРИ TIG LIFT СВАРКЕ; касанием
- 41 ОСОБЕННОСТИ ПОЗИЦИОНИРОВАНИЯ СВАРОЧНОЙ ГОРЕЛКИ; При аргонодуговой сварке также следует не забывать про противо-
- 44 Сварка в импульсном режиме может быть как на переменном, так и на; зоны термического влияния на нержавеющей пластине толщиной 1 мм.
- 46 Данные рекомендации носят ознакомительный характер.; ЭЛЕКТРОДА И РЕЖИМОВ СВАРКИ; составу основного металла.
- 48 ПОДГОТОВКА АППАРАТА К РАБОТЕ ПРИ ММА СВАРКЕ; Электрододержатель не входит в стандартную комплектацию.
- 49 ПАМЯТКА ПЕРЕД НАЧАЛОМ РАБОТЫ ДЛЯ ММА СВАРКИ
- 50 ОБЩИЕ РЕКОМЕНДАЦИИ ДЛЯ ММА СВАРКИ; • касанием электрода впритык и отведением его вверх
- 53 дуги вплоть до частых кратковременных замыканий.
- 55 дована обратная полярность.; При сварке на постоянном токе также следует учитывать эффект; электромагнитного; электрододержателя и обратный кабель.; белей с целью уменьшения падения напряжения на кабелях.; пользования кабелей 3 – 5 метровой длины.
- 57 ВЫБОР ПОКРЫТОГО ЭЛЕКТРОДА И РЕЖИМОВ СВАРКИ; ла при сварке в нижнем положении показана в таблице 11.2.
- 59 Подготовка
- 68 ТЕХНИЧЕСКОЕ ОБСЛУЖИВАНИЕ; техническому обслуживанию.; Периодичность; Общие рекомендации
- 69 УСТРАНЕНИЕ НЕПОЛАДОК; ВНИМАНИЕ! Ремонт данного сварочного оборудования в случае его; Неисправность
- 70 Для TIG
- 71 Для MMA
- 74 правилами перевозок, действующими на каждом виде транспорта.; ВНИМАНИЕ! Перед использованием изделия ВНИМАТЕЛЬНО изучите
Характеристики
Остались вопросы?Не нашли свой ответ в руководстве или возникли другие проблемы? Задайте свой вопрос в форме ниже с подробным описанием вашей ситуации, чтобы другие люди и специалисты смогли дать на него ответ. Если вы знаете как решить проблему другого человека, пожалуйста, подскажите ему :)