Сварочное оборудование Ресанта САИПА-350 - инструкция пользователя по применению, эксплуатации и установке на русском языке. Мы надеемся, она поможет вам решить возникшие у вас вопросы при эксплуатации техники.
Если остались вопросы, задайте их в комментариях после инструкции.
"Загружаем инструкцию", означает, что нужно подождать пока файл загрузится и можно будет его читать онлайн. Некоторые инструкции очень большие и время их появления зависит от вашей скорости интернета.

Ред. 1
15
5.2
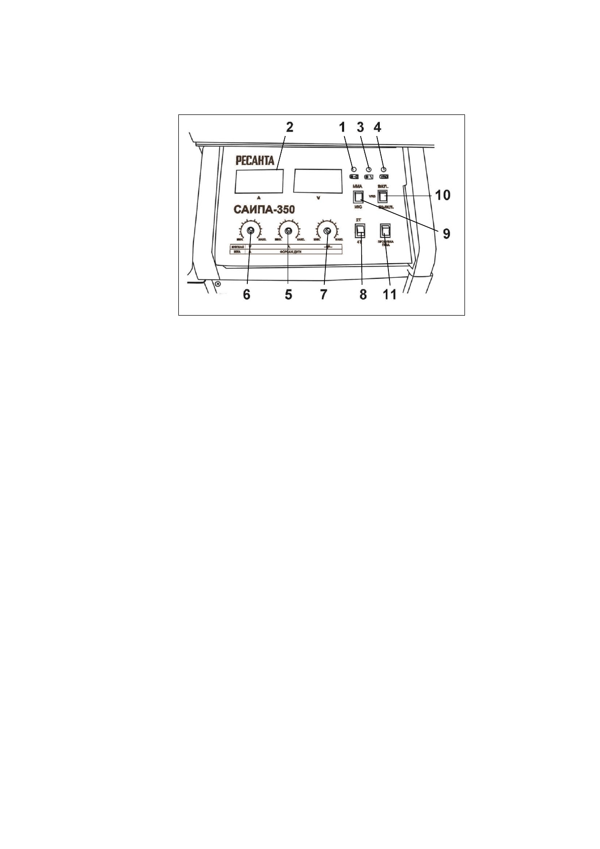
Панель управления источника сварочного тока
На рисунке представлен внешний вид передней панели
управления
источника
сварочного
тока
с
указанием
всех
функциональных элементов.
Рис. 2. Панель управления источника сварочного тока
1.
Индикатор сети – отображает подключение к питающей сети.
2.
Индикатор сварочного тока – цифровой дисплей, на котором
отображается значение сварочного тока при настройке параметров и
во время сварки.
3.
Индикатор перегрева – отображает перегрев оборудования,
срабатывает при превышении допустимой температуры сварочного
аппарата, при этом срабатывает защита от перегрева, и аппарат
отключается. После охлаждения аппарат переходит в рабочий режим.
4.
Индикатор VRD –
снижение напряжения холостого хода до
безопасного уровня. Это обеспечивает безопасность оператора,
который может без всякого риска дотрагиваться до электрода, когда
сварка не производится.
5.
Регулятор тока – регулятор величины сварочного тока и подачи
сварочной проволоки для (режимы MIG/MAG)/ форсаж дуги (режим
ММА).
6.
Регулятор напряжения дуги для режима MIG/MAG (данная
регулировка только для режима MIG/MAG / величина сварочного тока
(режим ММА).
7.
Регулятор индуктивности (динамики дуги) – регулирует степень
жесткости дуги при MIG/FCAW сварки.
8.
Переключатель режимов 2Т/4Т – кнопка переключения режимов
работы горелки:
8.1
двухтактный (короткий шов) и четырехтактный (длинный шов).
8.2
режим 2Т – при нажатии кнопки сварочной горелки дуга
зажигается, а при ее отпускании – гаснет.
Содержание
- 4 СОДЕРЖАНИЕ
- 7 ПРАВИЛА БЕЗОПАСНОСТИ; Прочтите перед началом использования устройства; ИНСТРУКЦИИ ПО ЭЛЕКТРОМАГНИТНОЙ СОВМЕСТИМОСТИ
- 9 ПОЖАРО – ВЗРЫВОБЕЗОПАСНОСТЬ; держать огнетушитель рядом с; ЗАЩИТА ОРГАНОВ ДЫХАНИЯ
- 12 регулировка индуктивности; функция регулирования
- 13 Газовая трубка 4м + ключ к ней+ 2 зажима
- 15 Панель управления источника сварочного тока; Рис. 2. Панель управления источника сварочного тока; снижение напряжения холостого хода до
- 16 Внешний вид подающего устройства
- 18 Рис. 5. Вид сбоку при открытой крышке корпуса подающего устройства; ОСНОВНЫЕ ПОНЯТИЯ ФУНКЦИЙ АППАРАТА И ИХ
- 19 Расход защитного газа; определяют, в основном, в зависимости от; Наклон электрода вдоль шва; оказывает большое влияние на; Род тока и полярность.; Сварку в защитном газе выполняют
- 20 ТЕХНИЧЕСКИЕ ХАРАКТЕРИСТИКИ; Таблица 2. Технические характеристики
- 22 Сборка и установка аппарата; Рис. 7. Установка фидера на сварочный аппарат
- 23 Подключение к сети
- 25 Детализация подключения:; Кабелем управления соедините разъемы 7-pin на подающем; Рис. 11. Подключение кабеля управления на подающем устройстве и на; Подключите кабель клеммы заземления в зависимости от
- 26 Рис.14. Подключение трубок для циркуляции воды
- 27 Убедитесь в отсутствии замыкания сварочных кабелей.
- 32 .1 Обслуживание сварочной горелки; Рис 18. Общий вид горелки; Замена сопла
- 33 Замена наконечника; Рекомендуется менять наконечник вместе с заменой катушки; Замена проволокопровода; Проволокопровод меняется по мере износа. Основной признак
- 34 Горелка с открученным наконечником; Замена подающего ролика
- 35 ВОЗМОЖНЫЕ
- 36 ТРАНСПОРТИРОВАНИЕ, ХРАНЕНИЕ И УТИЛИЗАЦИЯ; Устройство можно транспортировать любым видом закрытого
- 39 ГАРАНТИЙНЫЙ ТАЛОН; признан годным для эксплуатации.
- 40 СЕРВИСНЫЕ ЦЕНТРЫ
- 41 Полный актуальный список сервисных центров Вы так же можете
Характеристики
Остались вопросы?Не нашли свой ответ в руководстве или возникли другие проблемы? Задайте свой вопрос в форме ниже с подробным описанием вашей ситуации, чтобы другие люди и специалисты смогли дать на него ответ. Если вы знаете как решить проблему другого человека, пожалуйста, подскажите ему :)