Шлифмашины Makita DGA504RTJ - инструкция пользователя по применению, эксплуатации и установке на русском языке. Мы надеемся, она поможет вам решить возникшие у вас вопросы при эксплуатации техники.
Если остались вопросы, задайте их в комментариях после инструкции.
"Загружаем инструкцию", означает, что нужно подождать пока файл загрузится и можно будет его читать онлайн. Некоторые инструкции очень большие и время их появления зависит от вашей скорости интернета.

71
Acção do interruptor
PRECAUÇÃO:
• Antes de instalar a bateria na ferramenta, verifique
sempre se o interruptor deslizante está a funcionar
correctamente e se volta à posição “OFF” (desligada)
quando é premida a parte de trás do interruptor
deslizante.
• O interruptor pode ser bloqueado na posição “ON”
(ligada) para um maior conforto do operador durante
uma utilização prolongada. Tenha cuidado quando
bloquear a ferramenta na posição “ON” (ligada) e
segure bem a ferramenta.
Para ligar a ferramenta, deslize o interruptor para a
posição “I” (ligada) premindo a parte traseira do
interruptor deslizante. Para uma utilização contínua,
prima a parte da frente do interruptor deslizante para o
bloquear.
Para desligar a ferramenta, prima a parte de trás do
interruptor deslizante, depois mova-o para a posição “O”
(desligada).
(Fig. 2)
Função preventiva de arranque acidental
Mesmo que a bateria esteja colocada na ferramenta com
o interruptor deslizante na posição “I” (ligada), a
ferramenta não liga.
Para ligar a ferramenta, primeiro mova o interruptor
deslizante para a posição “O” (desligada) e, depois, para
a posição “I” (ligada).
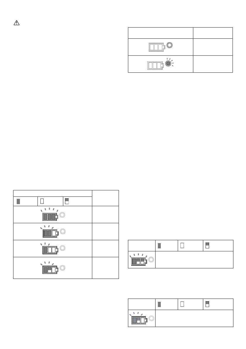
Indicar a carga restante da bateria (Fig. 3)
Quando liga a ferramenta, o indicador da bateria mostra a
carga restante da bateria.
A carga restante da bateria é mostrada na tabela
seguinte.
015096
Função de mudança automática da
velocidade (Fig. 4)
015098
Esta ferramenta possui “modo de alta velocidade” e
“modo de alta potência”. Muda automaticamente o modo
de funcionamento dependendo da carga de trabalho.
Quando o indicador de modo acende durante o
funcionamento, a ferramenta está no modo de alta
potência.
Sistema de protecção da ferramenta/
bateria
A ferramenta está equipada com um sistema de
protecção da ferramenta/bateria. Este sistema corta
automaticamente a alimentação para prolongar a vida útil
da ferramenta e bateria.
A ferramenta pára automaticamente durante o
funcionamento quando a ferramenta ou bateria são
colocadas numa das condições seguintes. Em algumas
condições, o indicador acende.
Protecção contra sobrecarga
Quando a ferramenta é utilizada de uma forma que faz
com que consuma uma corrente invulgarmente alta, a
ferramenta pára automaticamente sem quaisquer
indicações. Nesta situação, desligue a ferramenta e pare
a aplicação que causou a sobrecarga. De seguida, ligue a
ferramenta para reiniciar.
Protecção contra sobreaquecimento para a
ferramenta
Quando a ferramenta está sobreaquecida, a ferramenta
pára automaticamente e o indicador da bateria apresenta
o estado seguinte. Nesta situação, deixe a ferramenta
arrefecer antes de voltar a ligá-la.
015140
Libertar o bloqueio de protecção
Quando o sistema de protecção funciona repetidamente,
a ferramenta é bloqueada e o indicador da bateria
apresenta o estado seguinte.
015200
Estado do indicador da bateria
Carga
restante da
bateria
: Acesso
: Apagado
: Intermitente
50% - 100%
20% - 50%
0% - 20%
Carregue a
bateria
Estado do indicador de modo
Modo de
funcionamento
Modo de alta
velocidade
Modo de alta
potência
Indicador da
bateria
: Acesso
: Apagado
: Intermitente
A ferramenta está sobreaquecida
Indicador da
bateria
: Acesso
: Apagado
: Intermitente
Bloqueio de protecção activado
Характеристики
Остались вопросы?Не нашли свой ответ в руководстве или возникли другие проблемы? Задайте свой вопрос в форме ниже с подробным описанием вашей ситуации, чтобы другие люди и специалисты смогли дать на него ответ. Если вы знаете как решить проблему другого человека, пожалуйста, подскажите ему :)












