Шлифмашины Bosch GWS 2200 (06018C1320) - инструкция пользователя по применению, эксплуатации и установке на русском языке. Мы надеемся, она поможет вам решить возникшие у вас вопросы при эксплуатации техники.
Если остались вопросы, задайте их в комментариях после инструкции.
"Загружаем инструкцию", означает, что нужно подождать пока файл загрузится и можно будет его читать онлайн. Некоторые инструкции очень большие и время их появления зависит от вашей скорости интернета.

Русский |
159
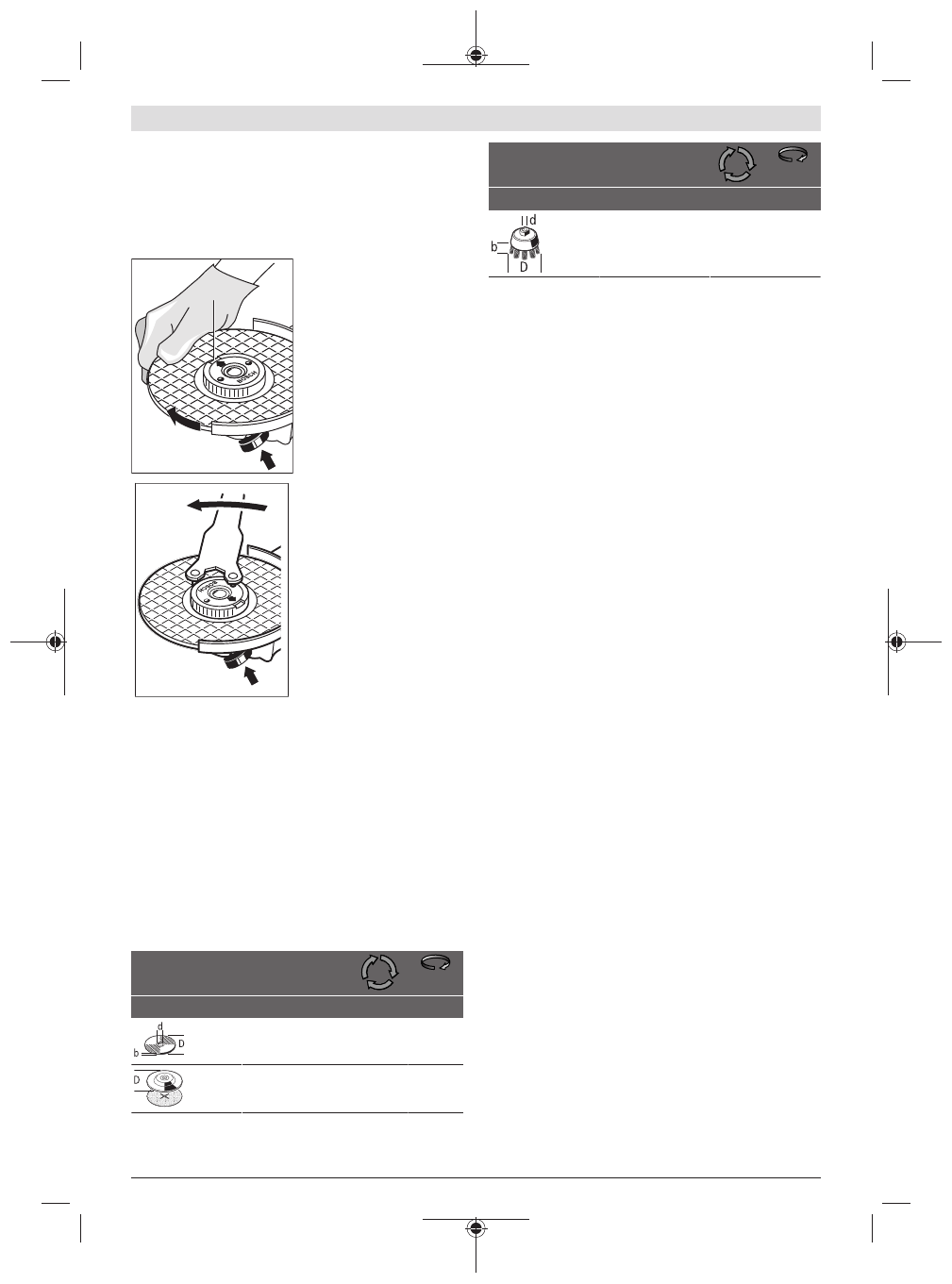
Используйте только исправную, неповрежденную бы-
строзажимную гайку
(11).
При навинчивании следите за тем, чтобы сторона
гайки с надписью
(11)
не была обращена к шлифо-
вальному кругу; стрелка должна показывать на ин-
дексную метку (24)
.
(24)
Для фиксирования шли-
фовального шпинделя на-
жмите кнопку фиксирова-
ния шпинделя
(1)
. Чтобы
затянуть быстрозажимную
гайку, поверните шлифо-
вальный круг с усилием
по часовой стрелке.
Должным образом затяну-
тую, исправную быстроза-
жимную гайку можно
открутить поворотом
кольца с накаткой от руки
против часовой стрелки.
Никогда не применяйте
для откручивания закли-
нившей быстрозажим-
ной гайки клещи, обяза-
тельно используйте рож-
ковый ключ под два от-
верстия.
Накладывайте
рожковый ключ под два
отверстия, как показано на рисунке.
Допустимая шлифовальная оснастка
К применению допускаются все виды шлифовальной
оснастки, указанные в настоящем руководстве по эксплу-
атации.
Допустимое число оборотов [мин
-1
] или окружная ско-
рость [м/с] применяемой шлифовальной оснастки долж-
ны по крайней мере соответствовать данным из следую-
щей таблицы.
Соблюдайте допустимое
число оборотов или окружную
скорость
, указанные на этикетке шлифовальной
оснастки.
макс. [мм]
[мм]
D
b
d
[мин
-1
]
[м/с]
180
230
8
8
22,2
22,2
8500
6500
80
80
180
230
–
–
–
–
8500
6500
80
80
макс. [мм]
[мм]
D
b
d
[мин
-1
]
[м/с]
100
30
M 14
8500
45
Удаление пыли и стружки
Пыль некоторых материалов, как напр., красок с со-
держанием свинца, некоторых сортов древесины, мине-
ралов и металлов, может быть вредной для здоровья.
Прикосновение к пыли и попадание пыли в дыхательные
пути может вызвать аллергические реакции и/или забо-
левания дыхательных путей оператора или находящегося
вблизи персонала.
Определенные виды пыли, напр., дуба и бука, считаются
канцерогенными, особенно совместно с присадками для
обработки древесины (хромат, средство для защиты дре-
весины). Материал с содержанием асбеста разрешается
обрабатывать только специалистам.
– По возможности используйте пригодую для материала
систему пылеудаления.
– Хорошо проветривайте рабочее место.
– Рекомендуется пользоваться респираторной маской с
фильтром класса Р2.
Соблюдайте действующие в Вашей стране предписания
для обрабатываемых материалов.
u
Избегайте скопления пыли на рабочем месте.
Пыль
может легко воспламеняться.
Работа с инструментом
Включение электроинструмента
u
Примите во внимание напряжение в сети! Напряже-
ние источника питания должно соответствовать
данным на заводской табличке электроинструмен-
та. Электроинструменты на 230 В могут работать
также и при напряжении 220 В.
u
Держите инструмент только за изолированные руч-
ки и дополнительную рукоятку. Рабочий инстру-
мент может зацепить спрятанную электропроводку
или собственный шнур питания.
Контакт с провод-
кой под напряжением может привести к попаданию
под напряжение металлических частей электроинстру-
мента и к поражению электротоком.
При питании электроинструмента от передвижных элек-
трогенераторов, которые не обладают достаточным запа-
сом мощности или не оснащены соответствующим регу-
лятором напряжения с усилением пускового тока, при
включении возможно падение мощности или необычное
поведение электроинструмента.
Пожалуйста, проверьте пригодность используемого Ва-
ми генератора, особенно в отношении напряжения и ча-
стоты сети.
Bosch Power Tools
1 609 92A 5LC | (30.04.2020)
Характеристики
Остались вопросы?Не нашли свой ответ в руководстве или возникли другие проблемы? Задайте свой вопрос в форме ниже с подробным описанием вашей ситуации, чтобы другие люди и специалисты смогли дать на него ответ. Если вы знаете как решить проблему другого человека, пожалуйста, подскажите ему :)












