Плита Electrolux EKK 954507 W (X) - инструкция пользователя по применению, эксплуатации и установке на русском языке. Мы надеемся, она поможет вам решить возникшие у вас вопросы при эксплуатации техники.
Если остались вопросы, задайте их в комментариях после инструкции.
"Загружаем инструкцию", означает, что нужно подождать пока файл загрузится и можно будет его читать онлайн. Некоторые инструкции очень большие и время их появления зависит от вашей скорости интернета.

80-85
mm
317-322
mm
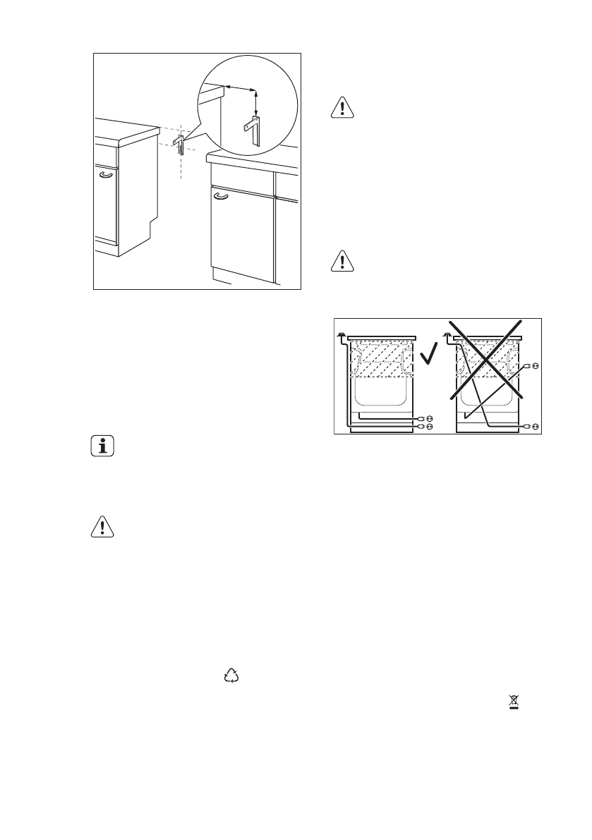
2. Отверстие для крепления
находится слева на задней
стороне прибора. Поднимите
переднюю часть прибора и
поместите его между кухонными
шкафами. Если расстояние между
кухонными шкафами больше, чем
ширина прибора, следует
установить его так, чтобы зазоры с
обеих сторон были одинаковыми.
При изменении положения
кухонной плиты
необходимо надлежащим
образом отрегулировать
защиту от опрокидывания.
ОСТОРОЖНО!
Если расстояние между
кухонными шкафами
больше, чем ширина
прибора, следует
установить его так, чтобы
зазоры с обеих сторон
были одинаковыми.
14.16 Электрическое
подключение
ВНИМАНИЕ!
Производитель не несет
ответственности, при
несоблюдении мер
предосторожности,
приведенных в Главах,
содержащих Сведения по
технике безопасности.
Данный прибор поставляется с
сетевым шнуром и вилкой.
ВНИМАНИЕ!
Сетевой шнур не должен
касаться частей прибора,
показанных на рисунке.
15. ОХРАНА ОКРУЖАЮЩЕЙ СРЕДЫ
Материалы с символом следует
сдавать на переработку. Положите
упаковку в соответствующие
контейнеры для сбора вторичного
сырья. Принимая участие в
переработке старого электробытового
оборудования, Вы помогаете
защитить окружающую среду и
здоровье человека. Не выбрасывайте
вместе с бытовыми отходами бытовую
технику, помеченную символом .
Доставьте изделие на местное
предприятие по переработке
вторичного сырья или обратитесь в
свое муниципальное управление.
www.electrolux.com
76
Содержание
- 39 возможностями
- 40 Общие правила техники безопасности
- 41 УКАЗАНИЯ ПО БЕЗОПАСНОСТИ; электросети
- 42 Подключение к газовой; магистрали
- 44 Внутреннее освещение
- 45 Функциональные элементы варочной панели; ПЕРЕД ПЕРВЫМ ИСПОЛЬЗОВАНИЕМ
- 46 отверстия для выхода пара
- 47 ИСПОЛЬЗОВАНИЕ; Розжиг горелки варочной; панели
- 48 Общий вид горелки; Выключение горелки; ВАРОЧНАЯ ПАНЕЛЬ – УКАЗАНИЯ И; РЕКОМЕНДАЦИИ; Экономия электроэнергии
- 49 Периодический уход
- 50 Включение и выключение; прибора; Предохранительный; термостат; Режимы духового шкафа
- 53 ДУХОВОЙ ШКАФ – ПРИНАДЛЕЖНОСТИ; дополнительных; ДУХОВОЙ ШКАФ – УКАЗАНИЯ И
- 54 Общая информация; выпечных блюд; Приготовление мяса и; рыбы
- 55 Время приготовления
- 57 Режим конвекции
- 64 Диетическое приготовление
- 65 относительно очистки
- 66 Модели из нержавеющей; стали или алюминия; Снятие и установка; стеклянных панелей духового
- 67 Извлечение ящика; Задняя лампа; ПОИСК И УСТРАНЕНИЕ НЕИСПРАВНОСТЕЙ
- 69 обращения в сервис-центр
- 70 Место для установки; Технические данные; Другие технические данные
- 71 Диаметры обводных клапанов; Газовые горелки для ПРИРОДНОГО ГАЗА G20 13 мбар; Газовые горелки для сжиженного газа G30 30 мбар
- 73 различные типы газа
- 75 опрокидывания
- 76 подключение; ОХРАНА ОКРУЖАЮЩЕЙ СРЕДЫ












