Плита Electrolux EKK 511509 X - инструкция пользователя по применению, эксплуатации и установке на русском языке. Мы надеемся, она поможет вам решить возникшие у вас вопросы при эксплуатации техники.
Если остались вопросы, задайте их в комментариях после инструкции.
"Загружаем инструкцию", означает, что нужно подождать пока файл загрузится и можно будет его читать онлайн. Некоторые инструкции очень большие и время их появления зависит от вашей скорости интернета.

Установка: используйте трубодержа‐
тель. Всегда устанавливайте проклад‐
ку. Затем приступите к подключению к
линии подачи газа. Гибкая подводка мо‐
жет использоваться, только если:
– ее температура не будет превышать
комнатную более, чем на 30°C;
– ее длина не превышает 1500 мм;
– она не имеет сужений;
– она не натянута и не перекручена;
– она не касается острых кромок или
углов;
– ее можно легко осмотреть, чтобы про‐
верить ее состояние.
Контроль сохранности гибкого шланга
включает в себя следующую проверку:
– отсутствие трещин, порезов, следов
горения, как на концах, так и по всей
его длине:
– материал шланга не стал жестким, а
сохранил свою нормальную эластич‐
ность;
– на хомутах крепления отсутствует
ржавчина;
– срок годности шланга не истек.
В случае обнаружения одного или не‐
скольких дефектов не ремонтируйте
шланг, а замените его.
ВАЖНО! После завершения установки
убедитесь, что трубные соединения
абсолютно герметичны. Используйте
для проверки мыльный раствор.
Запрещается использовать пламя!
Линия подачи газа находится на задней
стороне панели управления.
ВНИМАНИЕ! Перед подключением
газа необходимо отключить вилку
шнура питания от розетки питания,
либо отключить предохранитель,
расположенный в блоке
предохранителей. Закройте
основной вентиль линии подачи
газа.
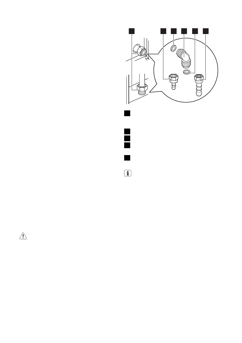
1
4
2
3
2
5
1
Точка подключения линии подачи га‐
за (допускается только одна точка
подключения газа для устройства)
2
Прокладка
3
Регулируемое соединение
4
Трубодержатель для сжиженного га‐
за
5
Трубодержатель для природного га‐
за
Устройство отрегулировано на пода‐
чу газа, используемого по умолча‐
нию. Чтобы изменить настройки, вы‐
берите трубодержатель из списка.
Всегда используйте уплотняющую
прокладку
Замена форсунок
1. Снимите решетки конфорок.
2. Снимите с горелок крышки и рассека‐
тели пламени.
3. С помощью торцевого ключа на 7
мм демонтируйте форсунки и заме‐
ните их на те, которые соответ‐
ствуют используемому типу газа.
4. Установите детали на место, выпол‐
нив вышеприведенную последова‐
тельность действий в обратном по‐
рядке.
5. Замените табличку с параметрами
газоснабжения (находится рядом с
трубой системы газоснабжения) на
табличку, соответствующую новому
типу используемого газа. Эта таблич‐
ка находится в пакете с форсунками,
поставляемом в комплекте с плитой.
electrolux
21












