Плита Electrolux EKI 54500 OX - инструкция пользователя по применению, эксплуатации и установке на русском языке. Мы надеемся, она поможет вам решить возникшие у вас вопросы при эксплуатации техники.
Если остались вопросы, задайте их в комментариях после инструкции.
"Загружаем инструкцию", означает, что нужно подождать пока файл загрузится и можно будет его читать онлайн. Некоторые инструкции очень большие и время их появления зависит от вашей скорости интернета.

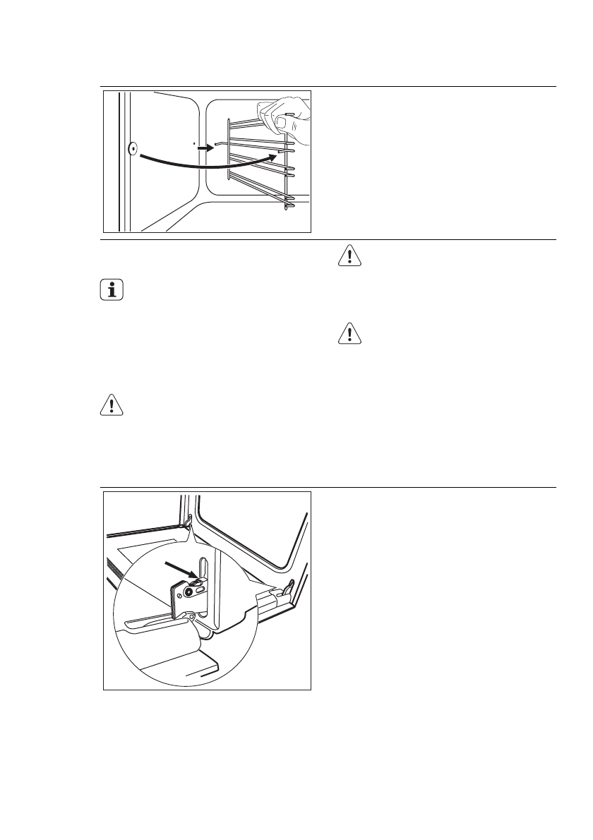
12.1 Demontaż prowadnic blach
2
1
Prowadnice blach można wymontować, aby wy‐
czyścić ścianki boczne.
1.
Odciągnąć przednią część prowadnic blach
od bocznej ścianki.
2.
Odciągnąć tylną część prowadnic blach od
bocznej ścianki i wyjąć je.
Zamontować prowadnice blach w odwrotnej ko‐
lejności.
Zaokrąglone końce prowadnic blach
muszą być skierowane do przodu.
12.2 Czyszczenie drzwi piekarnika
Drzwi piekarnika mają dwie szyby zamontowane
jedna za drugą. Należy wymontować drzwi pie‐
karnika, aby ułatwić ich czyszczenie.
OSTRZEŻENIE!
Przy wyjmowaniu wewnętrznej szyby z
zamontowanych drzwi może dojść do
nagłego zamknięcia drzwi.
OSTRZEŻENIE!
Przed przystąpieniem do czyszczenia
szyb w drzwiach należy upewnić się, że
szyby są zimne. Występuje zagrożenie
pęknięcia szyby.
OSTRZEŻENIE!
Uszkodzenia lub zarysowania na szy‐
bach drzwi powodują osłabienie szkła
grożące jego pęknięciem. Aby tego
uniknąć, konieczna jest ich wymiana.
Więcej informacji na ten temat można
uzyskać w miejscowym punkcie serwi‐
sowym.
Demontaż drzwi i szyby piekarnika
1.
Otworzyć całkowicie drzwi i chwycić za oba
zawiasy.
26 www.electrolux.com
Содержание
- 32 ПОДДЕРЖКА ПОТРЕБИТЕЛЕЙ И СЕРВИСНОЕ ОБСЛУЖИВАНИЕ
- 34 УКАЗАНИЯ ПО БЕЗОПАСНОСТИ
- 35 Подключение к электросети
- 37 Внутреннее освещение
- 38 ПЕРЕД ПЕРВЫМ ИСПОЛЬЗОВАНИЕМ; Предварительная чистка
- 39 Предварительный нагрев; ВАРОЧНАЯ ПАНЕЛЬ - ЕЖЕДНЕВНОЕ ИСПОЛЬЗОВАНИЕ; Установки уровня нагрева
- 42 ДУХОВОЙ ШКАФ - ЕЖЕДНЕВНОЕ ИСПОЛЬЗОВАНИЕ; Включение и выключение
- 43 Вентилятор охлаждения; Режимы духового шкафа
- 44 Электронный программатор; Установка функций часов
- 46 Телескопические направляющие
- 50 Режим принудительной конвекции
- 53 Режим конвекции
- 57 Информация об акриламидах
- 63 Электрическое подключение; ОХРАНА ОКРУЖАЮЩЕЙ СРЕДЫ












